"корпоративное управление эффективностью финансово-промышленных групп (на примере фпг, созданных в текстильной отрасли)"
| Вид материала | Диссертация |
Содержание3.2. Планирование производственного цикла и построение ТТЦ Построение текстильной технологической цепочки |
- Финансово-промышленные группы в рыночной экономике, 1074.65kb.
- Предметом данной работы является изучение особенностей существования Финансово промышленных, 909.42kb.
- Курс лекций по дисциплине «корпоративное управление» тема введение в курс «корпоративное, 1120.77kb.
- Корпоративное управление как фактор повышения качества управления организацией 08., 335.45kb.
- Программа учебной дисциплины «Корпоративное управление» цикла специальных дисциплин, 159.49kb.
- Акционерное право России и зарубежных стран Семинар 6: Управление акционерным обществом., 30.55kb.
- Влияние групп интересов на формирование стратегии развития города федерального значения, 339.7kb.
- Примерная тематика курсовых и контрольных работ по курсу «теория корпоративного управления», 24.46kb.
- Управление развитием интеграционных образований (на примере слияний и поглощений промышленных, 677.33kb.
- Принципы и методы управления финансами территориальных генерирующих компаний в составе, 432.02kb.
3.2. Планирование производственного цикла и построение ТТЦ
Планирование производственного цикла в рамках ФПГ "Консорциум Русский текстиль"
Первым шагом этапа планирования является составление последовательности технологических операций. На этом шаге весь цикл производства делится на строгую последовательность действий, которые будут распределены между участниками ТТЦ. Для производства хлопчатобумажных халатов необходимо произвести следующие технологические операции (рис. 3.4).

Рис. 3.4 Технологический цикл производства халатов
Следующим шагом планирования в рамках этого этапа является отбор участников ТТЦ. Чтобы отбор был эффективен, первоначально необходимо проанализировать общее финансовое состояние и уровень производственных возможностей каждого потенциального участника ТТЦ. Для их определения рассчитываются показатели, приведенные во второй главе. Это даст возможность составить предварительное мнение о каждом кандидате на участие в технологической цепочки.
Таблица 3.6
Предварительный анализ кандидатов
| | Предприятие | |
| | АООТ "Собитекс" | ЗАО "Камышинская хлопкопрядильная фабрика", |
| Выручка от реализации | 22 491 191 | 20 618 612 |
| Постоянные активы | 150 970 577 | 203 947 680 |
| Затраты на управление | 1 124 559 | 1 443 302 |
| Фондоотдача | 0,15 | 0,10 |
| Оборачиваемость активов | 0,125 | 0,088 |
| Период оборота в днях | 718,8 | 1018,9 |
| Коэффициент управления | 20 | 14,3 |
Предварительный анализ показал, что более подходящим кандидатом может быть АООТ "Собитекс", так как рассчитанные показатели его финансового состояния являются более оптимальными.
После предварительной оценки состояния каждого предприятия-участника текстильной технологической цепочки переходят к непосредственному отбору предприятий. Критерием отбора является показатель корпоративного участия, значение которого может быть рассчитано по формуле:
.В качестве исходных для расчета используются данные финансовой отчетности предприятия: бухгалтерского баланса (форма №1) и отчета о финансовых результатах (форма №2). В частности используются следующие показатели:
1. Выучка от реализации без НДС и акцизов (строка 010 ф.№2);
2. Затраты в незавершенном производстве (строка 214 ф.№1);
3. Доля постоянных затрат в общих затратах;
4. Заемные средства (сумма V и VI разделов ф.№1)
5. Дорогостоящие заемные средства (строка 611 + 1/2 суммы строк: 590, 612, 622, 623, 626, 628, 670).
Показатель корпоративного участия целесообразно применять только для сопоставления и отбора предприятий одной отрасли, иначе результаты оценки не будут отражать суть проблемы.
Рассмотрим применение описанного показателя на примере отбора предприятий-кандидатов в участники технологической цепочки по производству хлопчатобумажных халатов. Этот процесс рассмотрим на примере отбора предприятий, которые должны участвовать на двух этапах технологического цикла:
1. Изготовление волокна.
2. Получение хлопчатобумажных тканей.
В качестве кандидатов на участие в технологической цепочки на первом этап рассматриваются АООТ "Собитекс" и ЗАО "Камышинская хлопкопрядильная фабрика", не входящая в ФПГ "Консорциум Русский текстиль", но изъявившая желание участвовать в производственном процессе.
На право участия в производственном процессе на втором этапе претендуют АООТ "Парижская коммуна", ТОО "Заря" и АОЗТ "Ивановская ткацкая фабрика". Последние два кандидата также не входят в структуру исследуемой ФПГ, но при проведение предварительных переговоров изъявили желание принять участие в производстве. Руководству ФПГ необходимо уделить внимание закрытой организационной структуре некоторых потенциальных участников ТТЦ, поскольку они не являются участниками ФПГ.
Результаты отбора по первому этапу приведены в таблицах 3.6 и 3.7, а по второму – в таблицах 3.8 и 3.9.
Таблица 3.7
Отбор предприятий-участников первого этапа
| | Предприятие | |
| | АООТ "Собитекс" | ЗАО "Камышинская хлопкопрядильная фабрика", |
| Выручка от реализации | 22 491 191 | 20 618 612 |
| Незавершенное производство | 134 500 | 163 303 |
| Доля постоянных затрат в общих затратах | 26% | 35% |
| Дорогостоящие заемные средства | 29 744 456 | 35 225 037 |
| Заемные средства | 67 411 609 | 87 263 923 |
| Критерий отбора (КУ) | 238 | 168 |
Очевидно, что из предприятий-кандидатов в участники технологической цепочки по производству хлопчатобумажных халатов на первом этапе следует выбрать АООТ "Собитекс", так как по результатам анализа оно имеет более высокий показатель корпоративного участия.
Таблица 3.8
Предварительный анализ кандидатов
| | Предприятие | ||
| | АООТ "Парижская коммуна" | ТОО "Заря" | АОЗТ "Ивановская ткацкая фабрика" |
| Выручка от реализации | 7 000 794 | 8 706 272 | 7 238 368 |
| Постоянные активы | 68 622 411 | 69 762 964 | 172 725 062 |
| Затраты на управление | 1 772 943 | 916 348 | 651 453 |
| Фондоотдача | 0,10 | 0,12 | 0,04 |
| Оборачиваемость активов | 0,078 | 0,104 | 0,05 |
| Период оборота в днях | 1149 | 867,3 | 1809 |
| Коэффициент управления | 3,9 | 9,5 | 11,2 |
По данным таблицы 3.8 можно сделать предварительный вывод о том, что наилучшее финансовое положение из трех кандидатов имеет ТОО "Заря".
Таблица 3.9
Отбор предприятий-участников второго этапа
| | Предприятие | ||
| | АООТ "Парижская коммуна" | ТОО "Заря" | АОЗТ "Ивановская ткацкая фабрика" |
| Выручка от реализации | 7 000 794 | 8 706 272 | 7 238 368 |
| Незавершенное производство | 571 885 | 502 477 | 732 178 |
| Доля постоянных затрат в общих затратах | 63% | 62% | 61% |
| Дорогостоящие заемные средства | 7 305 787 | 7 411 378 | 7 512 715 |
| Заемные средства | 16 923 878 | 13 882 213 | 19 759 573 |
| Критерий отбора (КУ) | 11,54 | 15,04 | 9,98 |
По данным таблиц 3.8 и 3.9 можно заключить, что наиболее подходящим участником ТТЦ на втором этапе ТОО "Заря", имеющая наряду с наилучшим финансовым положением наибольшее значение коэффициента корпоративного участия.
^
Построение текстильной технологической цепочки
По данным анализа, проведенного в ходе отбора предприятий на право участия в производственном процессе в рамках ТТЦ по производству хлопчатобумажных халатов для медицинских нужд, для каждого этапа технологического цикла было утверждено предприятие-участник. На основании утвержденного списка можно перейти к следующему шагу этапа планирования, который заключается в построении технологической цепочки по производству хлопчатобумажных халатов.
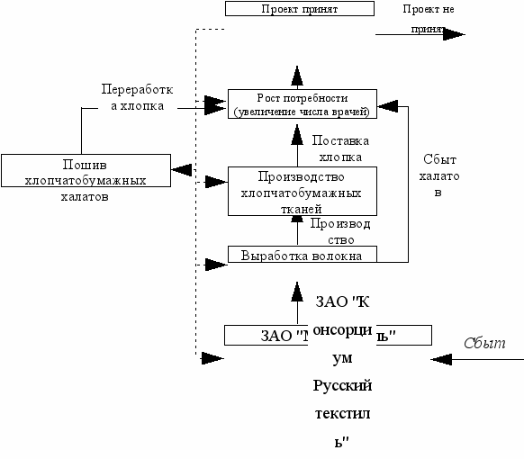
С учетом всего вышеизложенного производственная схема текстильной технологической цепочки будет выглядеть как показано на рис.3.5.

Условные обозначения:
– товарный поток;
– поток денежных средств.Рис. 3.5 Технологическая цепочка ФПГ "Консорциум Русский текстиль"
Следующим шагом после построения производственной схемы текстильной технологической цепочки является составление календарного, финансового и организационного планов функционирования ТТЦ на основании данных предварительного анализа предприятий-участников, проведенного на предыдущих шагах.
Календарный план по производству 190 000 хлопчатобумажных халатов представлен на рис. 3.6.
| 1 | Переработка хлопка на Ферганском хлопкоперерабатывающем заводе | | | | | | | | | | | | | | | | | | ||||||||||
| 2 | Транспортировка на АООТ "Собитекс" | | | | | | | | | | | | | | | | | | ||||||||||
| 3 | Получение волокна на АООТ "Собитекс" | | | | | | | | | | | | | | | | | | ||||||||||
| 4 | Отправка волокна на ТОО "Заря" и на предприятие "М-Текстиль" | | | | | | | | | | | | | | | | ||||||||||||
| 5 | Изготовление хлопчатобумажных тканей на ТОО "Заря | | | | | | | | | | | | | | | | | | ||||||||||
| 6 | Покупка пуговиц на предприятии АООТ "Роспластмасс" на предприятие "М-Текстиль" | | | | | | | | | | | | | | | | ||||||||||||
| 7 | Транспортировка хлопчатобумажных тканей на предприятие "М-Тектиль" | | | | | | | | | | | | | | | | ||||||||||||
| 8 | Пошив хлопчатобумажных халатов | | | | | | | | | | | | | | | | | | ||||||||||
| 9 | Отгрузка хлопчатобумажных халатов на склад | | | | | | | | | | | | | | | | ||||||||||||
| 10 | Периоды планирования (декады) | 1 | 2 | 3 | 4 | 5 | 6 | 7 | 8 | 9 | 10 | 11 | 12 | | | | | | ||||||||||
Рис. 3.6 Календарный план производства хлопчатобумажных халатов
Календарный план, чаще всего, составляется в форме гистограммы. Целью составления календарного плана является планирования длительности каждой конкретной производственной операции в рамках ТТЦ. Кроме того, календарный план определяет продолжительность прохождения продукта на каждом этапе его переработки и позволяет определить продолжительность всего производственного цикла.
Исходными данными для данного календарного плана является информация, полученная на основе анализа взаимодействия участников ТТЦ, нормативы выполнения каждой производственной операции, фактические производственные мощности каждого предприятия, участвовавшего в ТТЦ.
На основе календарного плана составляется план финансовых потоков, отток соответствует оплате себестоимости и товаров, а приток – получение средств от покупателей.
В финансовом плане необходимо отразить предполагаемые источники финансирования проекта, рассчитать себестоимость изделия и составить схему финансовых платежей в рамках проекта.
Ниже приведен расчет себестоимости одного хлопчатобумажного халата в рублях за штуку (табл. 3.10):
Таблица 3.10
Расчет себестоимости хлопчатобумажного халата (руб.)
| Этап | Наименование | Затраты |
| 1 | Переработка хлопка на Ферганском хлопкоперерабатывающем заводе | 27 879 |
| 2 | Транспортировка хлопка на АООТ "Собитекс" | 412 |
| 3 | Производство волокна на АООТ "Собитекс" | 15 246,3 |
| 4 | Отправка волокна на ТОО "Заря" и на ЗАО "М-Текстиль" | 148 |
| 5 | Изготовление хлопчатобумажных тканей на ТОО "Заря | 21 394,1 |
| 6 | Отгрузка пуговиц с АООТ "Роспластмасс" в адрес ЗАО "М-Текстиль" | 988 |
| 7 | Транспортировка хлопчатобумажных тканей на ЗАО "М-Текстиль" | 115 |
| 8 | Пошив хлопчатобумажных халатов | 30 729 |
| 9 | Отгрузка хлопчатобумажных халатов на склад | 149,6 |
| | Итого | 97 061 |
Таким образом, себестоимость одного хлопчатобумажного халата составляет 97 061 рублей, включая транспортные и организационные расходы.
Теперь можно рассчитать платежи по проекту в целом:
1 этап = 5 297 000 тысяч рублей;
2 этап = 75 974 тысяч рублей
3 этап = 2 896 790 тысяч рублей;
4 этап = 28 120 тысяч рублей;
5 этап = 4 064 880 тысяч рублей;
6 этап = 187 720 тысяч рублей;
7 этап = 21 850 тысяч рублей;
8 этап = 5 838 510 тысяч рублей;
9 этап = 28 430 тысяч рублей.
Таким образом, для производства 190 000 хлопчатобумажных халатов необходимо 18 442 миллионов рублей.
Источником финансирования может быть кредитная линия – процентная ставка 50% годовых. По этим данным может быть рассчитана минимальная цена хлопчатобумажного халата.
,где
Pmin – минимальная цена хлопчатобумажного халата (без промежуточного погашения долга).
Таким образом средняя отпускная цена одного халата, произведенного в рамках ТТЦ ниже цены конкурентов. Это свидетельствует о достаточной степени конкурентоспособности халатов на рынке Центрального региона РФ.
Одним из направлений снижения себестоимости в рамках всей ТТЦ может быть оптимизация платежей по кредиту, которая позволит снизить затраты на его обслуживание и процентные платежи. Основой для оптимизации является схема финансовых потоков в рамках текстильной технологической цепочки производства хлопчатобумажных халатов, которая представлена на рис. 3.7.

Рис. 3.7. Схема финансовых потоков производства халатов
После окончания непосредственно процесса планирования и на основании календарного, финансового планов, а также плана финансовых потоков строится организационный план производства хлопчатобумажных халатов для медицинских целей (табл. 3.11), который является логическим итогом всех этапов планирования.
Организационный план позволяет руководству в процессе функционирования технологической цепочки проводить контрольно-руководящие мероприятия.
Таблица 3.11
Организационный план производства хлопчатобумажных халатов
| Этап | Продолжительность в днях | Участник | Себестоимость халата (руб.) | Общие платежи (тыс. руб.) |
| 1 | 4 | Ферганский ХПЗ | 27 879 | 5 297 010 |
| 2 | 10 | | 412 | 78 280 |
| 3 | 9 | АООТ "Собитекс" | 15 246 | 2 896 790 |
| 4 | 2 | | 148 | 28 120 |
| 5 | 12 | ТОО "Заря" | 21 394 | 4 064 880 |
| 6 | 2 | | 988 | 187 720 |
| 7 | 2 | | 115 | 21 850 |
| 8 | 49 | М-Текстиль | 30 739 | 5 838 510 |
| 9 | 2 | | 150 | 28 430 |
Организационный план является основой для функционирования ТТЦ, а также служит ориентиром при определении производственных заданий внутри предприятий-участников текстильной технологической цепочки.
Функционирование ТТЦ должно проходить под контролем со стороны управляющей компании, которая должна вовремя вмешиваться в производственный процесс для осуществления необходимых управляющих мероприятий. Методика контроля подробно описана в п. 3.3.
