Лекция 3 тема: Операция сдвига
| Вид материала | Лекция |
- Задачи и организация курса. Литература. Понятия сигнала и системы Лекция №2 Классификация, 22.9kb.
- Міжнародна науково-практична конференція "Перший Всеукраїнський з’їзд екологів" Збірник, 109.22kb.
- 1 11 Тема 2 12 тема 3 13 Тема 4 14 Тема 5 15 Тема 6 17 Тема 7 20 Тема 8 22 Тема, 284.17kb.
- Дисциплина: Схемотехника, 134.01kb.
- Лекции по основам программирования на C/C++, 690.4kb.
- Лекция№6 глава оценка достоверности сдвига в значениях исследуемого признака, 366.86kb.
- Тема лекции, 54.77kb.
- Литература во второй половине 2011г. Акунин, Б. Смерть на брудершафт. Операция «Транзит», 182.51kb.
- Задание на курсовой проект по технологии электронного машиностроения Тема проекта, 66.16kb.
- Лекция №1 Введение. Этапы развития и становления хирургии, 2261.58kb.
Лекция 3
ТЕМА: Операция сдвига.
Сдвиг бывает двух видов:
1). Без потери информации (сдвигатель).Это сдвигатели на которых выполняется умножение и деление на 2 в целой степени за 1 такт. Для сдвигателей применяются методы контроля , как для передачи информации (в основном схема сравнения)
2). С потерей информации . Используется в блоках арифметики c плавающей точкой , при нормализации мантиссы.
Для сдвига без потери информации применимы методы контроля для передачи информации.
Схемы встроенного контроля (СВК)
Схема встроенного контроля сдвигового регистра
Для контроля работы сдвигового регистра с потерей информации используется метод контроля паритета(СК типа ИП5).
Для предсказания изменения паритета последовательного кода используется Т- триггер. Относительно своего начального состояния фиксирует паритет последовательного кода, проходящего через его Т-выход.
Таблица Т-триггера Пример:
-начальное состояние =0, а
=0 1 1 0 1начал конеч сигн
=1 , т.к.
=0 ,
=1 ,
=0 ,
=0.1) исходное состояние сохраняется, если на Т-вход пришел 0;
2) триггер оказывается в противоположном состоянии , если на Т-вход пришла 1;
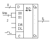
СВК регистра сдвига
При сдвиге влево бит со входа DL записывается в разряд Q7 , а Q0 выпадает из регистра.
При сдвиге вправо DR записывается в разряд Q0 , а Q7 выпадает из регистра.
Для проверки паритета избыточного кода, записываемого в блок сдвигового регистра, используются СВК .
На Т-вход поступает сигнал предсказания о том как изменится паритет при сдвиге влево или вправо. На выходе М2 будет 1 ,если паритет при сдвиге изменится . Выход М2=0 , если паритет не будет меняться.

Пример работы
Пример 1.
Пусть в сечении В четность , значит в сечении А при безошибочной работе (при параллельной записи и сдвиге ) должна быть четность Используя функцию Fн для СК следовательно Fн=0 ,если Fн=0 схема работает правильно.
П
Сдвиг вправо DR=1, на Т-входе — «0», на С пришел импульс. (Т.к.работает верхний канал -М2=0)
Подаем сигнал на регистр сдвига на 1 разряд вправо.
Fн=0,схема работает правильно
ример 2.


1
0
0
0
0
1
1
1
Пример 3.
1
0
0
1
0
1
1
1
Ошибка. Поменять на обратное значение любой бит (одиночная ошибка).
Остаточные коды (ОК)
ОК используется для контроля акселератора (сопроцессора ) с целью уменьшения аппаратурных затрат относительно дублирования. Для ОК используются модули 3,9,15 соответственно 2 и 4 разряда для кодов.
Формула получения структуры схем контроля с остаточными кодами:
R(A*B)=R[R(A)+R(B)] —
R- остаток от операции над А и В (*—«*», «+», «-») равняется остатку от операции над остатками входных операндов А и В.

Пример: Формирование остаточного кода для модуля 3.
Правила формирования остаточных кодов:
остаточный код равен нулю, если операнды равны нулю;
остаточный код равен модулю (3, 9, 15), если операнды кратны модулю;
остаточный код равен остатку от деления на модуль, если не выполняются пункты 1,2.
Пример реализации
Модуль равен 3.Контроль комбинационных схем
Используются 3 метода:
- дублирование (см. схему контроля сумматора).
- метод активного выхода. Например, дешифратор – если паритет правильного выходного сигнала неизменен , то ставится СК (ИП5)

3)метод предсказания. Используется для двоичного счетчика (СТ2):
Схема контроля аналогична СВК сдвигового регистра , но вместо 2-х сумматоров по модулю 2 реализуется формула предсказания изменения паритета. для режима +1 :
для 4-х разр.


для режима -1 :
для 8-ми разрядов
СВК счетчика

Самопроверяемые схемы встроенного контроля (ССВК)
Недостатками СВК являются:
- Незащищённость от ошибок самой СВК.
ССВК (Самопроверяемые СВК ) должна обладать следующими свойствами:
- самотестируемость ( выход 1 не равен выходу 2);
- защищённостью от ошибок (то же неравенство);
- раздельная реализация двух выходов.
К
одирование. 
Рисунок2
2-х выходные ССВК выдают f1f2— если контролируемые устройства и ССВК
работают без ошибок ; f1=f2 —если есть ошибка.
На Рисунке1 приведена ССВК для контроля выходного сечения (В) вырабатываемое СВК. Она контролирует паритет на нечетность.
Рисунок2 – самопроверяемая схема сравнения проверяющая на неравенство входные сигналы :
f1=
, f2=
, Х¹
, Y¹
.Теория ССВК изложена в монографии Самогоняна “Отказоустойчивые системы “. Для узлов вычислительной техники все структуры рассчитаны.
Структуры ССВК.
Для всех рассмотренных СВК используется следующий метод построения ССВК : вместо СК(ИП5)ставится схема Рис1 (не четность).Для четности выход F1 или F2 инвертируется. Вместо схем сравнения (дублирование) используется Рис2 (4-х входовая схема сравнения ,и если нужно иметь большую входную разрядность строится каскад ССС).
