Пособие для разработки методик по электрическим измерениям и испытаниям отдельных видов электрооборудования напряжением до и выше 1 кв часть II
| Вид материала | Документы |
- Вид работ №20. 11. «Монтаж и демонтаж трансформаторных подстанций и линейного электрооборудования, 21.36kb.
- Рекомендации по технологическому проектированию воздушных линий электропередачи напряжением, 486.43kb.
- Общие правила, 1335.1kb.
- Концепция настоящего стандарта основана на двух принципах: 1 Следует различать следующие, 182.68kb.
- Типовая инструкция по охране труда для электромонтера по обслуживанию лэп, электрооборудования, 125.41kb.
- Правила устройства электроустановок (пуэ) Заземление и защитные меры электробезопасности, 2678.23kb.
- Учебное пособие рпк «Политехник» Волгоград, 1200.72kb.
- «Северо-Запад», 187.63kb.
- Рекомендации Организации Объединенных Наций по промышленному развитию (юнидо); Стандарты, 33.53kb.
- Требования электробезопасности понятие «электробезопасность». Электробезопасность, 1094.57kb.
3.2.4. Механические испытания.
Производятся в соответствии с инструкциями завода-изготовителя. К
механическим испытаниям относятся:
- вкатывание и выкатывание выдвижных элементов с проверкой взаимного
вхождения разъединяющих контактов, а также работы шторок, блокировок, фиксаторов и т.п.;
- измерение контактного нажатия разъемных контактов первичной цепи;
- проверка работы и состояния контактов заземляющего разъединителя.
3.3. Проведение периодических проверок, измерений и испытаний
КРУ (КРУН) находящихся в эксплуатации
3.3.1. Нормы испытаний КРУ (КРУН) находящихся в эксплуатации.
Объем и нормы испытаний элементов КРУ (КРУГ), находящихся в эксплуатации
(масляные выключатели, измерительные трансформаторы, выключатели нагрузки, вен-
тильные разрядники, предохранители, разъединители, кабели и т. п.), определены соот-
ветствующими разделами настоящего Сборника.
Дополнительно должны проводиться испытания в объеме и в сроки, указанные
ниже.
Профилактические испытания КРУ (КРУГ) проводят при капитальном ремонте
(K) и в межремонтный период (М).
К - проводится в сроки, устанавливаемые системой ППР, но не реже 1 раза в 6
лет.
М - в сроки, устанавливаемые системой ППР.
Объем профилактических испытаний, предусмотренный ПЭЭП, включает сле-
дующие работы.
1. Измерение сопротивления изоляции:
а) первичных цепей;
б) вторичных цепей.
2. Испытания повышенным напряжением промышленной частоты:
а) изоляции ячеек;
б) изоляции вторичных цепей.
3. Измерение сопротивления постоянному току.
4. Измерение нажатия ламелей разъединяющихся контактов первичной цепи.
5. Проверка выкатных частей и блокировок.
3.3.2. Измерение сопротивления изоляции.
Проводится при К.
а) первичных цепей. Производится мегаомметром на напряжение 2500
В. Сопротивление изоляции полностью собранных цепей должно быть не ниже: для
КРУ (КРУГ) 3-10 кВ — 300 МОм; для КРУ (КРУГ) 15-150 кВ - 1000 МОм; для КРУ
(КРУН) 220 кВ - 3000 МОм.
б) вторичных цепей. Производится мегаомметром на напряжение 500
1000 В. Сопротивление изоляции должно быть не менее 1 МОм.
О порядке проведения измерения сопротивления изоляции см. п. 1.2 настоящего
Сборника.
3.3.3. Испытания повышенным напряжением промышленной частоты.
Проводится при К.
а) изоляции ячеек. Нормируемое испытательное напряжение должно быть при-
ложено на полностью смонтированные ячейки и соответствовать значениям, представ-
ленным в табл. 3.3. Продолжительность приложения испытательного напряжения для
ячеек с керамической изоляцией 1 мин, для ячеек, изоляция которых имеет элементы из
твердых органических материалов, 5 мин.
Таблица 3.3. Испытательное напряжение промышленной частоты
изоляции ячеек КРУ и КРУН
| Класс напряжения, кВ | Испытательные напряжения, кВ, ячейки с изоляцией | |
| керамической | из твердых органических материалов | |
| 3 6 10 15 20 35 | 24 32 42 55 65 95 | 22 29 38 50 59 86 |
Примечание: Данные табл.18 приложения 1.1 ПЭЭП.
б) изоляции вторичных цепей. Производится напряжением 1000 В, продолжи-
тельность приложения напряжения 1 мин.
Испытания напряжением 1000 В промышленной частоты может быть заменено
измерением одноминутного значения сопротивления изоляции мегаомметром на напря-
жении 2500 В. В этом случае можно не выполнять измерения предусмотренные п.
3.2.3.б для вторичных цепей.
0 порядке проведения испытаний повышенным напряжением промышленной
частоты следует руководствоваться указаниями п. 1.1 настоящего
Сборника.
3.3.4. Измерение сопротивления постоянному току.
Проводится при К.
Измерение сопротивления производится выборочно, если позволяет конструкция
КРУ (КРУК). Измерение во вторичных цепях производится только для контактов сколь-
зящего типа.
Результаты измерений должны быть не более значений, приведенных в табл. 3.4.
Таблица 3.4. Наибольшее допустимое сопротивление постоянному току
контактов КРУ и КРУН
| Измеряемый объект | Номинальный ток, А | Наибольшее допустимое сопротивление, мкОм |
| Контакты сборных шин (сопротивление участка шин с контактным соединением) | | 1,2.r, где r - сопротивление участка шин той же длины без контакта |
| Размыкающие контакты первичной цепи | 400 600 900 1200 2000 | 75 60 50 40 33 |
| Размыкающие контакты вторичной силовой цепи | - | 4000 |
Примечание: Данные табл. 29 приложение 1.1 ПЭЭП.
О порядке проведения измерений сопротивления постоянному току следует руко-
водствоваться указаниями п. 1.4 настоящего Сборника.
3.3.5. Измерение нажатия ламелей разъединяющихся контактов первичной
цепи.
Проводится при К.
Измерения производятся выборочно при выкаченной тележке. Сила нажатия каж-
дой ламели на неподвижный контакт или металлическую пластину в пределах 0,10 - 0,15
кН (10- 15 кгс).
3.3.6. Проверка выкатных частей и блокировок.
Проводится при К.
Проверка заключается в проведении четырех - пяти выкатываний и вкатываний
тележки. При этом проверяется работа механических блокировок, соосность втычных
контактов и ножей.
4. МАСЛЯНЫЕ ВЫКЛЮЧАТЕЛИ
4.1. Общие положения
Испытаниям должен предшествовать комплекс подготовительных мероприятий:
- изучена электрическая часть испытуемой электроустановки;
- заводская документация, касающаяся конструктивных особенностей оборудова-
ния, объема и норм испытаний;
- получены данные о качестве масла, залитого в оборудование, подлежащее испы-
танию.
Проведению испытаний должен предшествовать тщательный наружный осмотр
испытуемого объекта. Если в результате осмотра будут обнаружены дефекты, которые
могут вызвать повреждение оборудования или испытательной аппаратуры, испытания
разрешается проводить лишь после устранения этих дефектов.
Заключение о пригодности оборудования к эксплуатации производится на осно-
вании сравнения данных, полученных при испытании, с браковочными нормами и ана-
лиза результатов всех проведенных эксплуатационных испытаний и осмотров.
Оборудование, забракованное при внешнем осмотре, независимо от результатов
испытания, должно быть заменено или отремонтировано.
4.2. Нормы приемо-сдаточных испытаний масляных выключателей
4.2 1. Объем приемо-сдаточных испытаний.
Основные технические требования и методы испытаний выключателей перемен-
ного тока определены в ГОСТ 687-78Е.
В соответствии с требованиями ПУЭ объем приемо-сдаточных испытаний масля-
ных выключателей включает следующие работы
1. Измерение сопротивления изоляции:
а) подвижных и направляющих частей, выполненных из органических ма
териалов;
б) вторичных цепей, электромагнитов включения и отключения.
2. Испытание вводов.
3. Оценка состояния внутрибаковой изоляции и изоляции дугогасительных уст
ройств.
4.Испытание изоляции повышенным напряжением промышленной частоты:
а) изоляции выключателей относительно корпуса или опорной изоляции;
б) изоляции вторичных цепей и обмоток электромагнитов включения и от-
ключения.
5. Измерение сопротивления постоянному току:
а) контактов масляных выключателей;
б) шунтирующих резисторов дугогасительных устройств;
в) обмоток электромагнитов включения и отключения.
6. Измерение скоростных и временных характеристик выключателей.
7. Измерение хода подвижных частей (траверс) выключателя, вжима контактов
при включении, одновременности замыкания и размыкания контактов.
8. Проверка регулировочных и установочных характеристик механизмов, приво-
дов и выключателей.
9. Проверка действия механизма свободного расцепления.
10. Проверка напряжения (давления) срабатывания приводов выключателя.
11. Испытание выключателя многократными включениями и отключениями.
12. Испытание трансформаторного масла выключателей.
13. Испытание встроенных трансформаторов тока.
4.2.2. Измерение сопротивления изоляции.
а) подвижных и направляющих частей, выполненных из органических мате-
риалов.
Производится мегаомметром на напряжение 2500 В.
Сопротивление изоляции не должно быть менее значений, приведенных ниже:
| Номинальное напряжение выключателя, кВ. | 3-10 | 15-50 | 220-500 |
| Сопротивление изоляции, МОм. | 1000 | 3000 | 5000 |
Первое измерение производится обычно при включенном положении выключате-
ля. Измеряется суммарное сопротивление изоляции вводов, подвижных и направляю-
щих частей выключателя. Если измеренные сопротивления окажутся ниже указанных
выше значений, проводится второе измерение при отключенном выключателе и соеди-
ненных между собой вводах каждой фазы выключателя.
Сопротивление изоляции подвижных и направляющих частей определяется по ре-
зультатам двух измерений из выражения

где Rвкл и Rоткл -сопротивления изоляции, измеренные соответственно при вклю-
ченном и отключенном положениях выключателя.
В тех случаях, когда масло в баки выключателя не залито или есть возможность осушить баки, для измерения сопротивления изоляции присоединяют мегаомметр непосредственно к подвижным и направляющим частям.
б) вторичных цепей, электромагнитов включения и отключения и т.п. Изме-
рения производится в соответствии с п. 1.2 настоящего Пособия. Сопротивление изоля-
ции измеряется мегаомметром на напряжение 1000 В и должно быть не менее 1 МОм.
О порядке измерения сопротивления изоляции следует руководствоваться указа-
ниями п. 1.2 настоящего Пособия.
4.2.3. Испытание вводов.
Вводы масляных выключателей испытываются до установки их на выключатели.
Испытания проводятся в порядке, указанном в соответствующей главе настоящего По-
собия.
4.2.4. Оценка состояния внутрибаковой изоляции и изоляции дугогаситель-
ных устройств.
Производится для выключателей 35 кВ с установленными вводами путем измере
ния тангенса угла диэлектрических потерь изоляции.
Тангенс угла диэлектрических потерь измеряют для вводов всех типов, кроме
фарфоровых. Поскольку это измерение производят на вводах, установленных на выклю
чателях, на его результат оказывает влияние как состояние самого ввода, так и состоя-
ние внутрибаковой изоляции (деионные решетки, экраны, направляющие камер и т.п.).
Поэтому оценка состояния внутрибаковой изоляции производится в том случае, если
при измерении tgδ вводов на полностью собранном выключателе получены значения,
превышающие нормы, указанные в главе 1 настоящего Пособия.
Необходимо повторить измерение с исключением влияния внутрибаковой изоля-
ции. Для этого опускают баки, сливают масле, закорачивают дугогасительные камеры и
производят измерения. Если значение tgδ в 2 раза превышает tgδ вводов измеренное при
полном исключении влияния внутрибаковой изоляции дугогасительных устройств, т.е.
до установки вводов в выключатель, внутрибаковая изоляция подлежит сушке. Если же
tgδ остается выше нормы, то такой ввод должен быть заменен.
После сушки внутрибаковой изоляции и повторной заливки выключателя маслом
производят проверку сопротивления изоляции в соответствии с требованиями п. 4.2.2 и
измерение tgδ при включенном и отключенном выключателе.
Измерения tgδ производят при помощи моста переменного тока типа МД -16, Р-
571, Р-595, Р502б по перевернутой схеме (см. п. 2.2.3 и п. 1.3 настоящего Пособия).
4.2.5. Испытание изоляции повышенным напряжением промышленной час-
тоты.
а) изоляции выключателей относительно корпуса или опорной изоляции.
Испытание производится для выключателей напряжением до 35 кВ. Испытатель-
ное напряжение для выключателей принимается в соответствии с данными табл. 4.1.
Продолжительность приложения нормированного испытательного напряжения 1
мин.
Таблица 4.1. Испытательное напряжение промышленной частоты
для внешней изоляции аппаратов
| Класс напряжения, кВ. | Испытательное напряжение, кВ, для аппаратов с изоляцией | |||
| нормальной керамической | нормальной из органических материалов | облегченной керамической | облегченной из органических материалов | |
| 3 | 24 | 21,6 | 13 | 1 1,7 |
| 6 | 32 | 28,8 | 21 | 18,9 |
| 10 | 42 | 37,8 | 32 | 28,8 |
| 15 | 55 | 49,5 | 48 | 43,2 |
| 20 | 65 | 58,5 | - | - |
| 35 | 95 | 85,5 | - | - |
Примечание: данные табл. 1.8.15 ПУЭ.
Изоляция масляного выключателя испытывается повышенным напряжением по-
сле окончания всех работ на данном выключателе. Масляные выключатели КРУ для ис-
пытаний выкатываются из ячеек КРУ.
При испытании испытательное напряжение прикладывается:
- к среднему полюсу масляного выключателя во включенном его положении при заземленных крайних полюсах. Этим проверяется междуфазовая изоляция выключателя;
- ко всем трем полюсам выключателя при включенном его положении относит
ельно "земли". Этим проверяется основная изоляция выключателя;
- между разомкнутыми контактами одного и того же полюса при отключено положении выключателя. Этим проверяется изоляция внутреннего разрыва выключателя.
Схема испытания масляного выключателя повышенным напряжением представ-
лена на рис. 4.1.
Если при испытании прослушиваются потрескивания, ненормальные шумы ис
пытания прекращают и принимают меры к выявлению и устранению причин.
б) изоляции вторичных цепей и обмоток электромагнитов включения и от-
ключения. Значение испытательного напряжения 1 кВ. Продолжительность испытания 1 мин.
О порядке проведения испытания изоляции вторичных цепей и обмоток электро-
магнитов управления следует руководствоваться указаниями соответствующей главы
настоящего Пособия.

Рис. 4.1. Схемы испытаний масляных выключателей повышенным напряжением.
а - средней фазы; б - каждой из трех фаз; в - контактного разрыва.
4.2.6. Измерение сопротивления постоянному току.
а) контактов масляных выключателей. Измеряется сопротивление токоведу-
щей системы полюса выключателя и отдельных его элементов. Значение сопротивления
контактов постоянному току должно соответствовать данным завода-изготовителя.
Измерения омического сопротивления контактов выключателей производятся на
постоянном токе, т. к. измерения на переменном токе приводят к большим искажениям
результатов. Повышенное значение омического сопротивления контактов масляных вы-
ключателей приводит к обгоранию, оплавлению, привариванию контактов, что может
привести к отказу оборудования. Схема измерения сопротивления постоянному току
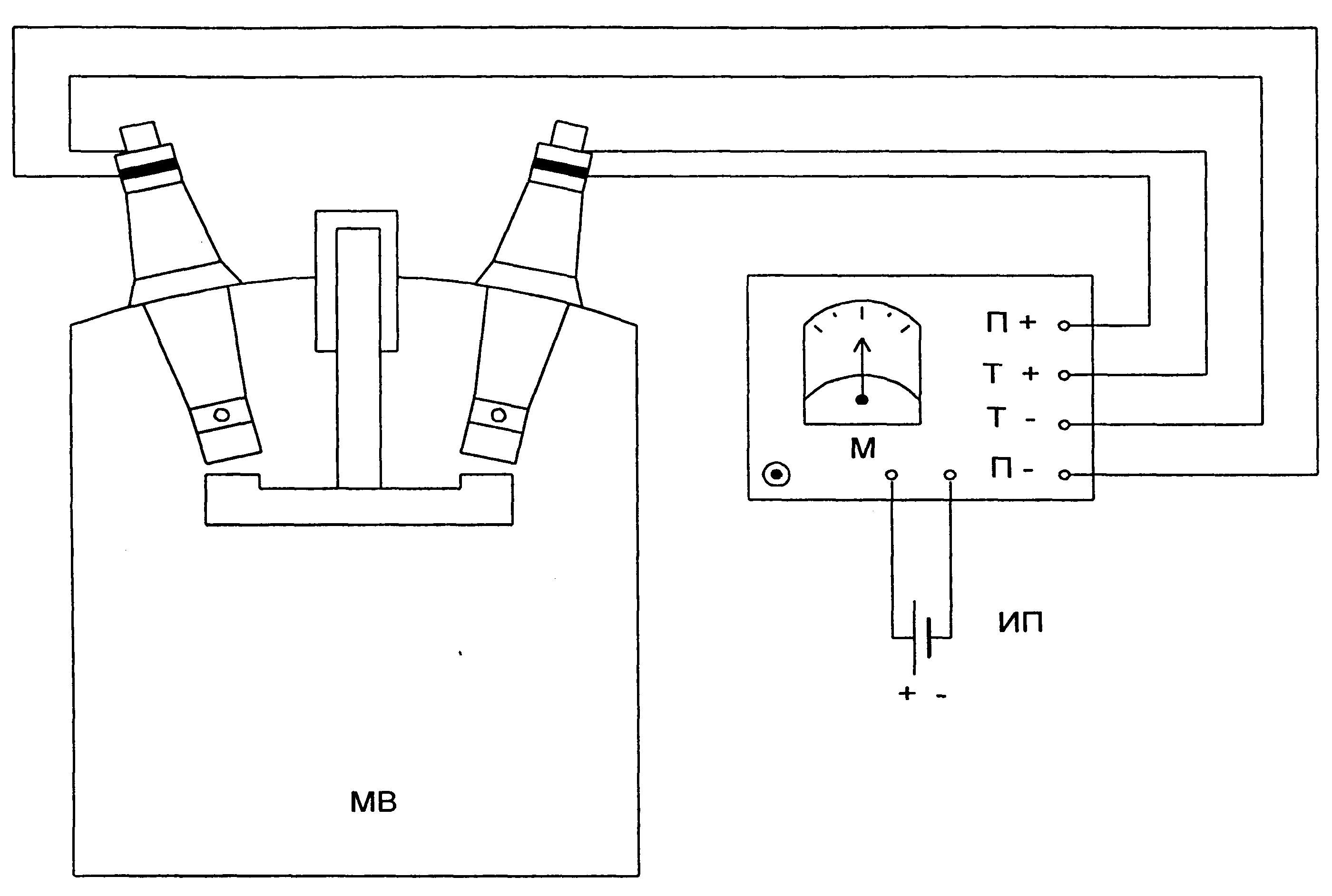
контактной системы выключателя представлена на рис. 4.2. Измеренное сопротивление
должно соответствовать данным представленным в табл. 4.2.
При изменении площади соприкосновения изменяется переходное сопротивление
контактного соединения. Оно становится тем меньше, чем больше сила нажатия, но до
определенного давления. Дальнейшее увеличение силы нажатия контактов не приводит
к заметному снижению переходного сопротивления.
Существенное влияние на переходное сопротивление контактов оказывает чисто-
та контактных поверхностей. Загрязненные, покрытые окислами поверхности имеют бо-
лее высокое переходное сопротивление, т. к. окислы большинства металлов обладают
существенно малой проводимостью.
На величину сопротивления, особенно при небольшой силе взаимного нажатия
контактов, влияет также способ обработки поверхности.
Измерение сопротивления контактов масляных выключателей производят пофаз-
но с помощью микроомметров типы Ф-415, контактомеров Мосэнерго, КМС-68, КМС-
63, мостов постоянного тока типа Р-239, а также методом амперметра-вольтметра. За
последнее время разработаны микроомметры с различными способами регулирования

Рис. 4.2. Схема измерения сопротивления постоянному току контактной системы выключателя.
МВ - масляный выключатель; м - измерительный мост; ИП - источник питания.
тока (триодами, тиристорам и), в основу которых положен метод ампермет-ра-
вольтметра. О порядке измерения сопротивления постоянному току следует руково-
дствоваться указаниями п. 1.4 настоящего Пособия.
По величине переходного сопротивления фазы выключателя трудно судить о со-
стоянии контактов, входящих в цепь токоведущего контура выключателя. Однако уста-
новлено, что неисправность какого-либо контакта в большей части приводит к резкому
увеличению общего сопротивления контура.
Таблица 4.2. Сопротивления постоянному току токоведущего контура
масляных выключателей
| Тип выключателя | Номинальное напряжение, кВ | Номинальный ток, А | Сопротивление контактов фазы выключателя, мкОм |
| 1 | 2 | 3 | 4 |
| ВМП-10; ВМП-10К; ВМПЭ-10 | 10 | 600 1000 1500 5000 | 55 40 30 15; 3001) |
| ВЭМ-6; ВЭМ-10 | 6 — 10 | 2000 3200 | 45 45 |
| М-10 | 10 | 5000 | 10; 3001) |
| МГГ-10 | 6-10 | 2000 3000 | 30 20 |
| Остальные типы | 3 -10 | 200 600 1000 2000 | 350 150 100 75 |
| МГ-20 | 20 | 6000 | 15; 3001) |
| МГГ-20 | 20 | 2000 3000 | 30; 2501) |
| ВМ-35; ВБ-35; ВМД-35 | 35 | 600 | 550 |
| С-35 | 35 | 630 3200 | 310; 92) 55; 142) |
| ВМТ-110 | 110 | 1000 | 130 |
| МКП-110: с киритовыми пластинами без киритовых пластин | 110 110 | 600 600 | ~600, 5402) 1100 |
| ВМ-125 | 110 | 600 | 500 |
| ВМТ-220 | 220 | 1000 | 130 |
| МКП-220 | 220 | 600 | 1200; 2602) |
| У-220-10 | 220 | 600 | 1400; 6002) |
| МКП-500 | 500 | 1500 | 2350; 3502); 5003) |
| ВМГ-10 | 6-10 | 630 | 75 |
Примечание: 1) - дугогасительные контакты; 2) - одна камера; 3) - подвижные контакты.
При получении неудовлетворительных данных при измерении рекомендуется
произвести 2-х-3-х кратное включение и отключение масляного выключателя, т. к. после
нескольких операций включения и отключения происходит самоотчистка контактных
поверхностей и снижение общего омического сопротивления выключателя. Такая само
очистка является нормальной и должна быть рекомендована для всех выключателей.
Критерием надежности контактов некоторых типов выключателей служит вели-
чина вытягивающего усилия подвижного контакта собранного полюса до заливки мас-
лом (при недоходе к "мертвому" положению не более чем на 10 мм). Так, для выключа-
телей типа ВМГ-133 эта величина должна быть в пределах 9-13 кг, для ВМП-10-20-22
Измеренные значения сопротивлений не должны отличаться от заводских данных
более, чем на 3%.
Ниже приводятся особенности измерений сопротивления постоянному току неко-
торых типов масляных выключателей.
