План-конспект лекции на тему: «хирургическая анатомия брюшной полости. Принципы абдоминальной хирургии. Кишечный шов. Резекция желудка. Гастростомия»
| Вид материала | План-конспект |
СодержаниеПолость живота Принципы абдоминальной хирургии Кишечный шов. принципы формирования анастомозов Операции на желудке Список использованной литературы |
- Стимуляция заживления и профилактика гнойных осложнений послеоперационных ран передней, 683.25kb.
- Методы обследования детей с хирургическими заболеваниями. Семиотика и диагностика острых, 136.38kb.
- Лекции, 596.66kb.
- Примеры тестов по анестезиологии, реаниматологии анестезия и интенсивная терапия, 215.1kb.
- План практических занятий по топографической анатомии и оперативной хирургии для студентов, 565.25kb.
- Методическая разработка по хирургии для студентов IV курса медицинского факультета, 95.79kb.
- Методические указания к практическим занятиям для студентов медицинских факультетов, 1291kb.
- Учебной роботе Проф. Ю. Й. Гуминский "--" 2011 г. Календарный план лекций по общей, 37.91kb.
- Термином "острый живот" обозначают клинический симптомокомплекс, развивающийся при, 87.1kb.
- Челябинск, Россия Электростимуляция кишечника в хирургии органов брюшной полости известна, 1630.71kb.
ПЛАН-КОНСПЕКТ
лекции на тему: «ХИРУРГИЧЕСКАЯ АНАТОМИЯ БРЮШНОЙ ПОЛОСТИ. ПРИНЦИПЫ АБДОМИНАЛЬНОЙ ХИРУРГИИ. КИШЕЧНЫЙ ШОВ. РЕЗЕКЦИЯ ЖЕЛУДКА. ГАСТРОСТОМИЯ»
для студентов 3-его курса стоматологического факультета
Актуальность. Знание топографической анатомии брюшной полости необходимо врачам различных специализаций. Эти знания лежат в основе умения поставить правильный диагноз, позволяют предвидеть возможные осложнения и избежать их. Стоматологи, как и другие врачи, должны уметь пользоваться хирургическими терминами и понятиями, владеть принципами абдоминальной хирургии.
Цель – уметь интерпретировать особенности топографической анатомии брюшной полости для обоснования проведения оперативных вмешательств в этой полости.
Брюшная полость является частью полости живота. ^ Полость живота – это самая большая полость человеческого тела, расположенная в нижней части туловища и ограниченная пределами внутрибрюшной фасции (в зависимости от того, какое образование покрывает эта фасция, ее можно называть поперечной, квадратной, поясничной, предпозвоночной, нижней диафрагмальной или тазовой). Брюшная полость ограничена пределами париетальной (пристеночной) брюшины. Только те ранения переднебоковой стенки живота считаются проникающими, которые сопровождаются нарушением целостности париетальной брюшины, то есть проникают в брюшную полость. Внутри брюшной полости располагаются органы, покрытые висцеральной (органной) брюшиной. Выделяют три варианта покрытия брюшиной: интра-, мезо- и экстраперитониальное. При интраперитониальном (внутрибрюшинном) расположении органа он покрыт брюшиной практически со всех сторон (например, желудок, поперечная ободочная кишка и т.д.). Такие органы обладают подвижностью, ограниченной только связками или брыжейками. К мезоперитониально расположенным органам относятся те органы, которые покрыты брюшиной на большем протяжении, но не со всех сторон (например, печень, восходящая и нисходящая ободочная кишка). Подвижность таких органов ограничена. Экстраперитониальное (внебрюшинное) расположение органа подразумевает покрытие брюшиной только с одной стороны. По отношению к большей части двенадцатиперстной кишки и поджелудочной железы можно употреблять такое понятие, как ретроперитониальное (позадибрюшинное) расположение, так части этих органов обычно находятся в забрюшинном пространстве. Ретроперитониальное покрытие брюшиной является частным вариантом экстраперитониального. Между внутренними органами брюшной полости и ее стенками (между париетальным и висцеральным листками брюшины) находится брюшинная полость, содержащая только небольшое количество жидкости серозного характера. Таким образом, внутри полости живота находится брюшная полость, а внутри брюшной полости – брюшинная, как внутри одной «матрешки» содержится другая.
Рассмотрим ход брюшины на сагиттальном срезе человеческого тела. С переднебоковой стенки живота париетальная брюшина переходит на диафрагму. С диафрагмы листки брюшины опускаются к печени, образуя ее связки: серповидную (идущую приблизительно в сагиттальном направлении и отделяющую правую долю печени от левой) и коронарные (расположенные приблизительно во фронтальной плоскости). Печень обычно покрыта брюшиной мезоперитониально. В области ворот печени листки висцеральной брюшины сходятся и опускаются к малой кривизне желудка и двенадцатиперстной кишке, образуя гепатогастральную и гепатодуоденальную связки. Эти две связки составляют большую часть малого сальника. Желудок покрыт брюшиной интраперитониально. По большой кривизне желудка листки висцеральной брюшины сходятся и опускаются вниз. Затем они подворачиваются вверх и, срастаясь между собой, образуют большую часть большого сальника. Большой сальник обычно больше по площади, чем малый, кроме того, в отличие от малого, он начинается от большой кривизны желудка. Большой сальник сращен с передней стенкой поперечной ободочной кишки. На большем протяжении большой сальник представлен четырьмя сросшимися между собой листками брюшины, но его верхняя часть (желудочно-ободочная связка) представлена только двумя листками брюшины. От большой кривизны желудка влево, к селезенке, отходит желудочно-селезеночная связка. Все связки (и брыжейки) в брюшной полости имеют исключительно важное значение не только для фиксации внутренних органов, но и для поддержания их жизнеобеспечения, так как между листками брюшины содержатся сосуды, нервы и лимфатические образования.
Поперечная ободочная кишка покрыта брюшиной со всех сторон и имеет брыжейку (mezocolon). Именно эта брыжейка (вместе с самой поперечной ободочной кишкой) условно делит брюшную полость на верхний и нижний этажи. Самая нижняя часть брюшной полости (ниже пограничной линии таза) является верхним (брюшинным) этажом малого таза и будет рассмотрена при изучении соответствующей темы. В верхнем этаже брюшной полости содержатся следующие органы: брюшная часть пищевода, желудок, начальный отдел двенадцатиперстной кишки, печень, желчный пузырь, селезенка (чаще всего покрытая брюшиной интраперитониально). Кроме того, в этой части брюшной полости обычно находятся тело и хвост поджелудочной железы, покрытые брюшиной ретроперитониально. Хвост поджелудочной железы назодится в непосредственной близости от ворот селезенки и может быть поврежден при спленэктомии. При воспалении поджелудочной железы за счет отека (а также при увеличении в размерах опухоли этого органа) может происходить механическое сдавление сосудов, расположенный в непосредственной близости от этой железы: селезеночных или верхних брыжеечных. Обычно в большей степени сдавливаются вены, так как давление крови в них меньшее, чем в артериях. Если селезеночная вена сдавливается в большей степени, чем одноименная артерия, то возникают предпосылки для спленомегалии. При сдавлении верхних брыжеечных сосудов страдает кровоснабжение (и венозный отток) тонкой кишки и правой половины толстой кишки. Левая же половина толстой кишки кровоснабжается ветвями нижней брыжеечной артерии, венозный отток от нее осуществляется в одноименную вену.
Головка поджелудочной железы подковообразно охвачена двенадцатиперстной кишкой и довольно прочно сращена с ее стенкой. Эта часть железы (и двенадцатиперстной кишки) обычно соответствуют нижнему этажу брюшной полости и располагаются ретроперитониально. Ниже брыжейки поперечной ободочной кишки и левее от средней линии двенадцатиперстная кишка выходит из забрюшинного пространства и посредством изгиба переходит в следующую часть тонкой кишки – тощую. Двенадцатиперстно-тощекишечный (дуоденоеюнальный) изгиб является важным ориентиром брюшной полости, для нахождения которого служит прием Губарева. Тощий и подвздошный отделы тонкой кишки покрыты брюшиной интраперитониально и имеют брыжейку, корень которой тянется сверху вниз, слева направо. Подвздошная кишка впадает в слепую с образованием илеоцекального угла. Выше места впадения подвздошной кишки часть толстой кишки называется восходящей ободочной. По ходу толстой кишки в большинстве случаев происходит чередование интраперитониального и мезоперитониального покрытия брюшиной. Так, значительная часть слепой кишки обычно располагается интраперитониально, восходящая ободочная – мезоперитониально, поперечная ободочная – интраперитониально, нисходящая ободочная – мезоперитониально, сигмовидная – опять интраперитониально. От слепой кишки отходит червеобразный отросток (аппендикс), который в большинстве случаев имеет брыжейку, то есть располагается интраперитониально. Обычно наблюдается нисходящее расположение этого отростка – его верхушка обращена вниз. Крайний вариант такого положения, когда верхушка опускается ниже пограничной линии таза, называется тазовым расположением. При таком положении воспаление червеобразного отростка (аппендицит) может быть ошибочно принят у женщин за правосторонний сальпингооофорит. Иногда встречается восходящее расположение аппендикса (его верхушка обращена вверх), крайним вариантом которого является подпеченочное положение. Аппендицит при таком положении отростка может быть принят за холецистит. Если верхушка аппендикса обращена кнутри (сам он располагается вдоль конечного отдела подвздошной кишки), такое положение называется медиальным. При латеральном положении отростка он располагается кнаружи от слепой кишки, в правом боковом канале. Если аппендикс находится на передней стенке слепой кишки, это называется его передним положением, если он находится позади слепой кишки, то – задним (ретроцекальным). Ретроцекальное положение червеобразного отростка часто сопровождается нетипичным (ретроперитониальным) покрытием его брюшиной. При этом боль, возникающая при воспалении отростка, может иррадиировать не на переднебоковую стенку живота, а на заднебоковую (в области поясничного треугольника Пти). Самым редким вариантом расположения аппендикса является его интрамуральное (внутристеночное) положение, когда он находится в стенке слепой кишки. Однако при любом варианте расположения отростка, а также когда его обнаружение затрудняется наличием спаек, основание аппендикса всегда можно найти в месте схождения мышечных лент на слепой кишке. Иногда за слепую кишку может быть ошибочно принята сигмовидная кишка, сместившаяся в правую паховую область. Слепая кишка отличается от сигмовидной тем, что на ней обычно отсутствуют сальниковые отростки (жировые подвески).
В нижнем этаже брюшной полости выделяют два боковых канала: правый и левый,- расположенных между соответствующей стенкой живота и восходящей (для левого – нисходящей) ободочной кишкой. По этим каналам может происходить распространение патологического содержимого, если это содержимое обладает подвижностью. При вертикальном положении туловища пациента содержимое под действием силы тяжести стекает из обоих каналов в малый таз. Если пациент лежит на спине, то содержимое по законам физики стремится вниз, но по отношению к телу пациента – вверх. У большинства людей между диафрагмой и селезеночным (левым) изгибом ободочной кишки натянута диафрагмально-ободочная связка, которая препятствует распространению патологического содержимого из левого бокового канала в верхний этаж брюшной полости. С правой стороны аналогичная связка обычно отсутствует, поэтому из правого бокового канала содержимое может распространиться вверх – в правое поддиафрагмальное пространство.
Между восходящей и нисходящей ободочной кишкой располагаются правый и левый брыжеечные синусы, отделенные друг от друга брыжейкой тонкой кишки. Сверху эти синусы ограничены брыжейкой поперечной ободочной кишки, поэтому патологическое содержимое распространиться непосредственно из этих синусов в верхний этаж брюшной полости не может. Однако это содержимое может распространиться в боковой канал той же стороны (через восходящую или нисходящую ободочную кишку), при вертикальном положении туловища – вниз, в малый таз. Кроме того, синусы сообщаются между собой через щель между брыжейкой поперечной ободочной кишки и дуоденоеюнальным изгибом. В левом брыжеечном синусе в основном находятся петли тощей кишки, в правом – подвздошной. При резком усилении перистальтики, возникающем, например, при обильном приеме пищи после длительного голодания, может происходить перекрут брыжейки тонкой кишки, сопровождающийся сдавлением ее сосудов.
Кроме каналов и синусов, в нижнем этаже брюшной полости выделют пять карманов (углубений), представляющих из себя переход париетальной брюшины в висцеральную. В этих карманах вследствие их углубления может происходить ущемление содержимого брюшной полости, чаще всего – петель тонкой кишки. Такую патологию не совсем правильно принято называть внутренней грыжей. Заранее определить, в каком углублении произошло ущемление, весьма проблематично, поэтому при подозрении на внутреннюю грыжу (при клинике кишечной непроходимости) хирург выполняет срединную лапаротомию и осматривает углубления в следующей последовательности: дуоденоеюнальное, верхнее и нижнее илеоцекальное, ретроцекальное, межсигмовидное. Именно так (в порядке убывания) распределяются случаи внутренних грыж по вероятности их возникновения. В дуоденоеюнальном углублении формирование внутренней грыжи наблюдается чаще всего – такую патологию называют грыжей Трейтца. Верхнее и нижнее илеоцекальные углубления располагаются выше и ниже илеоцекального угла. Причем, в формировании верхнего илеоцекального углубления принимает участие не слепая кишка, а уже восходящая ободочная. Ретроцекальное углубление находится позади слепой кишки, межсигмовидное – в брыжейке сигмовидной кишки. Осматривать межсигмовидное углубление следует не со стороны левого брыжеечного синуса, а со стороны левого бокового канала, для чего сигмовидную кишку смещают в медиальном направлении.
В верхнем этаже брюшной полости имеется три сумки: сальниковая, печеночная и преджелудочная. Самая изолированная из них – сальниковая. Эта сумка находится позади малого сальника, задней стенки желудка и желудочно-ободочной связки (начала большого сальника). Снизу сальниковая сумка ограничена верхней стенкой поперечной ободочной кишки и ее брыжейкой, слева – желудочно-селезеночной связкой. Задней стенкой сальниковой сумки является задний листок париетальной брюшины, на значительном протяжении покрывающий тело и хвост поджелудочной железы. Сверху сальниковая сумка ограничена брюшиной, покрывающей диафрагму и поверхность печени. Эта сумка сообщается с остальной частью брюшинной полости только посредством сальникового (Винслова, межвенозного) отверстия. Сальниковое отверстие находится позади печеночно-двенадцатиперстной (гепатодуоденальной) связки. В толще этой связки находятся жизненно-важные образования: воротная вена, спереди и кнаружи от нее – желчные протоки, спереди и кнутри – печеночные артерии. Зачастую хирург вводит в это отверстие указательный палец и пережимает печеночно-двенадцатиперстную связку (при этом одновременно сдавливаются воротная вена, поставляющая к печени около 75 % крови, и собственная печеночная артерия), что обеспечивает временную остановку кровотечения из печени. Патологическое содержимое редко попадает в сальниковую сумку через сальниковое отверстие, так как оно может быстро закрываться спайками. Чаще патологическое содержимое оказывается в сальниковой сумке при возникновении перфоративной язвы на задней стенке желудка. Для удаления этого содержимого необходимо обеспечить доступ в сальниковую сумку. Это можно сделать через печеночно-желудочную связку, брыжейку поперечной ободочной кишки и даже со стороны поясничной области, путем рассечения заднего листка париетальной брюшины. Однако самый безопасный и при этом самый широкий доступ в сальниковую сумку обеспечивает рассечение желудочно-ободочной связки (мобилизация желудка по большой кривизне на уровне сальниковых ветвей желудочно-сальниковых артерий).
Печеночная сумка охватывает правую долю печени. Она состоит из двух пространств: подпеченочного и правого поддиафрагмального. Подпеченочное пространство находится между висцеральной поверхностью правой доли печени и правым краем поперечной ободочной кишки и ее брыжейки. Патологическое содержимое может попадать в это пространство при деструктивном поражении желчного пузыря. Правое поддиафрагмальное пространство располагается между диафрагмой и диафрагмальной поверхностью правой доли печени. Сзади оно ограничено правой коронарной связкой печени, от левого поддиафрагмального пространства отделено серповидной связкой. В правое поддиафрагмальное пространство патологическое содержимое чаще всего попадает из правого бокового канала (когда пациент лежит на спине). Левое поддиафрагмальное пространство является наиболее изолированной частью преджелудочной сумки и располагается между диафрагмой и диафрагмальной поверхностью левой доли печени, сзади ограничено левой коронарной связкой. Основная часть преджелудочной сумки имеет всего две стенки: переднюю, представленную париетальной брюшиной переднебоковой стенки живота, и заднюю, которой является малый сальник, передняя стенка желудка и начало большого сальника.
Артериальное кровоснабжение органов брюшной полости обеспечивается артериями из системы чревного ствола, верхней и нижней брыжеечной артерии. Чревный ствол обычно имеет три ветви: влево от него отходит селезеночная артерия, вправо – общая печеночная артерия, третьей ветвью чревного ствола является левая желудочная артерия (она может отходить непосредственно от брюшной аорты). Общая печеночная артерия делится на собственную печеночную и желудочно-двенадцатиперстную. Последняя отдает поджелудочно-двенадцатиперстную и правую желудочно-сальниковую. Собственная печеночная артерия в толще печеночно-двенадцатиперстной связки делится на правую и левую печеночные (от правой или собственной печеночной обычно отходит желчепузырная артерия). Правая желудочная артерия чаще всего является ветвью собственной печеночной артерии. От селезеночной артерии отходят: левая желудочно-сальниковая артерия и короткие желудочные артерии (в количестве от 2-х до 5-ти). Таким образом, кровоснабжение желудка обеспечивается из пяти источников: по малой кривизне желудка, в толще печеночно-желудочной связки анастомозируют между собой левая и правая желудочные артерии, по большой кривизне желудка, в толще желудочно-ободочной связки анастомозируют между собой левая и правая желудочно-сальниковые артерии, в толще желудочно-селезеночной связки располагаются короткие желудочные артерии. Венозный отток от желудка, как и от других органов брюшной полости, кроме печени, осуществляется в систему воротной вены. От печени венозный отток происходит по печеночным венам в нижнюю полую вену. В иннервации органов брюшной полости принимают участие ветви сплетений забрюшинного пространства, в том числе – солнечного. Для иннервации желудка важное значение имеют ветви блуждающих стволов, в иннервации желчного пузыря участвуют ветви диафрагмального нерва. Поэтому при патологии желчного пузыря боль может иррадиировать по ходу этого нерва, а надавливание между ножками правой грудино-ключично-сосцевидной мышцы может сопровождаться болью в правом подреберье. Регионарные лимфатические узлы располагаются в связках и брыжейках брюшной полости. Потому при резекции тонкой кишки по поводу поражения ее злокачественной опухолью следует прибегать к сегментарному (клиновидному) способу мобилизации, сопровождающемуся удалением лимфатических узлов вместе с сегментом брыжейки.
^ ПРИНЦИПЫ АБДОМИНАЛЬНОЙ ХИРУРГИИ
Операции на органах брюшной полости, как и другие операции, условно можно разделить на три этапа: оперативный доступ, оперативный прием и выход из операции. При выполнении этих этапов необходимо соблюдать принципы разъединения и соединения тканей, а именно: послойность, гемостатичность, относительную атравматичность и асептичность. Например, при проведении оперативного доступа рассекать париетальную брюшину следует после создания «купола», что предотвращает повреждение внутренних органов брюшной полости. Для этого складку брюшины захватывают двумя хирургическими или лапчатыми пинцетами и подтягивают кпереди. С помощью пальпации убеждаются, что в «купол» брюшины не попало содержимое брюшной полости и надсекают брюшину между пинцетами (на верхушке «купола»). Затем вставляют в образованное отверстие два пальца (или желобоватый зонд) и, продолжая подтягивать брюшину кпереди, рассекают ее с помощью скальпеля или ножниц на всю длину операционной раны.
Особую актуальность при проведении всех этапов абдоминальной операции приобретает соблюдение «асептичности», так инфекция может попасть в операционную рану не только извне, но и изнутри (содержимое желудочно-кишечного тракта всегда является инфицированным). Для того, чтобы обезопасить от инфицирования рассеченные в процессе оперативного доступа слои переднебоковой стенки живота, к краям рассеченной брюшины с помощью зажимов Микулича фиксируют влажные салфетки. После отбрасывания зажимов по краям раны эти салфетки обеспечивают изоляцию слоев операционной раны от содержимого брюшной полости.
До начала выполнения оперативного приема и после его завершения необходимо провести ревизию, то есть осмотр содержимого брюшной полости. Для ревизии нижнего этажа брюшной полости используют прием Губарева. Целью этого приема является нахождение двенадцатиперстно-тощего (дуодено-еюнального) изгиба. Прием Губарева начинают с того, что отбрасывают большой сальник и сращенную с ним поперечную ободочную кишку вверх, изолируя тем самым верхний этаж брюшной полости от нижнего этажа. После этого петли тонкой кишки смещаются вправо, частично освобождая левый брыжеечный синус. Затем хирург своей правой рукой с отведенным большим пальцем скользит по корню брыжейки тонкой кишки снизу вверх, справа налево, продолжая смещать подвижную часть тонкой кишки. Рука хирурга остановится, когда между его большим и указательным пальцами окажется фиксированная часть тонкой кишки – она и будет соответствовать переходу двенадцатиперстной кишки в тощую. После нахождения дуодено-еюнального изгиба можно осмотреть одноименный карман (углубление), представляющее переход париетальной брюшины в висцеральную. В этом кармане чаще всего (по сравнению с четырьмя другими карманами) может происходить ущемление петли тонкой кишки – формирование внутренней грыжи (ущемление в дуодено-еюнальном кармане называется грыжей Трейца). Кроме того, обнаружение дуодено-еюнального изгиба позволяет последовательно осмотреть петли тощей и подвздошной кишки вплоть до подвздошно-слепокишечного (илеоцекального) угла. При этом участки тонкой кишки осматриваются хирургом и передаются из одной руки в другую. Последовательно перебирая участки тонкой кишки и дойдя таким образом от дуодено-еюнального изгиба до илеоцекального угла, хирург будет уверен, что все петли тощей и подвздошной кишки им осмотрены. Такой осмотр является обязательным при проникающих ранениях переднебоковой стенки живота, так как поврежденная часть тонкой кишки может сместиться от места своего повреждения вследствие своей подвижности. Проникающими ранениями переднебоковой стенки живота называются те ранения, которые сопровождаются повреждением париетальной брюшины, что можно подтвердить с помощью зондирования раны. При таких ранениях обязательно выполняют срединную лапаротомию (даже если нет симптомов повреждения внутренних органов) с целью ревизии брюшной полости и ее санации.
При осмотре содержимого брюшной полости следует учитывать критерии отличия тонкой кишки от толстой кишки. Диаметр не является эффективным критерием отличия этих отделов кишечника (!). К достоверным критериям отличия относятся: цвет, наличие или отсутствие мышечных лент, гаустр, сальниковых отростков (жировых подвесок). Патологически неизмененная тонкая кишка имеет розовый цвет, а толстая кишка – серовато-голубоватый. У тонкой кишки отсутствуют мышечные ленты, гаустры и сальниковые отростки. У толстой кишки мышечные ленты и гаустры имеются на всем протяжении, на большем протяжении имеются и сальниковые отростки (у слепой кишки они обычно отсутствуют). На трупном материале толстая кишка достоверно отличается от тонкой кишки только особенностями своего мышечного слоя (по наличию имеющих более бледный цвет мышечных лент).
Цвет является одним из критериев жизнеспособности кишки. Патологически неизмененная тонкая кишка имеет розовый, блестящий цвет, а толстая кишка – серовато-голубоватый цвет и также обладает блеском. Блеском в норме обладают все органы брюшной полости, покрытые брюшиной. Потеря блеска в ходе операции свидетельствует о высыхании серозной поверхности органа. При этом происходит выпот фибрина, и стоит двум поврежденным серозным поверхностям соприкоснуться, как они достаточно быстро (в течение первых суток) склеиваются между собой, образуя спайки. Для профилактики спаечной болезни следует следить за цветом и блеском серозных поверхностей органов и время от времени поливать их теплым физиологическим раствором. Другими критериями жизнеспособности кишки являются пульсация брыжеечных артерий, и наличие перистальтики в ответ на прикосновение.
При подготовке к выполнению оперативного приема на органах брюшной полости следует осуществить изоляцию органа, на котором производится вмешательство (или его части). Изоляция направлена на недопущение попадания инфицированного содержимого в брюшную полость. Наиболее оптимальным способом изоляции является выведение органа (или его части) в рану (на переднебоковую брюшную стенку) и обкладывание его влажными салфетками. Таким способом можно воспользоваться только в том случае, если орган обладает достаточной подвижностью. Подвижность органов зависит от того, каким образом они покрыты брюшиной (интра-, мезо- или экстраперитонеально). Максимальной подвижностью обладают органы, покрытые брюшиной интраперитонеально (внутрибрюшинно). К таким органам обычно относятся: желудок, селезенка, тощая и подвздошная кишка, большая часть слепой кишки и червеобразный отросток, поперечная ободочная кишка, сигмовидная кишка. Если орган покрыт брюшиной на большем протяжении, но не со всех сторон, то он покрыт брюшиной мезоперитонеально (к таким органам обычно относятся: печень, желчный пузырь, восходящая и нисходящая ободочная кишка). Подвижность этих органов ограничена. Минимальной подвижностью обладают органы, расположенные экстраперитонеально (внебрюшинно): большая часть двенадцатиперстной кишки и поджелудочной железы. При описании покрытия этих органов брюшиной можно использовать понятие «ретроперитонеально», то есть позадибрюшинно. Кроме того, подвижность органа ограничивается его связочным аппаратом и брыжейкой (при ее наличии). Брыжейка обычно имеется у тонкой кишки, поперечной ободочной и сигмовидной кишки. Брыжейки и связки внутренних органов брюшной полости представляют прилегающие друг к другу листки брюшины, между которыми расположены сосуды, нервы и лимфатические образования. Обычно сосуды видны (просвечивают) через толщу листка брюшины. Если подвижность органа (или его части) недостаточна для того, чтобы вывести его на переднебоковую брюшную стенку, следует воспользоваться другим вариантом изоляции: обложить этот орган салфетками непосредственно в ране. Салфетки обязательно должны быть влажными, иначе их контакт с серозным покрытием рядом расположенных органов приведет к механическому повреждению листков брюшины и будет способствовать возникновению спаечной болезни.
Для придания дополнительной подвижности органу (или его части), а также в качестве подготовки полого органа к резекции используют мобилизацию (обескровливание, скелетирование). Суть мобилизации состоит в рассечении брыжейки или связочного аппарата органа с одновременной перевязкой сосудов, расположенных между листками брюшины. Обескровливание (мобилизация, скелетирование) интраперитониально расположенных органов осуществляется следующим образом: через бессосудистую часть брыжейки (связки) браншей раскрытого кровеостанавливающего зажима проводится вкол и, на некотором расстоянии – выкол, зажим закрывается. Через сформированные отверстия навстречу первому зажиму пропускается второй, он тоже закрывается. Затем брюшина и расположенные между ее листками сосуды рассекаются скальпелем или ножницами между зажимами. Под первым зажимом затягивается предварительный виток простого узла, в процессе его затягивания зажим раскрывается. Формируется фиксирующий виток, точно так же формируется узел под вторым зажимом, концы нитей обрезаются на минимальную длину.
При резекции тонкой кишки по поводу ее злокачественной опухоли мобилизацию целесообразно осуществлять клиновидным (сегментарным) способом – с удалением части брыжейки вместе с регионарными лимфатическими узлами. При резекции тонкой кишки по поводу некротического повреждения (например, при ущемленной грыже) обычно проводят краевую мобилизацию – на уровне прямых кишечных артерий или дистальных аркад. При определении уровня резекции от видимо поврежденного участка следует отступить в сторону приводящего и в сторону отводящего отдела 10-15 см (для того, чтобы быть уверенным, что для формирования анастомоза будут использованы заведомо неповрежденные участки кишки). Мобилизация желудка по большой кривизне предусматривает рассечение желудочно-ободочной связки (верхней части большого сальника). Мобилизация желудка по малой кривизне подразумевает рассечение печеночно-желудочной связки (части малого сальника). Печеночно-двенадцатиперстную связку можно только надсекать (для выделения ее содержимого), но эту связку нельзя рассекать, чтобы не повредить образования, расположенные между ее листками (желчные протоки, воротную вену и собственную печеночную артерию с ее ветвями). С целью временной остановки кровотечения из печени можно кратковременно пережать печеночно-двенадцатиперстную связку пальцами (после введения указательного пальца в сальниковое отверстие, расположенное позади этой связки). При этом происходит пережатие и собственной печеночной артерии, и воротной вены, поставляющей к печени около 75 % крови.
Наиболее часто выполняемыми этапами оперативных приемов абдоминальной хирургии являются:
-томия (рассечение);
-стомия (наложение свища или формирование соустья);
-рафия (ушивание);
-пексия (подшивание, фиксация);
-эктомия (полное удаление) и
резекция (удаление части).
Название операции определяется наименованием наиболее важного ее этапа. Так, гастротомия (рассечение желудка) может быть самостоятельной операцией (которая может применяться для удаления инородного тела из желудка), а может быть и этапом гастростомии (наложения свища на желудок) или резекции желудка.
Перед рассечением органов желудочно-кишечного тракта их следует подготовить к вскрытию. После осмотра и определения уровня резекции из резецируемой части органа отдавливают содержимое и по ее краям накладывают кишечные жомы. Между жомами часть органа должна быть мобилизована. Рассекать органы желудочно-кишечного тракта можно только между двумя рядом расположенными жомами, над салфеткой (чтобы инфицированное содержимое не попало в брюшную полость). Для рассечения органов желудочно-кишечного тракта обычно используют скальпель или лезвие, взятое на зажим, так как они являются менее травматичными инструментами по сравнению с ножницами. Однако слизистую на передней стенке органа можно рассекать ножницами, что уменьшает вероятность повреждения задней стенки органа. После удаления части органа проходимость желудочно-кишечного тракта восстанавливают путем формирования анастомоза. Использование при этом специальных сшивающих аппаратов позволяет значительно сократить время проведения операции. В большинстве случаев наиболее физиологичным анастомозом является анастомоз «конец в конец». После формирования, анастомоз следует проверить на герметичность и проходимость. Затем ушивают дефект брыжейки и по возможности изолируют сформированный анастомоз от переднебоковой стенки живота, так как соприкосновение поврежденных листков брюшины приводит к их спаиванию. В качестве естественной прокладки между поврежденными серозными поверхностями можно использовать большой сальник (поврежденная серозная поверхность, соприкасаясь с неповрежденной поверхностью, не спаивается с ней).
Обязательным этапом при проведении операций на органах брюшной полости является перитонизация, то есть для восстановление целостности серозного покрытия. Перитонизация предотвращает попадание патологического содержимого в брюшную полость. Обычно она обеспечивается наложением серо-серозных швов. При невозможности сопоставить края брюшины (например, из-за значительных размеров ложа желчного пузыря при холлецистэктомии) для перитонизации можно использовать лоскут большого сальника на питающей ножке. По завершении оперативного приема проводят контроль на гемостаз (на чистой, влажной салфетке после промокания ею операционного поля не должно оставаться следов крови), осмотр рядом расположенного содержимого, пересчитывают салфетки и инструменты и приступают к выполнению выхода из операции.
Выход из операции должен осуществляться послойно. Первый ряд швов накладывают на брюшину. Так как ее легко проколоть, для прокола брюшины используются только колющие иглы. При ушивании брюшины желательно использовать рассасывающийся шовный материал, так как края брюшины достаточно быстро склеиваются между собой. Использование на брюшину непрерывного шва (простого непрерывного или шва Мультановского) позволяет сэкономить время и шовный материал. Затем ушивают элементы среднего слоя с подхватом внутрибрюшной фасции и предбрюшинной клетчатки. Если требуется ушить мышцы, то иглу рационально использовать колющую, пинцет – анатомический или лапчатый, шовный материал – рассасывающийся. При этом можно использовать непрерывный шов. Если в качестве элемента среднего слоя ушивают белую линию живота, то более целесообразно использовать нерассасывающийся материал (из-за относительно длительного процесса заживления) и П-образные швы, позволяющие укрепить это слабое место. После этого накладывают шов на элементы поверхностного слоя: кожу, подкожную клетчатку и поверхностную фасции. Иглу при этом используют режущую (способную преодолевать значительное сопротивление тканей), пинцет – хирургический или лапчатый. В качестве кожного шва обычно используют простой узловой шов, в качестве шовного материала при этом часто используют достаточно толстый шелк. Если подкожная клетчатка в месте наложения шва достаточно толстая, то ее целесообразно ушить отдельно (с захватом поверхностной фасции), а на кожу наложить внутрикожный шов. Кроме того, на переднебоковой стенке живота можно использовать шов Донати.
^ КИШЕЧНЫЙ ШОВ. ПРИНЦИПЫ ФОРМИРОВАНИЯ АНАСТОМОЗОВ
Кишечные швы – это те швы, которые используются для ушивания стенки полых органов (не только кишки, но и пищевода, желудка, мочевого пузыря, мочеиспускательного канала, почечной лоханки и т.д.). Эти швы составляют особую группу и требования к кишечным швам предъявляются особые, а именно:
- асептичность («чистота», неинфицированность);
- гемостатичность;
- герметичность;
- сохранение проходимости органа в месте наложения шва.
Все полые органы имеют сходство строения своей стенки, которая состоит из следующих слоев: 1) наружное серозное (или адвентициальное) покрытие; 2) мышечный слой; 3) подслизистая основа; 4) слизистая оболочка. Наружное покрытие (серозная или адвентициальная оболочка) более или менее прочно сращено с мышечным слоем и составляет вместе с ним наружный футляр. Внутренний футляр полых органов представлен слизистой оболочкой вместе с подслизистой основой, благодаря которой слизистая обладает относительной подвижностью по отношению к наружному футляру. Слизистая оболочка желудочно-кишечного тракта не является стерильной, поэтому те швы, которые сопровождаются проколом слизистой, относятся к группе септичных (инфицированных, «грязных») швов. Наоборот, те швы, которые не сопровождаются проколом слизистой оболочки, объединяются в группу асептичных (неинфицированных, «чистых») швов. И те, и другие находят широкое применение. Основные сосуды в стенке полого органа сосредоточены в подслизистом слое, поэтому гемостатичностью обладают только те швы, которые сопровождаются подхватом подслизистой основы. Наибольшая гемостатичность присуща сквозным непрерывным швам, которые принято обозначать термином «гемостатичный шов». Кроме того, в зависимости от того, какие именно слои стенки полого органа подхватываются при наложении шва, их принято делить на:
- серо-серозные (адвентициально-адвентициальные);
- серозно- (или адвентициально-)-мышечные;
- серозно- (или адвентициально-)-мышечные с подхватом подслизистой основы;
- сквозные.

Рис. 1. Схема кишечных швов: 1 – серо-серозный шов; 2 – серозно-мышечный шов; 3 – серозно-мышечный шов с подхватом подслизистой основы; 4 – сквозной шов. Строение стенки полых органов: А – серозная оболочка; В – мышечный слой; С – подслизистая основа; D – слизистая.
Сквозные швы обладают наибольшей гемостатичностью, но являются «грязными». Первые три разновидности кишечного шва обладают «чистотой», но только те из них, которые сопровождаются подхватом подслизистой основы, являются относительно гемостатичными. Таким образом, возникает необходимость в объединении достоинств различных швов и нивелировании их недостатков. Для этого были предложены многорядные швы (обычно используются двух-, иногда – трехрядные). Однако многорядные швы имеют и недостатки по сравнению с однорядными. Так, они дольше накладываются, требуют большего расхода шовного материала, в большей степени травмируют стенку полого органа и, что особенно важно, могут сопровождаться непроходимостью полого органа в месте своего наложения, так как наложение каждого последующего ряда сопровождается погружением в просвет органа предыдущего ряда (он так и называется – погружной ряд). Кроме того, как и остальные швы, кишечные могут быть узловыми и непрерывными. Часто используются кишечные швы, которые принято называть по автору:
- шов Ламбера (однорядный, узловой, серо-серозный);
- скорняжный шов Шмидена (однорядный, непрерывный, сквозной,
вворачивающийся);
- шов Жоли (однорядный, простой непрерывный, сквозной);
- шов Пирогова (Бира или Пирогова-Бира) (однорядный, узловой,
серозно-мышечный с подхватом подслизистой основы);
- шов Матешука (однорядный, узловой, серозно-мышечный с
подхватом подслизистой основы и узелками вовнутрь);
- шов Черни (Черни-Пирогова) (двухрядный, первый ряд представлен швом Пирогова, а второй – швом Ламбера);
- шов Альберта (двухрядный, в котором погружной ряд представлен
сквозным швом (чаще всего – Жоли), а другой ряд – швом Ламбера).
Обычно под швом Альберта подразумевают шов, используемый для формирования задней стенки анастомоза. При этом вначале на задние (внутренние) губы анастомоза накладывается шов Ламбера, а уже затем – шов Жоли. Этот шов обладает гемостатичностью погружного ряда и «чистотой» шва Ламбера.

А Б
Рис. 2. А – схема двухрядного шва Черни (Черни-Пирогова), где 1 – погружной ряд шва Пирогова (Бира или Пирогова-Бира), а 2 – шов Ламбера.
Б – схема шва Матешука.

Рис. 3. Скорняжный вворачивающийся шов Шмидена.

Рис. 4. Схема двухрядного шва Альберта, где 1 – завязанный стежок шва Ламбера, 2 – сквозной шов.
Для того, чтобы наложить любой кишечный шов, необходимо иметь кишечную иглу (все кишечные иглы – колющие), чаще пользуются изогнутыми иглами, поэтому требуется иглодержатель, анатомический пинцет, ножницы (для обрезания концов нитей) и тонкий шовный материал (для погружных швов – можно использовать рассасывающийся материал, для швов Ламбера – нерассасывающийся). Для большей точности манипуляций иглодержатель рационально держать «в кулаке» (указательный палец возле самой иглы), а пинцет (анатомический) – в позиции «писчего пера», периодически переводя его в нерабочее положение. Как и другие, кишечные швы стараются накладывать в направлении «на себя» (от дальнего угла раны – к ближнему).
При наложении стежков шва Ламбера (см. рис. 1) от ближнего к руке с иглодержателем края раны вблизи от дальнего ее угла отступают 2-3 мм и, осуществляя вкол и выкол, подхватывают этот край за серозу и, частично, мышечный слой. Мышцу подхватывать обязательно, иначе шов не получится достаточно прочным. Затем, по возможности не перехватывая иглу иглодержателем точно так же подхватывают противоположный край раны. Всего осуществляется два вкола и два выкола, которые должны находиться на линии, перпендикулярной оси раны. Расстояние между стежками при наложении любого кишечного шва должно составлять 4-5 мм (!). Если шаг шва будет более 5 мм, то шов не будет обладать герметичностью (т.е. инфицированное содержимое из просвета кишки через линию шва может попасть в брюшную полость, что вызовет перитонит). Однако слишком часто накладывать стежки также не следует, так как это будет сопровождаться дополнительной травматизацией тканей (может привести к десерозированию, т.е. к отслойке серозного покрытия от мышечного слоя), излишними затратами времени и шовного материала. После того, как нить проведена через ткани кишечной стенки, концы ее связываются между собой. При этом можно воспользоваться простым (женским) узлом, а сам узел стараются сформировать у ближнего края раны. При завязывании узла в шве Ламбера края раны соприкасаются своими серозными поверхностями, поэтому шов и является серо-серозным. Концы нитей обрезаются с помощью ножниц (их следует держать таким образом, чтобы они не заслоняли узелок и позволили сформировать «усики» длиной 2-3 мм). Шов Ламбера обладает «чистотой», герметичностью (если правильно соблюдено расстояние между стежками), проходимость органа в месте наложения этого шва должна оцениваться индивидуально для каждого случая, но гемостатичность этому шву не свойственна.
Шов Шмидена (см. рис. 3) является «гемостатичным» швом и обладает относительной асептичностью благодаря тому, что при затягивании этого шва края раны вворачиваются в просвет полого органа и склеиваются между собой благодаря выпоту фибрина (инфицированная часть оказывается погруженной вовнутрь). Чтобы наложить такой шов, необходимо последовательно подхватывать края раны изнутри наружу, т.е. со стороны слизистой оболочки. В качестве единственного ряда шов Шмидена могут использовать только опытные хирурги, при этом обязательным является применение атравматичной иглы.
Шов Пирогова (Бира) (см. рис. 2) обладает асептичностью и относительной гемостатичностью, герметичность его обеспечивается соблюдением оптимального шага между стежками в 4-5 мм. Достоинством этого шва является то, что его наложение не сопровождается вворачиванием краев раны и сужением просвета полого органа. Чтобы выполнить стежок этого шва, необходимо осуществить вкол через серозу ближнего к руке с иглодержателем края раны, а выкол – через подслизистую основу. Затем противоположный край раны на том же уровне подхватывается через подслизистую, а выкол осуществляется через серозу. Концы нити связываются между собой с формированием узелка, смещенного к одному краю раны. Однако оказалось, что в процессе заживления раны узелок проворачивается вовнутрь и оставляет за собой раневой канал, через который инфекция может распространиться за пределы полости органа (при недостаточно точном сопоставлении слоев между собой). Поэтому поверх шва Пирогова обычно накладывают ряд швов Ламбера (в результате получается двухрядный шов Черни, который более надежен в плане асептичности, но сопровождается сужением просвета полого органа, большей затратой времени и шовного материала). Кроме того, было предложено изначально формировать узелки обращенными в просвет полого органа (шов Матешука). Для этого первый вкол должен осуществляться через подслизистую, выкол – через серозу, а затем: вкол – через серозу противоположного края раны, выкол – через подслизистую. Этот шов обладает всеми достоинствами шва Пирогова, если не считать некоторых затруднений при завязывании последних узлов.
Шов Жоли является типичным «гемостатичным» швом, достоинствами которого являются быстрота наложения и экономия шовного материала. Основной недостаток этого шва состоит в том, что он «грязный». Поэтому использовать его можно только в качестве погружного ряда.
Шов Альберта (см. рис. 4) обладает гемостатичностью погружного ряда и «чистотой» шва Ламбера. Герметичность его обеспечивается соблюдением оптимального расстояния между стежками и наличием двух рядов швов. Недостатки этого шва по сравнению с однорядными швами состоят в дополнительном расходе времени и шовного материала, а также – в сужении просвета полого органа.
Кроме уже описанных кишечных швов довольно широкое применение находят кисетный и Z-образный шов. Если иглой подхватывать серозный и мышечный слои, то эти швы будут обладать асептичностью.
С помощью кишечных швов можно формировать анастомозы (соустья) между полыми органами. Выделяют три типа анастомозов:
1) «конец в конец» (на лат. - anastomosis terminoterminalis, по англ. - «end to end»);
2) «бок в бок» (anast. laterolateralis, «sait to sait»);
3) «конец в бок» (anast. terminolateralis, «end to sait»).
Наиболее физиологичным является анастомоз «конец в конец» (за исключением резекции илеоцекального угла). Однако значительное несоответствие диаметров приводящего и отводящего отделов, а также угроза непроходимости анастомоза (особенно, при использовании двухрядного шва) ограничивают его применение.
При формировании анастомоза принято выделять следующие его элементы: внутренние (задние) губы – это те края раны, после сшивания которых между собой образуется задняя стенка анастомоза, и наружные (передние) губы – после сшивания которых формируется передняя стенка. Начинают формирование любого типа анастомоза всегда с задней стенки. Ряды швов должны следовать в направлении сзади наперед. Если хирург использует двухрядные швы для формирования обеих стенок анастомоза, то первым между швами-держалками накладывается ряд асептического шва (чаще всего – шов Ламбера) на задние губы анастомоза. Затем те же губы (уже сопоставленные) ушиваются швом, который должен обеспечивать гемостатичность (чаще всего – швом Жоли). После этого приступают к сшиванию передних губ анастомоза швом Шмидена или другим швом, обеспечивающим гемостатичность по передней стенке анастомоза. И в заключение, после обработки линии предыдущего шва раствором антисептика, смены перчаток и инструмента, приступают к наложению последнего ряда – асептического шва (чаще всего – Ламбера). После формирования анастомоза его обязательно нужно проверить на проходимость и герметичность. Проверка на проходимость осуществляется пальпаторно (за счет инвагинации стенок приводящего и отводящего отделов кишки). Проверка на герметичность проходит путем продавливания жидкого содержимого от приводящего к отводящему отделу. Во время таких операций в обязательном порядке необходимо осуществлять профилактику спаечной болезни. Для этого нужно периодически поливать кишку теплым физиологическим раствором, не допуская потери блеска. В противном случае происходит выпот фибрина и если две такие поверхности соприкоснутся, то между ними образуется спайка.

Рис. 5. Схема различных типов кишечных анастомозов: А – «конец в конец», В – «бок в бок», С – «конец в бок», где 1 – внутренние (задние) губы анастомоза, а 2 – наружные (передние) губы анастомоза.
^ ОПЕРАЦИИ НА ЖЕЛУДКЕ
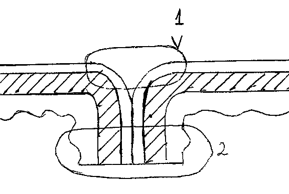
К распространенным операциям, выполняемым на желудке, относятся резекция (удаление части) желудка и гастростомия (наложение свища на желудок). При резекции желудка в качестве оперативного доступа чаще всего используют верхнюю срединную лапаротомию, так как она позволяет обеспечить доступ не только к желудку, но и к двенадцатиперстной кишке. В зависимости от того, какую часть желудка удаляет хирург, выделяют физиологическую резекцию (с удалением ½ части органа), резекцию 2/3 и субтотальную резекцию (при которой удаляют ¾ органа). Эти резекции в основном отличаются друг от друга уровнем перевязки левой желудочно-сальниковой артерии. Начинают оперативный прием (после проведения ревизии и изоляции) с мобилизации по большой кривизне желудка. Для этого рассекают желудочно-ободочную связку и перевязывают левую и правую желудочно-сальниковые артерии. Даже при субтотальной резекции желудка желудочно-селезеночную связку не рассекают, чтобы не повредить короткие желудочные артерии, оставляемые для обеспечения кровоснабжения оставляемой части желудка. При физиологической резекции 1/3 часть желудочно-ободочной связки также не рассекают (с ее левой стороны) и левую желудочно-сальниковую артерию перевязывают на наиболее дистальном уровне. После проведения мобилизации по большой кривизне желудка приступают к мобилизации по малой кривизне, сопровождающейся рассечением печеночно-желудочной связки и перевязкой ветвей левой и правой желудочных артерий. На выбранном уровне пересекают желудок и отделяют его от двенадцатиперстной кишки. Делать это можно только между наложенными жомами, что не позволяет содержимому полых органов попасть в брюшную полость. Культя желудка частично ушивается с использованием вначале сквозного шва, обеспечивающего гемостатичность, а затем – ряда чистого (асептичного) шва. Использование специальных аппаратов (УКЖ – ушиватель культи желудка) позволяет значительно сократить продолжительность операции. Для восстановления проходимости желудочно-кишечного тракта после удаления части желудка необходимо сформировать анастомоз. В зависимости от того, какой анастомоз формирует хирург при этой операции, выделят резекцию желудка по Бильрот-1 и по Бильрот-2. Резекция по Бильрот-1 предусматривает формирование наиболее физиологичного анастомоза - гастродуоденального, по типу «конец в конец». К сожалению, этот анастомоз не всегда применим. Наличие натяжения между оставшимися частями желудка и двенадцатиперстной кишки, а также угроза непроходимости анастомоза (из-за малого диаметра двенадцатиперстной кишки) не позволяют использовать гастродуоденостомию. В таких случаях Бильрот предложил формировать передний впередиободочный гастроеюноанастомоз по типу «бок в бок». Эта операция является классическим вариантом Бильрот-2. В настоящее время более широко используют резекцию Бильрот-2 в модификации Гофмейстера-Финстерера. Эта модификация сходна с классическим вариантом Бильрот-2 тем, что формируется гастроеюноанастомоз, но отличается тем, что этот анастомоз накладывается по типу «конец в бок». Такое усовершенствование позволяет сэкономить время, затрачиваемое на полное ушивание культи желудка, и сопровождается меньшей травматизацией желудка, так как не приходится дополнительно рассекать его переднюю стенку. Таким образом, характерной особенностью резекции желудка по Бильрот-2 в модификации Гофмейстера-Финстерера является формирование позадиободочного гастроеюноанастомоза по типу «конец в бок». Одной из особенностей проведения резекции желудка по способу Бильрот-2 (включая модификации этой операции) является необходимость формирования культи двенадцатиперстной кишки. Первый ряд швов при этом должен обеспечивать гемостатичность (этот ряд – сквозной), а второй – асептичность. При формировании любого типа анастомоза вначале формируют его заднюю стенку (первый ряд – асептичный, второй – гемостатичный на внутренние губы анастомоза), а затем – заднюю стенку (первый ряд – гемостатичный, второй – асептичный на наружные губы анастомоза). Перед наложением последнего (асептичного) ряда швов предыдущий ряд обрабатывают антисептиком, меняют перчатки и инструменты для соблюдения принципа асептичности. После формирования анастомоза его проверяют на герметичность и проходимость. При проведении резекции по способу Бильрот-2 формируют «шпору» для предотвращения попадания желудочного содержимого в двенадцатиперстную кишку. Для этого подтягивают приводящий отдел тощей кишки вверх путем подшивания его к культе желудка в направлении малой кривизны. При этой же операции необходимо ушить дефект брыжейки поперечной ободочной кишки, чтобы другая петля тонкой кишки не могла попасть в верхний этаж брюшной полости и ущемиться.
Гастростомию применяют в тех случаях, когда пациент не может питаться через рот. Гастростомии делятся на временные и постоянные. Временная гастростомия направлена на формирование трубчатого свища, когда пациент временно не может питаться через естественные пути, например, при рубцовом ожоге пищевода. К временным гастростомиям относятся способы Витцеля и Штамма-Сенна-Кадера. Постоянная гастростомия направлена на формирование постоянного (губовидного) свища и применяется при неоперабельных опухолях желудка или пищевода. К постоянным гастростомиям относиться способ Топровера. При выполнении любой гастростомии в качестве оперативного доступа обычно пользуются верхней левосторонней трансректальной лапаротомией, в результате выполнения которой хирург попадает в преджелудочную сумку. Гастростомия по Витцелю отличается от гастростомии по Штамму-Сенну-Кадеру способом фиксации трубки к передней стенке желудка. По Витцелю с помощью серо-серозных швов для трубки формируется канал, расположенный вдоль оси желудка, конец трубки погружается в полость желудка и фиксируется затягиванием единственного кисетного шва. Второй конец трубки выводится на переднебоковую стенку живота через контрапертуру, выполняемую по наружному краю левой прямой мышцы живота. Обязательным этапом любой гастростомии является гастропексия (подшивание передней стенки желудка к внутренней поверхности переднебоковой стенки живота). Гастропексия направлена на устранение подвижности желудка в передне-заднем направлении, так как желудок, сместившись кзади, может потянуть за собой трубку, наружная часть которой может занести с собой инфекцию в брюшную полость. Таким образом, гастропексия выполняется для профилактики перитонита. При гастростомии по Штамму-Сенну-Кадеру в области дна желудка накладывают нескольких кисетных швов, один внутри другого. В центре внутреннего кисета делают разрез, соответствующий диаметру трубки (гастротомия), вставляют трубку и затягивают кисеты (вначале – внутренний, затем – наружные). Таким образом из передней стенки желудка формируется для трубки канал, обращенный в просвет органа. Способ Штамма-Сенна-Кадера обычно используется при выполнении гастростомии у детей, так желудок ребенка имеет меньшие размеры, что затрудняет использование методики Витцеля. Гастростомия по Топроверу схожа с гастростомией по Штамму-Сенну-Кадеру использованием нескольких кисетных швов для вормирования канала из передней стенки желудка. Однако эти операции отличаются тем, что при гастростомии по Топроверу кисетные швы затягиваются в обратной последовательности (вначале – наружный, затем – внутренние), в результате чего формируемый канал оказывается обращенным к переднебоковой стенке живота, а не в просвет желудка. При гастростомии по Топроверу слизистая желудка подшивается непосредственно к краям кожной раны, сам губовидный свищ представляет из себя незаживающую рану, так как слизистые поверхности при соприкосновении не срастаются. Перед кормлением с этой раны снимается асептическая повязка, в нее вводится трубка, попадающая в просвет желудка, через трубку вводится питательный раствор, затем трубка вынимается, а на рану опять накладывается асептическая повязка. Эластика прямой мышца живота способствует тому, что края такой раны находятся в сведенном состоянии,- это препятствует истечению содержимого желудка наружу.
Заключение. Знание особенностей топографической анатомии брюшной полости позволяет принять правильное решение не только хирургам, но и врачам других специализаций. Понимание принципов абдоминальной хирургии, умение сравнивать различные разновидности кишечных швов способствует формированию клинического мышления врача.
^ СПИСОК ИСПОЛЬЗОВАННОЙ ЛИТЕРАТУРЫ
- Большаков О.П., Семенов Г.М. Лекции по оперативной хирургии и клинической анатомии.- СПб: Изд. «Питер», 2000.- 480 с.
- Кульчицкий К.И. Лекции по оперативной хирургии и топографической анатомии.- Киев-Полтава, 1992.- 245 с.
- Оперативная хирургия / Под общ. Ред. И.Литтманна.- 2-е изд. на рус. яз.- Будапешт; Изд. АН Венгрии, 1982.- 1175 с.
- Оперативная хирургия и топографическая анатомия / Под ред. Кованова В.В.- 3-е изд. с испр.- М.: Медицина, 1995.- 400 с.
- Оперативна хірургія і топографічна анатомія: Підручник / Кульчицький К.І., Ковальський М.П., Дітковський А.П. та ін.; За ред. Кульчицького К.І.- Київ: Вища шк., 1994.- 464 с.
- Оперативная хирургия и топографическая анатомия: Учебник / Островерхов Г.Е., Бомаш Ю.М., Лубоцкий Д.Н.- 4-е изд. доп.- Ростов-на-Дону: Феникс, 1998.- 720 с.
- Оперативна хірургія і топографічна анатомія: Підручник / За ред. Скрипнікова М.С.- Київ: Вища шк., 2000.- 504 с.
- Оперативна хірургія: хірургічні операції та маніпуляції: Підручник / Свистонюк І.У., Пішак В.П., Лютик М.Д., Ахтемійчук Ю.Т.; За ред. І.У.Свистонюка.- К.: Здоров’я, 2001.- 367 с.
- Практикум по оперативной хирургии с топографической анатомией / под ред. проф.Т.В.Семеновой и проф.Н.С.Скрипникова.- Донецк, 1999.- 232 с.
- Семенова Т.В. Клиническая анатомия и оперативная хирургия: Курс лекций.- Донецк, 2008.- 376 с.
Лектор, доцент каф. опер. хирургии и
топографической анатомии, к.мед.н. Д.В.Сироид
