Книга вторая Дж. Эдвард Морган-мл. Мэгид С. Михаил Перевод с английского
| Вид материала | Книга |
- Книга первая Дж. Эдвард Морган-мл. Мэгид С. Михаил Перевод с английского, 10010.77kb.
- А. Конан-Дойль новоеоткровени е перевод с английского Йога Рàманантáты, 2314.23kb.
- Copyright Сергей Александровский, перевод с английского Email: navegante[a]rambler, 619.61kb.
- "книга непрестанности осириса " 177, 7373.41kb.
- Н. М. Макарова Перевод с английского и редакция, 4147.65kb.
- Трудового Красного Знамени гупп детская книга, 2911.61kb.
- Трудового Красного Знамени гупп детская книга, 2911.77kb.
- Уайнхолд Б., Уайнхолд Дж. У 67 Освобождение от созависимости / Перевод с английского, 11462.2kb.
- Малиновской Софьи Борисовны Специальность: журналистика Специализация: художественный, 969.08kb.
- Духовные истины в психических явлениях перевод с английского 3-е издание Москва «Философская, 1557.75kb.
используют для оценки кислородного баланса (доставка/потребность). В норме ИДДВ/ИНВ > 1. ИДДВ/ИНВ < 0,7 свидетельствует об субэндокар-диальной ишемии.
^ Патофизиология сердечной недостаточности
Под систолической сердечной недостаточностью понимают неспособность сердца перекачивать кровь в количестве, необходимом для удовлетворения метаболических потребностей организма. Ее клинические проявления обусловлены низким
сердечным выбросом (усталость, кислородная задолженность, ацидоз) и/или застоем крови в венах большого или малого круга кровообращения. Чаще всего наблюдается левожелудочковая недостаточность, к которой впоследствии нередко присоединяется и вторичная — правоже луд очковая. Изолированная правожелудочковая недостаточность возникает при обширном поражении легочной паренхимы или сосудов легких. Наиболее распространенная причина левожелудочковой недостаточности — первичная дисфункция миокарда, чаще всего, в результате ИБС. Кроме того, к левожелудочковой недостаточности могут приводить пороки сердца, аритмии и заболевания перикарда.
Диастолическая дисфункция, результатом которой является предсердная гипертензия, также может вызвать развитие сердечной недостаточности (рис. 19-13). Наиболее распространенные причины диастолической дисфункции включают артериальную гипертензию, ИБС, гипертрофическую кардиомиопатию и заболевания перикарда. Симптомы сердечной недостаточности возникают и при изолированной диастолической дисфункции, хотя обычно ей сопутствует систолическая.
При большинстве форм сердечной недостаточности сердечный выброс снижен. ^ Низкое напряжение кислорода в смешанной венозной крови и высокая артериовенозная разница по кислороду отражают неадекватную доставку кислорода к тканям (гл. 22). При компенсированной сердечной недостаточности артериовенозная разница может быть нормальной в покое, но способна резко возрастать при стрессе или физической нагрузке.
Значительно реже сердечная недостаточность протекает с повышенным сердечным выбросом. Такая форма обычно встречается при сепсисе и других гиперметаболических состояниях, для которых характерно низкое ОПСС.

Рис. 19-13. Левый желудочек: диаграмма "давление-объем" при изолированной систолической или диастолической дисфункции. (С изменениями. Из: ZiIe M. R. Mod. Concepts Cardiovasc. Dis., 1990; 59: 1.)
^ Компенсаторные механизмы
Основные компенсаторные механизмы при сердечной недостаточности включают увеличение пред-нагрузки, повышение симпатического тонуса, активацию системы <(ренин-ангиотензин-альдо-стерон", высвобождение АДГ и гипертрофию желудочков. Эти механизмы первоначально компенсируют легкую и среднетяжелую дисфункцию желудочков, но при прогрессировании сердечной недостаточности они усугубляют нарушения работы сердца.
^ Увеличение преднагрузки
Увеличение размера желудочка не только отражает его неспособность справляться с венозным возвратом, но также позволяет максимально повысить ударный объем, сдвигая сердце вверх по кривой Старлинга (рис. 19-5). Даже если фракция выброса снижена, увеличение конечно-диастолического объема желудочка позволяет поддержать нормальный ударный объем. Нарастание венозного застоя, обусловленное скоплением крови перед пораженным желудочком и чрезмерным перерастяжением желудочка, может быстро привести к клиническому ухудшению. Левожелудочковая недостаточность приводит к застою крови в легочных сосудах и прогрессирующему пропотеванию жидкости — сначала в легочный интерстиций, а затем и в альвеолы (отек легких). Правожелудочковая недостаточность обусловливает венозный застой в большом круге кровообращения, что, в свою очередь, вызывает возникновение периферических отеков, венозного полнокровия и дисфункции печени, а также асцита. Дилатация фиброзного кольца ат-риовентрикулярного клапана — причина регурги-тации крови во время систолы желудочка, которая еще больше снижает сердечный выброс.
^ Повышение симпатического тонуса
Симпатическая активация усиливает высвобождение норадреналина из нервных окончаний в сердце и секрецию адреналина надпочечниками. Как правило, концентрация катехоламинов в плазме прямо пропорциональна степени левожелудочковой дисфункщш. Первоначально повышение симпатического тонуса нормализует сердечный выброс за счет увеличения ЧСС и сократимости, в дальнейшем прогрессирующее ухудшение функции желудочка приводит к компенсаторной вазоконст-рикции, позволяющей поддержать артериальное давление. Обусловленное вазоконстрикцией увеличение постнагрузки снижает сердечный выброс и усугубляет недостаточность желудочка.
Постоянная симпатическая активация при сердечной недостаточности в конце концов уменьшает чувствительность адренорецепторов к кате-холаминам, число этих рецепторов и запасы катехоламинов в сердце. Вместе с тем сердце при недостаточности становится все более зависимым от циркулирующих в крови катехоламинов. Резкое прекращение симпатической импульсации или снижение концентрации катехоламинов в крови (например, при индукции анестезии) может вызвать развитие острой сердечной декомпенсации. Снижение плотности м-холинорецепторов уменьшает эффекты парасимпатической иннервации на сердце.
Симпатическая стимуляция приводит к перераспределению кровотока от кожи, почек, кишечника и скелетных мышц к сердцу и мозгу. Уменьшение перфузии почек наряду со стимуляцией P1-адренорецепторов юкстагломерулярного аппарата активирует систему "ренин-ангиотензин-альдостерон" (гл. 28), что вызывает задержку натрия и возникновение интерстициального отека. Более того, вазоконстрикция, обусловленная увеличением концентрации ангиотензина II, увеличивает постнагрузку на левый желудочек и еще больше ухудшает систолическую функцию. Последний феномен объясняет причину эффективности при сердечной недостаточности ингибиторов ангиотензинпревращающего фермента.
При тяжелой сердечной недостаточности концентрация АДГ в крови часто превышает норму вдвое, что приводит к увеличению постнагрузки на левый желудочек, а также нарушает клиренс свободной воды. Как следствие — возникает гипо-натриемия (гл. 28).
^ Предсердный натрийуретический пептид находится преимущественно в ткани предсердия. Этот гормон высвобождается в ответ на растяжение предсердий, что рассматривается как благоприятный эффект при сердечной недостаточности. Данный пептид является мощным вазодилатато-ром, противодействующим эффектам ангиотензина, альдостерона и АДГ.
^ Гипертрофия желудочков
Будет ли сопровождаться гипертрофия желудочка дилатацией, зависит от типа перегрузки. При перегрузке объемом или давлением первоначальная реакция желудочка состоит в увеличении длины сар-комеров с целью обеспечения оптимального перекрытия нитей актина и миозина. Со временем в ответ на перегрузку масса миокарда желудочка начинает расти.
Перегрузка объемом характеризуется увеличением напряжения в стенке желудочка во время
диастолы. Возрастание массы миокарда желудочка оказывается достаточным для компенсации увеличения его диаметра: отношение радиуса желудочка к толщине стенки остается постоянным. Репликация саркомеров происходит последовательно, и это приводит к эксцентрической гипертрофии. Фракция выброса желудочка остается сниженной, но повышение конечно-диастолического объема позволяет в покое поддерживать нормальный ударный объем (и сердечный выброс).
Перегрузка давлением характеризуется увеличением напряжения в стенке желудочка во время систолы. В этом случае репликация саркомеров происходит параллельно, следствием чего является концентрическая гипертрофия. При этом отношение толщины стенки миокарда к радиусу желудочка увеличивается и, согласно закону Лапласа (с. 17), систолическое напряжение в стенке желудочка нормализуется. Гипертрофия желудочка, особенно если она вызвана перегрузкой давлением, как правило приводит к прогрессирующей диасто-лической дисфункции.
^ Случай из практики: укорочение интервала PQ
Мужчине, 38 лет, в связи с недавно начавшимися головными болями планируется эндоскопическое вмешательство на придаточных пазухах носа. При опросе выяснилось, что во время одного из приступов головной боли у него был обморок. Предоперационная ЭКГ не выявила отклонений, за исключением укорочения интервала PQ до 0,116 с при нормальной морфологии зубца P.
^ Какова клиническая значимость укорочения интервала PR?
Интервал PQ измеряется от начала зубца P до начала желудочкового комплекса QRS (зубца Q или R). В норме интервал PQ соответствует периоду от начала деполяризации предсердий до начала деполяризации желудочков, т. е. отражает распространение возбуждения по предсердиям, АВ-узлу, пучку Гиса и волокнам Пуркинье. Длительность интервала PQ зависит от ЧСС и в норме варьируется от 0,12 до 0,2 с. Патологическое укорочение интервала PQ может наблюдаться либо при ниж-непредсердных или АВ-узловых ритмах, либо при преждевременном возбуждении желудочков. Эти состояния можно дифференцировать по морфологии зубца P: при нижнепредсердном ритме деполяризация предсердий происходит ретроградно, так что зубец P в отведениях II, III и aVF становится
отрицательным; в случае преждевременного возбуждения желудочков зубцы P имеют нормальную форму при синусовом ритме. При АВ-узловом ритме зубец P может сливаться с комплексом QRS или следовать за ним.
^ Что такое преждевременное возбуждение желудочков?
Преждевременное возбуждение желудочков вызвано наличием аномального дополнительного пути проведения электрического импульса от предсердий к желудочкам. Иногда таких путей несколько. Наиболее распространенная форма предварительного возбуждения обусловлена присутствием дополнительного пути (пучка Кента), который связывает одно из предсердий с одним из желудочков. В этом случае электрические импульсы могут обходить АВ-узел (отсюда термин — обходной тракт). Способность проводить импульсы по дополнительному пути изменчива, она может иметь перемежающийся характер или зависеть от ЧСС. Проведение импульса по дополнительному пути возможно: в обоих направлениях, только ретроградно (от желудочка к предсердию) или, реже, только антероградно (от предсердия к желудочку). Преждевременное возбуждение желудочка, сопряженное с тахиаритмией, часто называют синдромом Вольфа-Паркинсона-Уайта (или синдромом WPW — по начальным буквам фамилий описавших его исследователей).
^ Почему при преждевременном возбуждении желудочков интервал PR укорочен?
При преждевременном возбуждении желудочков сердечные импульсы, генерируемые синусовым узлом, проводятся одновременно по нормальным (через АВ-узел) и аномальным (через обходной тракт) путям. Проведение по аномальному пути происходит намного быстрее, чем через АВ-узел, поэтому импульсы быстрее достигают области желудочка, где заканчивается обходной тракт, и деполяризуют ее. Ранняя деполяризация желудочка проявляется укорочением интервала PQ и деформацией начальной части комплекса QRS (дельта волна). Распространение импульса, проведенного по обходному тракту, в остальную часть желудочка задерживается, поскольку в дальнейшем он распространяется по обычной мышце желудочка, а не по гораздо более быстрым волокнам Пуркинье. Поэтому импульс, проведенный через АВ-узел, "перегоняет" импульс, проведенный по дополнительному пути, и деполяризует оставшуюся часть желудочка. В результате возникает немно-
го расширенный сливной комплекс QRS, обусловленный взаимным наложением нормальной и патологической деполяризации желудочков.
Продолжительность интервала PQ при преждевременном возбуждении желудочков зависит от соотношения времени проведения через АВ-узел и через дополнительный путь. Если проведение через АВ-узел относительно быстрое, то преждевременное возбуждение желудочка (и, соответственно, дельта-волна) выражено слабее и длительность комплекса QRS близка к норме. Если проведение через АВ-узел относительно медленное, то преждевременное возбуждение желудочков выражено сильнее, и значительная часть желудочка будет деполяризована импульсом, проведенным по аномальному пути. При полной блокаде пути через АВ-узел весь желудочек деполяризуется по дополнительному пути. Это проявляется очень сильным укорочением интервала PQ, выраженной дельта-волной и широким деформированным комплексом QRS. Другие факторы, способные влиять на степень преждевременного возбуждения, включают: время проведения импульса между предсердиями, расстояние от синусового узла до предсерд-ного конца дополнительного пути, а также тонус вегетативной нервной системы. При левом латеральном обходном тракте (такое расположение встречается чаще всего) PQ-интервал нередко нормален или лишь незначительно укорочен. Преждевременное возбуждение желудочков сильнее проявляется при тахикардии, поскольку с увеличением ЧСС проведение через АВ-узел замедляется. Высокая распространенность вторичных изменений сегмента ST и зубца T объясняется патологической реполяризацией желудочков.
^ Какова клиническая значимость преждевременного возбуждения желудочков?
Преждевременное возбуждение желудочков отмечается приблизительно у 0,3 % населения. У 20-50 % из них развиваются пароксизмальные тахи-аритмии. Хотя в большинстве случаев иной патологии сердца нет, преждевременное возбуждение желудочков может сочетаться с аномалией Эбштейна, пролапсом митрального клапана и кар-диомиопатиями. В зависимости от проводящих свойств, наличие дополнительного пути влечет за собой повышенный риск возникновения тахи-аритмий и даже внезапной смерти. Тахиаритмии включают реципрокную АВ-тахикардию, мерцательную аритмию и, реже, трепетание предсердий. Предсердная экстрасистола, распространяясь по дополнительному пути проведения в критичес-
кий момент и деполяризуя желудочек в уязвимый период, может спровоцировать фибрилляцию желудочков. При мерцательной аритмии очень быстрое проведение импульсов в желудочки по дополнительному пути способно стать причиной ишемии, гипоперфузии и гипоксии миокарда и в конце концов спровоцировать возникновение фиб-рилляции желудочков.
Распознавание преждевременного возбуждения желудочков важно еще и потому, что присущая этому состоянию морфология комплекса QRS иногда напоминает ЭКГ-картину блокады ножки пучка Гиса, гипертрофии правого желудочка, ишемии и инфаркта миокарда, желудочковой тахикардии (на фоне мерцательной аритмии).
^ В чем состоит клиническая значимость обморока в анамнезе этого больного?
Перед операцией пациента необходимо проконсультировать у кардиолога, который определит потребность в проведении электрофизиологического обследования и периоперационной антиаритмической терапии. Электрофизиологическое исследование позволяет идентифицировать локализацию дополнительных путей проведения, достоверно предсказать риск возникновения опасных для жизни аритмий (с помощью программируемой электрокардиостимуляции), определить эффективность антиаритмической терапии, а также выявить необходимость чрескожной катетерной или хирургической деструкции дополнительного пути. Обморок в анамнезе — опасный симптом, указывающий на возможность очень быстрого проведения импульсов по дополнительному пути, что ведет к системной гипоперфузии и служит фактором риска внезапной смерти.
В ходе предоперационной подготовки у больного с преждевременным возбуждением желудочков необходимо установить потребность в электрофизиологическом обследовании и периоперационной антиаритмической терапии; в них не нуждаются пациенты с редкими бессимптомными эпизодами тахиаритмии. При рецидивирующих тахиаритми-ях, а также при аритмиях, сопровождающихся выраженными клиническими проявлениями, требуются антиаритмическое лечение и тщательное обследование больного.
^ Как возникают тахиаритмии?
Тахиаритмии развиваются или из-за формирования патологического сердечного импульса, или вследствие аномального распространения импульса (обратный вход волны возбуждения, риентри). Ано-
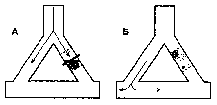
мальные импульсы возникают при усилении автоматизма, аномальном автоматизме и триггерной активности. В норме способностью к спонтанной диа-столической деполяризации обладают только клетки синусового узла, специализированных проводящих путей предсердий, АВ-соединения, пучка Гиса и волокон Пуркинье. Поскольку максимальная скорость диастолической деполяризации (фаза 4) присуща клеткам синусового узла, другие центры автоматизма подавляются. При усиленном или патологическом автоматизме функция водителя ритма может перейти от синусового узла к другим областям, и это влечет за собой риск возникновения тахиаритмий. Триггерная активность — это результат ранней следовой деполяризации (фаза 2 или 3) или отсроченной следовой деполяризации (после фазы 3). Она состоит в низкоамплитудной деполяризации, которая может возникать при некоторых состояниях после потенциалов действия в предсердиях, желудочках, пучке Гиса и волокнах Пуркинье. Если при следовой деполяризации достигается пороговый потенциал, то возникает экстрасистола или рецидивирующая устойчивая тахиаритмия. К факторам, которые способствуют формированию аномального импульса, относят повышенную концентрацию катехоламинов, электролитные расстройства, ишемию и гипоксию миокарда, растяжение камер сердца и токсическое действие лекарственных препаратов (особенно дигоксина). Наиболее распространенный механизм развития тахиаритмий — обратный вход волны возбуждения (риентри). Для возникновения и поддержания патологической циркуляции волны возбуждения по механизму риентри необходимы четыре условия (рис. 19-14): две области в миокарде, различающиеся по проводимости или рефрактерности, которые способны образовать замкнутую электрическую цепь; однонаправленная блокада какого-либо из путей проведения (рис. 19-14А-Б); медленное проведение или достаточная длина контура, так что проведение импульса по ранее блокированному пути успело восстановиться (рис. 19-14В); распространение возбуждения по ранее блокированному пути, замыкающее петлю циркуляции (рис. 19-14Г). Аритмия по механизму риентри обычно запускается экстрасистолой.
^ Каков механизм реципрокной тахикардии у больных с синдромом Вольфа-Паркинсона-Уайта?
Если обходной тракт рефрактерен при антеро-градном проведении сердечного импульса (например, во время предсердной экстрасистолы, попавшей в критический период) и импульс про-
водится через АВ-узел, то этот же импульс может быть проведен ретроградно из желудочка назад в предсердие по обходному тракту. Ретроградный импульс способен затем деполяризовать предсердие и через АВ-узел распространиться на желудочки, замкнув таким образом контур. Импульс перемещается между предсердиями и желудочками: в одном направлении он проходит через АВ-узел, в другом — через дополнительный путь. В этой связи применяют термин скрытое проведение, так как вследствие отсутствия преждевременного возбуждения желудочков данная форма аритмии характеризуется нормальным комплексом QRS без дельта-волны.
Реже при реципрокной тахиаритмий возникает антероградное проведение по дополнительному пути и ретроградное проведение через АВ-узел. В этом случае имеется дельта-волна, а комплекс QRS деформирован, поэтому аритмию по ошибке иногда принимают за желудочковую тахикардию.
^ Каковы особенности мерцательной аритмии при синдроме Вольфа-Паркинсона-Уайта?

Рис. 19-14. Механизм возникновения реципрокной аритмии (т. е. механизм риентри)
При данном синдроме мерцательная аритмия может возникать в тех случаях, когда сердечный импульс быстро проводится ретроградно в предсердия и достигает их по завершении рефрактер-ного периода. Как только мерцательная аритмия становится устойчивой, возбуждения проводятся в желудочек чаще всего исключительно через до-

полнительный путь. В отличие от АВ-узла, дополнительный путь способен проводить импульсы с очень высокой скоростью, поэтому ЧСС нередко достигает 180-300/мин. Большинство комплексов QRS деформировано, но время от времени импульс проводится к желудочкам через АВ-узел, что отражается периодическим появлением нормальных комплексов QRS. Реже при мерцательной аритмии импульсы к желудочкам проводятся в основном через АВ-узел (комплексы QRS в большинстве нормальны) или как через дополнительный путь, так и через АВ-узел (нормальные, сливные и деформированные комплексы QRS).
^ Какие анестетики рекомендуется
использовать у пациентов
с преждевременным возбуждением
желудочков?
Согласно результатам немногочисленных исследований, позволяющих сравнивать различные анестетики и методики анестезии у больных с преждевременным возбуждением желудочков, допустимо применять практически все ингаляционные и неингаляционные анестетики. Ингаляционные анестетики увеличивают антероградную рефрактерность как нормальных, так и патологических путей проведения (энфлюран > изофлюран > галотан).
^ ТАБЛИЦА 19-6. Классификация антиаритмических препаратов
| Класс Механизм действия | Лекарственный препарат | Нагрузочная доза, в/в |
| I Блокада быстрых натриевых каналов; умень- | | |
| шение наклона фазы О (наклон фазы О = Vmax) | | |
| Ia Умеренное снижение Vmax, увеличение дли- | Хинидин1'2'3 | HP (5- 10 мг/кг) |
| тельности потенциала действия (ДПД) | Прокаинамид1 3 | 5- 10 мг/кг |
| | Дизопирамид1'3 | нд |
| Ib Минимальное влияние на Vmax, | Лидокаин | 1-2 мг/кг |
| укорочение ДПД | Фенитоин | 5-15 мг/кг |
| | Токаинид | нд |
| | Мексилетин | нд |
| | Морацизин | нд |
| Ic Выраженное угнетение Vmax, | Флекаинид | нд |
| незначительное влияние на ДПД | Энкаинид | 0,5-0,9 мг/кг |
| | Пропафенон | 1-2 мг/кг |
| Il Блокада р-адренорецепторов | Пропранолол | 1-3 мг |
| | Эсмолол | 0,5 мг/кг |
| | Метоп рол о л | 5- 10 мг/кг |
| III Увеличение длительности реполяризации | Амиодарон4'5'6 | 5- 10 мг/кг |
| | Бретилий7 | 5- 10 мг/кг |
| | Соталол8 | 1-2 мг/кг |
| IV Блокада медленных кальциевых каналов | Верапамил | 2,5- 10 мг/кг |
| | Дилтиазем | 0,25-0,35 мг/кг |
| V Различные механизмы | Дигоксин | 0,5-0,75 мг |
| (препараты | Аденозин | 6-12 мг |
| различных | | |
| групп) | | |
1 Также обладает антимускариновой (ваголитической) активностью.
2 Также блокирует а-адренорецепторы.
3 Также увеличивает длительность реполяризации.
4 Также связывает неактивированные быстрые натриевые каналы.
5 Также вызывает неконкурентную блокаду а- и р-адренорецепторов.
6 Также блокирует медленные кальциевые каналы.
7 Временно стимулирует высвобождение катехоламинов из нервных окончаний.
8 Также вызывает неселективную блокаду р-адренорецепторов.
HP — не рекомендуется.
НД — недоступен или проходит испытания.
Поскольку изофлюран и галотан, помимо того, увеличивают интервал сопряжения (показатель способности экстрасистолы вызывать тахикардию), то наиболее предпочтительным ингаляционным анестетиком является, возможно, энфлюран. Опиоиды и бензодиазепины не имеют значительного электрофизиологического влияния на сердце. Следует избегать действия любых факторов, которые провоцируют симпатическую стимуляцию и усиливают автоматизм сердца. Премедикация бензодиазепинами ослабляет высокий симпатический тонус в предоперационном периоде. Не рекомендуется использование анестетиков, повышающих симпатический тонус (кетамин; панкуроний при струйном введении в высокой дозе). М-холи-ноблокаторы применяют с осторожностью, глико-пирролат предпочтительнее атропина (глава 11). Интубировать трахею можно только после достижения глубокой стадии анестезии (глава 20); в ряде случаев перед интубацией целесообразно ввести [3-адреноблокатор (эсмолол). Нельзя допускать поверхностной анестезии, гиперкапнии, ацидоза и гипоксии (даже преходящей), потому что все эти факторы вызывают симпатическую активацию. Экстубация в состоянии глубокой анестезии и полноценная послеоперационная аналгезия (не вызывающая респираторного ацидоза) также предотвращают пароксизм аритмии. У больного с преждевременным возбуждением желудочков для анестезии при электрофизиологическом исследовании и хирургической деструкции целесообразно использовать опиоиды и бензодиазепины — как анестетики, слабее других влияющие на проведение импульса в сердце.
