Пособие по проектированию защиты от коррозии бетонных и железобетонных строительных конструкций (к сниП 03. 11-85)
| Вид материала | Документы |
СодержаниеПРИЛОЖЕНИЕ 10 Требования к источникам блуждающих токов отделений электролиза Отделения электролиза водных растворов Отделения электролиза расплавов |
- Рекомендации по защите от коррозии бетонных и железобетонных строительных конструкций, 1651.57kb.
- Учебно-тематический план повышения квалификации по программе «Безопасность строительства, 56.69kb.
- 1. Общие положения, 1633.21kb.
- Здания из легких металлоконструкций, 66.03kb.
- Требования к выдаче свидетельства о допуске к работам по монтажу сборных железобетонных, 33.04kb.
- Пособие к сниП 03. 01-84 по проектированию самонапряженных, 2360.9kb.
- Строительные нормы и правила сниП, 1577.5kb.
- Номер и наименование программы тестирования ( 1 специалист сдает 1 тест по выбору), 289.22kb.
- Программа повышения квалификации по курсу «Безопасность строительства и качество возведения, 106.97kb.
- Vi методы защиты от коррозии металлов и сплавов, 783.92kb.
ПРИЛОЖЕНИЕ 10
Требования к источникам блуждающих токов отделений электролиза
Общие указания
1. Выпрямители преобразовательных подстанций электролизных цехов на стороне постоянного тока должны быть надежно изолированы от земли и строительных конструкций. Сопротивление изоляции обеих шин выпрямителя относительно земли при отключенной электролизной установке должно быть не ниже 0,5 МОм.
2. При многорядовом расположении электролизных установок подключение их к выпрямителям рекомендуется выполнять так, чтобы соседние электролизные установки были обращены друг к другу участками одинаковой полярности.
3. Шины, технологические трубопроводы, желоба, как металлические, так и выполненные из неэлектропроводных материалов, должны быть изолированы от строительных конструкций воздушными зазорами не менее 50 мм, а от заземленного оборудования (баков, насосов и т.п.) и стоек под оборудование, не защищенных специальной оклеечной изоляцией, - зазорами не менее 200 мм.
4. Все проемы в местах пересечения шин и металлических трубопроводов с железобетонными конструкциями оборудуются гильзами и вставками из электроизоляционных материалов.
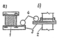
5. Для крепления трубопроводов и шин рекомендуется применять кронштейны из электроизоляционных материалов (например, армированного винипласта) (рис. 1) или металлические кронштейны и подвески с изоляцией в двух точках (рис. 2). Крепление кронштейнов к железобетонным конструкциям следует осуществлять с помощью обжимных хомутов, накладываемых на бетонную поверхность конструкции.

Рис. 1. Примеры выполнения держателей из электроизоляционных материалов для крепления трубопроводов
а - к балке; б - к колонне; 1 - железобетонная балка; 2 - железобетонная колонна; 3 - держатель из электроизоляционных материалов; 4 - трубопровод

Рис. 2. Примеры выполнения металлических держателей для крепления трубопроводов
а - с электроизоляционной вставкой в подвеске и в местах крепления хомута к железобетонной конструкции; б - с двумя электроизоляционными вставками в подвеске; 1 - железобетонная конструкция; 2 - металлический держатель; 3 - изолятор; 4 - трубопровод; 5 - изоляционная прокладка
Крепления и подвески, пропускаемые через железобетонные конструкции, не рекомендуются. При вынужденном использовании таких креплений и подвесок места контакта с железобетонными конструкциями должны оборудоваться электроизоляционными вставками (рис. 3) или закладные детали креплений должны устанавливаться на полимерном клее.

Рис. 3. Пример подвесок типа шпильки для крепления технологических трубопроводов
а - одиночного; б - нескольких; 1 - железобетонная конструкция; 2 а, б, в - конструкция пола (а - бетонное основание пола; б - химически стойкая гидроизоляция, в - покрытие пола); 3 - диэлектрическая гильза; 4 - металлическая тяга; 5 - изолятор; 6 - изоляционная прокладка; 7 - трубопровод; 8 - поддерживающая конструкция
Примечание. При выборе материала для кронштейнов следует учитывать теплостойкость материала.
6. Железобетонные конструкции не должны иметь контакта с подземными шпунтами или подземными металлическими контурами (грозозащитными, дренажными и др.).
Отделения электролиза водных растворов
7. Для изоляции электролизеров, шин, трубопроводов и другого технологического оборудования рекомендуется применять подвесные и опорные изоляторы зонтичного типа для наружных установок на соответствующие механические нагрузки и напряжение 3 - 6 кВ.
8. Рекомендуется технологические трубопроводы крепить через изоляционные подвески к элементам электролизных ванн, избегая креплений к железобетонным конструкциям (рис. 4).

Рис. 4. Схема подвески технологических трубопроводов к конструкциям электролизных ванн
а - подвеска и трубопровод из электроизоляционного материала; б - металлические подвеска и трубопровод; 1 -электролизная ванна; 2 - подъемная петля; 3 - изолятор; 4 - подвеска из пластиката; 5 - винипластовый трубопровод; 6 - металлическая подвеска; 7 - металлический трубопровод; 8 - железобетонная колонна; 9 - железобетонная балка
9. Трубопроводы и желоба, по которым транспортируют электролит и продукты электролиза, должны, как правило, выполняться из неэлектропроводных материалов (фторопласт, стеклопластики, фаолит и др.).
10. Металлические трубопроводы, соединяемые с электролизерами, могут применяться только при соблюдении следующих условий:
а) внутренняя поверхность металлических труб должна быть гуммирована или защищена другими электроизоляционными и химически стойкими покрытиями; монтаж трубопроводов осуществляется с электроизоляцией стыков; при применении титановых или других металлических трубопроводов, обладающих высокой коррозионной стойкостью и используемых без защиты внутренней поверхности, уменьшение блуждающих токов должно быть выполнено по специальному проекту;
б) соединение с электролизерами должно осуществляться трубами и шлангами из неэлектропроводных материалов длиной не менее 3 м; уменьшение длины вставок до 1 м возможно на газопроводах при условии выполнения вставок из фторопласта-4;
в) соединение рядовых трубопроводов (коллекторов) со сборным трубопроводом должно производиться трубами из неэлектропроводных материалов длиной не менее 6 м во всех случаях, кроме газопроводов, соединение которых с электролизерами выполняется с помощью вставок из фторопласта-4;
г) на всех металлических трубопроводах в местах перехода из грунта в электролизное отделение должны устанавливаться электроизолирующие вставки для разрыва цепи тока по трубопроводу.
11. Для разрыва струи поступающего и вытекающего электролита рекомендуется снабжать электролизеры капельницами и другими устройствами.
12. Ввод электролита в коллекторы и вывод продуктов электролиза из коллекторов электролизной установки, а также присоединение технологического оборудования к электролизной установке необходимо осуществлять в местах с наименьшим потенциалом относительно земли ближе к нейтральной точке (рис. 5, 6).

Рис. 5. Схема ввода электролитов в коллекторы электролизной установки, обладающая минимальными токами утечки
а, б, в - схемы с двумя, четырьмя и шестью рядами электролизеров соответственно; 1 - труба ввода электролита в цех; 2 - труба ввода электролита в коллектор; 3 - рядовой коллектор электролита; 4 - вентиль; 5 - электролизеры

Рис. 6. Схемы присоединения технологического оборудования к электролизной установке с уменьшенными токами утечки
а - схема с двумя рядами электролизеров и общим сборным баком; б - схема с четырьмя рядами электролизеров и двумя сборными баками; в, г - схема с четырьмя рядами электролизеров и одним сборным баком; 1 - сборный бак электролита; 2 - отводящий трубопровод; 3 - рядовой коллектор с электролитом; 4 - электролизеры
13. Технологическое оборудование необходимо располагать в цехе и подключать к электролизной установке симметрично относительно середины электролизной установки.
14. Каждый ряд электролизеров должен иметь индивидуальные коллекторы или желоба, транспортирующие входящие электролиты и продукты электролиза.
15. Катодная, дренажная и протекторная защита оборудования электролизных установок может быть применена только после специальных проектных разработок и экспериментальных исследований, подтверждающих, что применение защиты уменьшает ток утечки через защищаемый участок и не приводит к резкому увеличению тока утечки на незащищенных участках.
Отделения электролиза расплавов
Напольные металлические решетки, находящиеся под потенциалом катода электролизера, должны быть электроизолированы от несущих строительных конструкций.
В отделениях электролиза расплавов солей аммония допускается использовать в качестве электроизоляционных материалов: ацеид, асбокартон, асбест (в сухом состоянии).
