Пособие по проектированию каменных и армокаменных конструкций (к #M12291 9056429СНип ii-22-81#S)
| Вид материала | Документы |
СодержаниеНапряжения в кладке Расчетные характеристики материалов стен и перекрытий Жесткостные характеристики стен и перекрытий при отсутствии в кладке трещин Наружные стены |
- 1500507судопроизводства#S в качестве #M12291 841500642защитников#S либо представителей, 278.78kb.
- Реферат на тему: «Интерпол», 209.33kb.
- Реферат на тему: «Интерпол», 207.69kb.
- Строительные нормы и правила сниП, 1577.5kb.
- Пособие по проектированию мдс 13-20. 2004, 2266.17kb.
- Пособие к сниП 03. 01-84 по проектированию самонапряженных, 2360.9kb.
- Пособие по проектированию защиты от коррозии бетонных и железобетонных строительных, 2915.42kb.
- Viii. Каменные работы общие сведения назначение каменных работ и виды каменной кладки, 299.65kb.
- Задачи дисциплины, 94.25kb.
- Пособие по обследованию строительных конструкций зданий, 3072.33kb.
Влияние отверстий и штраб
29. Температурные усилия в стенах и перекрытиях в местах ослабления их отверстиями, штрабами, швами (черт.7) определяются из условия равновесия сил и моментов по неослабленному 1-1 и ослабленному 2-2 сечениям.
В монолитных перекрытиях с замкнутым отверстием (см. черт.7, а) продольные усилия справа
и слева
от отверстия определяются по формулам:
; (61)
, где
- суммарное продольное усилие в перекрытии по неослабленному сечению по формуле (48);
,
- ширина перекрытия справа и слева от отверстия;
- ширина перекрытия в свету;
- ширина отверстия.Продольные усилия
и
в кладке, ослабленной отверстиями, дымовентиляционными каналами и т.п. (см. черт.7, в) определяются по формуле (61) заменой
,
,
,
и
на
,
,
,
и
.При ослаблении кладки штрабой (см. черт.7, в) напряжение в кладке по ослабленному сечению
определяется по формуле
, (62)где
- продольное усилие в стене, определяемое по формулам (46), (47);
- эксцентриситет силы
;
,
- расчетная площадь и момент сопротивления ослабленного сечения.
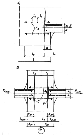
Черт.7. К расчету продольных усилий в стенах и перекрытиях в местах ослабления отверстиями, штрабами и швами
а - перекрытие с отверстием; б - кладка стены с отверстием; в - то же, со штрабой; г - лестничная клетка
30. Усилия
в продольных стенах лестничных клеток (черт.7, д) при опирании перекрытий на поперечные стены определяются по формулам:а) при сборном перекрытии
; (63)б) при монолитном перекрытии
, (64)где
- расчетная длина лестничной клетки;
- распределенное погонное температурное усилие (по неослабленному сечению перекрытия, черт.7, а, где
- ширина перекрытия).Расчет кладки и узлов сопряжения по прочности и раскрытию трещин
Напряжения в кладке
31. Максимальные растягивающие напряжения в монолитной кладке без трещин при одновременном действии продольной силы
и перепада температуры по толщине
(наружные стены отапливаемых зданий) равны сумме абсолютных значений (без учета знака) соответствующих напряжений:
, (65)где
,
- напряжения, возникающие в кладке при действии силы
и перепада
, равные соответственно:
;
. (66)32. Максимальные растягивающие напряжения в поясе монолитной кладки без армированных включений (см. черт.2, а) при действии
и
равны:
; (67)то же, по концам перемычек и балок, заделанных в кладку и нагруженных силами
и
от (черт.8, а) при ширине простенков более 40 см:
, (68)где
,
- толщина стены и ширина перемычки;
,
- изгибная жесткость монолитной кладки без трещины и железобетонной перемычки с трещинами определяются по формулам (21) и (29);то же, по концам арматурных стержней, заделанных в кладку простенков шириной более 40 см на высоту 2
(черт.8, б).
; (69)при ширине простенков менее 3 м в формулах (61) и (62) можно принять
(исключая лестничные клетки).
Черт.8. Напряженно-деформированное состояние простенка в местах заделки в него элементов
а - железобетонных или стальных; б - армокирпичных
Напряжения в арматуре
33. Напряжения в крайних (первых) стержнях растянутой арматуры кладки с трещинами при наличии перепада температуры по толщине
определяются по формулам:а) при отсутствии прогибов стен внутрь (здания с жесткими перекрытиями, заделанными в стены, черт.1, в и т.п.)
; (70)б) при прогибах стен внутрь (нежесткие перекрытия или если перекрытия не заделаны в стены, черт.1, б, или имеется точечное опирание в местах заделки балок, прогонов и т.п.)
, (71)где
;
;
- коэффициент температурного расширения кладки (
) или железобетонных перемычек (
);
- расчетная длина анкеровки арматуры в кладку в местах образования трещин принимается равной расстоянию между поперечными стержнями (черт.9), но не более толщины стены;
- длина прогибаемого участка монолитной кладки между трещинами, образующимися в местах опирания стен на поперечные стены, рамы, балки перекрытий, заделанные в стены, а также по концам железобетонных и стальных включений в кладку (перемычки, плиты перекрытий и т.п.); для сплошных стен без армирования включений
;
- изгибная жесткость армированной кладки в сечении с трещиной, определяется по формуле (29);
- то же, монолитной кладки, определяется по формуле (24).34. Расчетная длина заделки (анкеровки) в кладку с трещинами стержней арматуры
при одностороннем растяжении силой (см. черт.9, а) должна быть не менее:
. (72) 
Черт.9. Работа армированной кладки при образовании трещин в местах заделки армированных элементов
а - при односторонней заделке; б - при двухсторонней заделке
Раскрытие трещин
35. Раскрытие температурно-усадочных трещин в конструкциях из армированной и неармированной кладки в период эксплуатации не должно превышать размеров, приведенных в табл.1. Раскрытие трещин при усадке
вычисляется по формуле
, (73)где
определяется по табл.3.36. При раскрытии трещин больше указанного в табл.1 кладку следует армировать по расчету. Площадь сечения продольной арматуры определяется по формулам (70) и (71), принимая
.37. Раскрытие трещин в неармированной кладке стен снаружи при одновременном действии температур
и
(наружные стены отапливаемых зданий) определяется по формулам:а) без армированных включений
, (74)где
;б) то же, по концам перемычек или балок, заделанных в кладку (см. черт.9),
, (75)где
- расстояние между осями простенков или стен, черт.8, а;
- длина перемычки, балки, плиты и т.п.;
- приведенный коэффициент температурного расширения составного сечения, черт.2, в, вычисляемый по формуле (50). 38. Раскрытие трещин в армированной кладке стен снаружи
при одновременном действии температур
и
определяется по формулам:а) без армированных включений
, (76)где
принимается равным расстоянию между поперечными стержнями продольной арматуры (см. черт.9), но не более толщины стены;б) то же, по концам перемычек или балок, заанкеренных в кладку (см. черт.9),
. (77)39. Раскрытие трещин в кладке стен неотапливаемых зданий и внутренних стен отапливаемых зданий определяется по формулам (74)-(77) при
.Пример 1. Расчет конструкций девятиэтажного кирпичного жилого дома с поперечными несущими стенами на температурно-влажностные воздействия.
Расчет девятиэтажного жилого дома производится на температурно-влажностные воздействия для периода эксплуатации здания.
Район строительства - Москва.
Конструкции
Здание девятиэтажное, кирпичное, с поперечными несущими стенами, с опиранием на них плит перекрытий (I типа) длиной 108,8 м, шириной 14,4 м, высотой 28,6 м, высота этажа - 2,8 м (черт.10).
Наружные и внутренние стены из глиняного кирпича пластического прессования марки 100 на растворе марки 50.
Перемычки над проемами наружных стен сборные железобетонные размером 4х12х14 см из бетона класса В15.
Перекрытия из сборных железобетонных плит шириной 0,8 и 1,2 м с круглыми пустотами из бетона класса В 15, заделанные в кладку стен.
Расчетные характеристики материалов стен и перекрытий
Кладка стен из глиняного кирпича марки 100 на растворах марки 50: расчетное сопротивление сжатию
=1,5 МПа, растяжению по перевязанному сечению
= 0,18 МПа, временное сопротивление сжатию
= 3 МПа, растяжению -
= 2,25
= 0,4 МПа, модуль деформаций кладки
= 0,5
= 0,5 · 3000 = 1500 МПа, где
= 1000 · 3 = 3000 МПа; коэффициент температурного расширения
= 0,5 · 10-5 (1/°С).Сборные железобетонные перемычки наружных стен: бетон класса В15;
= 20000 МПа;
= 4 · 1,13 = 4,52 см2;
= 10,5;
= 10-5 (1/°С).Сборные железобетонные плиты перекрытий: бетон класса В15;
= 20000 МПа;
= 2 · 105 МПа (А-III);
=10;
= 10-5 (1/°С) армирование
: плита Р1 площадью 5,6 см2; Р2 - 4 см2; Р3 = 2 см2; Р4 = 2,6 см2.Расчетные температуры
Расчетные значения приведенных средних температур
,
и усадки
для периода эксплуатации здания принимаются:для наружных стен -
= -17 °С;
= 50 °С;
= 0 °С;для внутренних перекрытий
= -23 °С;
= 0 °С;
= - 18 °С;то же, лоджий
= - 42 °С;
= 0 °С;
= - 18 °С.Жесткостные характеристики стен и перекрытий при отсутствии в кладке трещин
Здание имеет регулярную конструктивную схему. В связи с этим достаточно рассмотреть жесткостные характеристики одной (средней) секции длиной
/4 = 27,2 м.Наружные стены
1. Средняя продольная жесткость стены
для 1-8-го этажей определяется по формуле (18), где
- суммарный коэффициент податливости стены на длине секции;
- коэффициент податливости
-го участка вычисляется по формуле (17).Для определения коэффициента
стена по длине секции разбивается на 7 повторяющихся участков (черт.11) длиной
= 54 см;
= 240 см;
= 160 см;
= 141 см;
= 99 см. Число участков
на длине секции равно:
= 14;
= 2;
= 5.Расчетная высота кладки
каждого участка определяется построением зон влияния продольных сил в соответствии с указаниями п.12. Расчетные значения
каждого участка равны (см. черт.):
Черт.10. План, фасад и разрез 9-этажного жилого дома длиной 109 м

Черт.11. К расчету продольной жесткости межоконного пояса наружной стены
= 202 см;
= 110 см;
= 184 см;
= 96 см;
= 60 см.Суммарный коэффициент податливости
вычисляется с использованием формул (15) и (17), принимая
= 55 см;
= 1500 МПа;
= 4,52 см2;
= 2 · 105 МПа;
= 0,7:
+
+
+
.2. По формуле (18) средняя продольная жесткость стены
.