Российская федерация федеральная служба по интеллектуальной собственности, патентам и товарным знакам

Вид материалаДокументы

Содержание


Московский государственный авиационный институт (технический университет)
Подобный материал:













РОССИЙСКАЯ ФЕДЕРАЦИЯ

ФЕДЕРАЛЬНАЯ СЛУЖБА
ПО ИНТЕЛЛЕКТУАЛЬНОЙ СОБСТВЕННОСТИ,
ПАТЕНТАМ И ТОВАРНЫМ ЗНАКАМ


(19)

RU

(11)

2094330

(13)

C1




(51)  МПК 6     B64G1/10, B64G1/40

(12) ОПИСАНИЕ ИЗОБРЕТЕНИЯ К ПАТЕНТУ

Статус: по данным на 05.11.2009 - прекратил действие













(21), (22) Заявка: 94043620/11, 09.12.1994

(46) Опубликовано: 27.10.1997

(56) Список документов, цитированных в отчете о
поиске: 1. Основы проектирования летательных аппаратов (транспортные системы). Учебник для технических вузов (В.П.Мишин, В.К.Безвербый и др.) - М.: Машиностроение, 1985, с.360, рис.5.2. 2. Там же, рис.1.11.

(71) Заявитель(и):
Московский государственный авиационный институт (технический университет)

(72) Автор(ы):
Матвеенко А.М.,
Овчинников А.А.,
Стеблецов В.Г.


(73) Патентообладатель(и):
Московский государственный авиационный институт (технический университет)

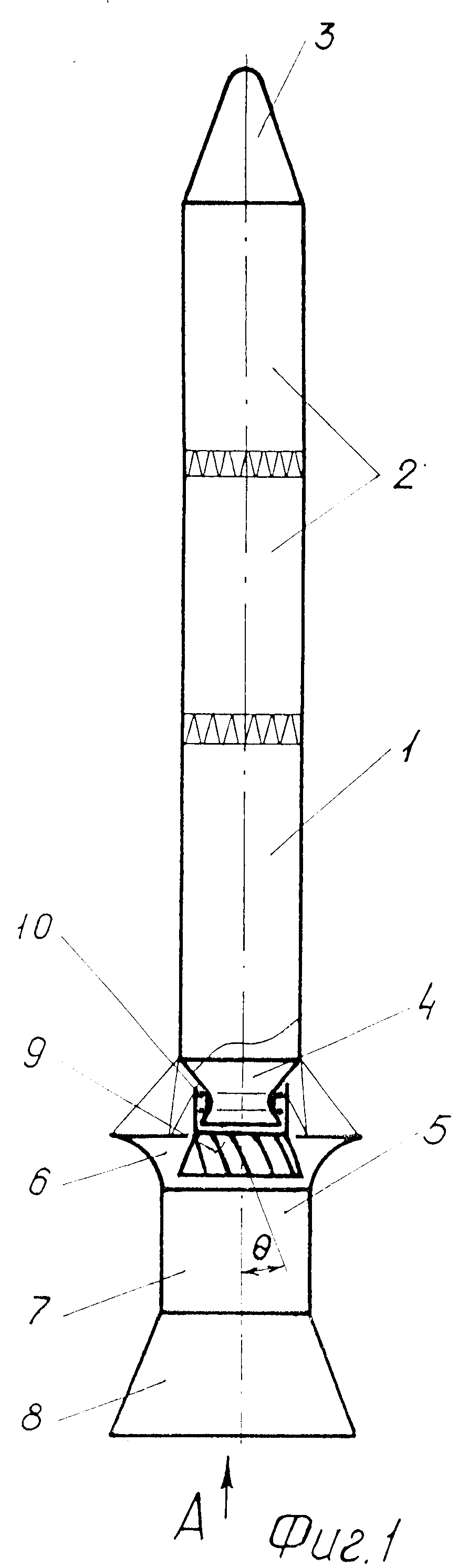
(54) ТРАНСПОРТНАЯ СИСТЕМА ВЕРТИКАЛЬНОГО СТАРТА

(57) Реферат:

Использование: в ракетно-космической технике; в транспортных системах (ТС), предназначенных для старта, подъема, разгона и выведения на орбиту полезной нагрузки с поверхности планеты, имеющей атмосферу. Сущность изобретения: ТС содержит первую ступень 1 ракеты с выходным соплом 4 маршевого двигателя и с установленным на нем эжекторным усилителем (ЭУ) тяги 5, верхние ступени 2 и полезную нагрузку 3. ЭУ 5 может быть выполнен в виде осесимметричных кофузора 6, цилиндрического корпуса 7 и диффузора 8; сопло 4 может быть установлено в подшипниках 10 и имеет возможность вращения вокруг оси двигателя, а раструб 9 сопла 4 имеет наклонные гофры для обеспечения его вращения и "закрутки" активного потока. Благодаря эффективному процессу взаимодействия активного и пассивного потоков в ЭУ увеличивается степень тягоусиления, повышается экономичность выведения на орбиту полезной нагрузки. Длина ЭУ 5 составляет 2-3 диаметра корпуса 9. 2 з.п. ф-лы, 6 ил.