А. В. Аксарина Президент фонда: доцент, кандидат геолого-минералогических наук, "Заслуженный нефтяник Российской Федерации" Волощук Г. М
| Вид материала | Документы |
Содержание3.2.2. Выбор оборудования для проведения гидравлического разрыва пласта (ГРП) Vр - объем жидкости разрыва, м, V 3.2.3. Оборудование для кислотных обработок. Вместимость цистерны, м |
- Некоммерческий фонд имени профессора А. В. Аксарина. Президент фонда: доцент, кандидат, 586.85kb.
- А. В. Аксарина Президент фонда: доцент, кандидат геолого-минералогических наук, "Заслуженный, 1317.01kb.
- А. В. Аксарина Президент фонда: доцент, кандидат геолого-минералогических наук, "Заслуженный, 756.79kb.
- Вознесенский Евгений Арнольдович, доктор геолого-минералогических наук, профессор кафедры, 512.29kb.
- Вознесенский Евгений Арнольдович, доктор геолого-минералогических наук, профессор кафедры, 457.78kb.
- Назаров Александр Дмитриевич, доцент, кандидат геолого-минералогических наук лекции, 662.31kb.
- Трилобиты обитатели палеозоя, 101.84kb.
- Шилина Галина Васильевна, доцент, кандидат геолого-минералогических наук рабочая программа, 76.17kb.
- Шилина Галина Васильевна, доцент, кандидат геолого-минералогических наук рабочая программа, 74.64kb.
- Шилина Галина Васильевна, доцент, кандидат геолого-минералогических наук рабочая программа, 60.7kb.
3.2.2. Выбор оборудования для проведения гидравлического разрыва пласта (ГРП)
Технология ГРП включает: 1. Промывку скважины; 2. Спуск в скважину высокопрочных НКТ с пакером и якорем на нижнем конце; 3. Обвязку и опрессовку на 1,5- кратное рабочее давление устья и наземного оборудования; 4. Определение приемистости скважины закачкой жидкости; 5. Закачку в пласт жидкости-разрыва, жидкости-песконосителя и продавочной жидкости (собственно гидроразрыв); 6. Демонтаж оборудования и пуск скважины в работу.
При выборе оборудования для ГРП необходимо: определить технологическую схему - давление и расход жидкостей; типы и количество жидких сред и наполнителя.

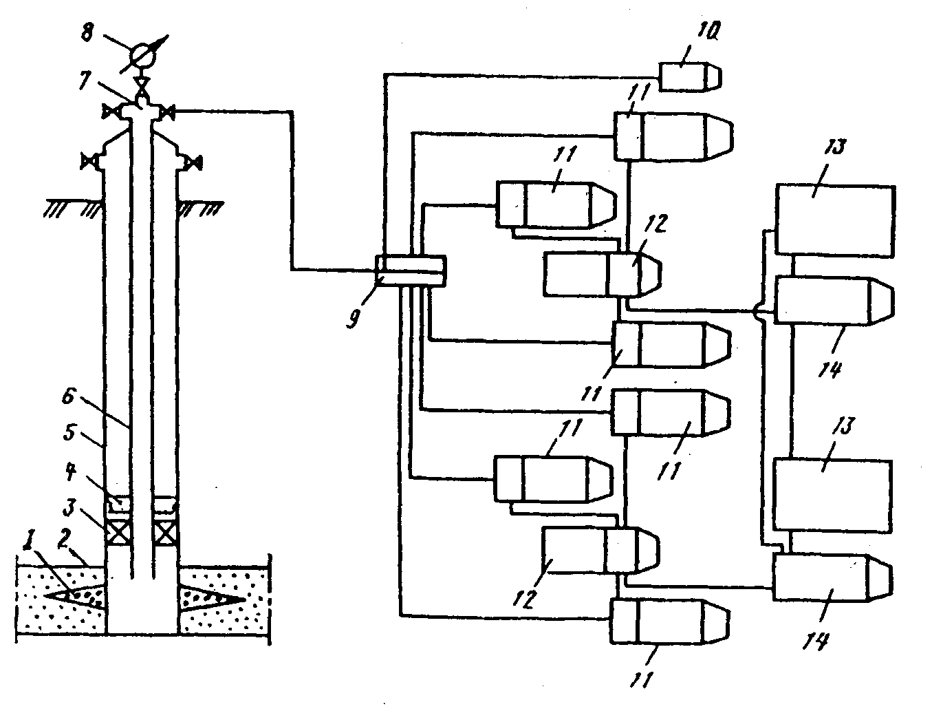
Рис. 51. Технологическая схема гидравлического разрыва пласта
1 – трещина разрыва; 2 – продуктивный пласт; 3 – пакер; 4 – якорь; 5 – обсадная колонна; 6 – насосно-компрессорные трубы; 7 – арматура устья; 8 – манометр; 9 – блок манифольдов; 10 – станция контроля и управления процессом; 11 – насосные агрегаты; 12 – пескосмесители; 13 – емкости с технологическими жидкостями; 14 – насосные агрегаты
Давление нагнетания на устье скважины - Ру
Pу = Ргрп + Рmp - Рс ,
где Рс - гидростатическое давление столба жидкости в скважине; Рmp - давление на трение в трубах определяется по формуле Дарси-Вейсбаха (при необходимости с учетом увеличения потерь давления за счет наличия в жидкости песка); Ргрп забойное давление разрыва пласта устанавливают по опыту или оценивают по формуле:
Ргрп = Рг + р ,
где Рг = Нnq - горное давление; р - прочность породы пласта на разрыв в условиях всестороннего сжатия (р=1,5З МПа); Н - глубина залегания пласта, м; n - средняя плотность вышележащих горных пород равная 22002600 кг/м3, в среднем 2300 кг/м3; g ускорение свободного падения.
Пример: Н = 2000 м; р = 2 МПа; n = 2300 кг/м3
Ргрп = 200023009,810-6 + 247 МПа
При глубине скважины Н>10001200М можно определять Ргрп=(0,750,8)Рг (Данные статистического анализа).
Минимальный расход закачки жидкости должен составлять не менее 2 м3/мин и может быть оценен при образовании вертикальной и горизонтальной трещин соответственно по формулам:
;
,где Qверт, Qгор - минимальные расходы, л/с; h - толщина пласта, см; Wверт, Wгор - ширина вертикальной и горизонтальной трещины, см; m - вязкость жидкости, МПас; Rт - радиус горизонтальной трещины, см.
В частности для расчетов можно принять следующие значения параметров: h(520) м; Wверт (120) см; Wгор (120) см; m (50500) МПас; Rт (5080) м.
Общая продолжительность процесса ГРП
, час,где Vр - объем жидкости разрыва, м3, Vр (510) м3; Vжп - объем жидкости песконосителя, м3; Vжп = Qп/Сп, где Qп - количество закачиваемого песка [Q (810) т на один гидроразрыв; Сп - концентрация песка в 1 м3 жидкости, кг/м3; [Сп = (180400) кг/м3 для вязкой жидкости и Сп= (4050) кг/м3 для воды];
- объем продавочной жидкости; dвн - внутренний диаметр НКТ (и обвязки); lс - длина НКТ (и обвязки); Qср - средний расход жидкости, м3/час.Потребное число агрегатов устанавливают, исходя из подачи одного агрегата qаг и максимального расхода Qmax жидкости в процессе ГРП с учетом одного резервного агрегата:
n = Qmax/qаг + 1 .
Давление гидроразрыва может доходить до 70100 МПа.
Пакеры и якори рассчитаны на перепад давления 3050 МПа, проходное сечение НКТ dвн = 3672 мм.
3.2.3. Оборудование для кислотных обработок.
Неингибированную соляную кислоту от химических заводов до кислотной базы перевозят в железнодорожных цистернах, гуммированных специальными сортами резины и эбонитами, а ингибированную - в обычных железнодорожных цистернах, покрытых химически стойкой эмалью или лаком. Уксусную кислоту транспортируют также в металлических гуммированных цистернах, а плавиковую доставляют в эбонитовых баллонах.
Концентрированные товарные кислоты хранят в металлических стационарных резервуарах, вместимостью 25, 50; 100 м3, защищенных кислотоупорной футеровкой (покрытие эмалями, лаками, гуммирование).
Для доставки кислоты с базы на скважины используют автоцистерны кислотовозы, внутреннюю поверхность которых гуммируют или защищают многослойным покрытием химически стойкими эмалями или лаками.
Агрегат закачки кислоты в скважину АЗК-32 (рис. 52) предназначен для повышения эффективности использования скважин, увеличения объема добываемой нефти.
Агрегат позволяет производить, транспортировку и закачку кислотных растворов в нефтяные и нагнетательные скважины с целью воздействия на призабойную зону пласта в процессе их освоения и эксплуатации.

Рис. 52. Агрегат закачки АЗК-32
Главным преимуществом агрегата АЗК-32 является долговечность его цистерны, представляющей из себя две емкости, каждая из которых полностью выполнена из полиэтилена низкого давления (ПНД ГОСТ 16338-17), устойчивого к воздействию кислот.
Состав и основные характеристики АЗК- 32
База а/м УРАЛ-4320-0001912-30
Тип насоса плунжерный Н-200К50
Привод насоса от тягового двигателя автомобиля
через спец. трансмиссию
Давление нагнетания
максимальное, МПа 32,0
Производительность, м3/час (л/с) 32,4 (9,0)
Вместимость цистерны, м3 4
Масса транспортируемой агрегатом
жидкости, кг, не более 5500
Закачиваемая жидкость раствор ингибированной соляной
кислоты, соляной в смеси с плавиковой
и уксусной кислотами, серной кислоты,
неагрессивные жидкости
Габаритные размеры, мм, не более 920025003200
