Учебно-методический комплекс умк учебно-методический комплекс общие основы педагогики
| Вид материала | Учебно-методический комплекс |
Содержание8. Список литературы Модель педагогического процесса как целостной динамической системы |
- Учебно-методический комплекс умк учебно-методический комплекс педагогика, 1243.87kb.
- О. А. Миронова Учебно-методический комплекс дисциплины «основы международного бизнеса», 782.97kb.
- Методические рекомендации по составлению учебно-методического комплекса темы (умк), 140.83kb.
- Л. Л. Гришан Учебно-методический комплекс по дисциплине «Аудит» Ростов-на-Дону, 2010, 483.53kb.
- О. А. Миронова учебно-методический комплекс по дисциплине «основы таможенного дела», 679.3kb.
- И. Л. Литвиненко учебно-методический комплекс по дисциплине международный туризм ростов-на-Дону, 398.8kb.
- Учебно-методический комплекс умк учебно-методический комплекс теория языка, 2510kb.
- А. Б. Тазаян Учебно-методический комплекс дисциплины "Логика" Ростов-на-Дону 2010 Учебно-методический, 892.49kb.
- Учебно-методический комплекс умк учебно-методический комплекс социальная педагогика, 1268.06kb.
- Умк учебно-методический комплекс; эумк электронный учебно-методический комплекс;, 241.96kb.
8. СПИСОК ЛИТЕРАТУРЫ
Основная:
- Андреев В.И. Педагогика: Учебный курс для творческого саморазвития. – 4-е изд. – Казань: Центр инновационных технологий, 2008.
- Гребенюк О.С., Рожков М.И. Общие основы педагогики: Учеб. для студ. высш. учеб. заведений. – М.: Изд-во ВЛАДОС-ПРЕСС, 2003.
- Краевский В.В. Общие основы педагогики. – М., 2003.
- Кукушин В.С. Общие основы педагогики. Учебное пособие для студентов педагогических вузов. Серия «Педагогическое образование». – Ростов н/Д: Издательский центр «МарТ», 2002.
- Педагогика: учеб. / Л.П. Крившенко [и др.]; под ред. Л.П. Крившенко. – М.: ТК Велби, Изд-во Проспект, 2005.
Дополнительная:
- Анисимов В.В. Общие основы педагогики: учеб. для вузов / В.В. Анисимов, О.Г. Грохольская, Н.Д. Никандров. – М.: Просвещение, 2006.
- Бережнова Е.В. Основы учебно-исследовательской деятельности студентов: Учеб. для студ. сред. пед. учеб. заведений / Е.В. Бережнова, В.В. Краевский. – М.: Издательский центр «Академия», 2005.
- Бережнова Е.И. Формирование методологической культуры учителя // Педагогика. – 1996. - № 4.
- Гинецинский В.И. Основы теоретической педагогики: Учеб. пособие. СПб.: Изд-во С.-Петербургского ун-та, 1992.
- Журавлев В.И. Взаимосвязь педагогической науки и практики. – М.: Педагогика, 1984.
- Журавлев В.И. Педагогика в системе наук о человеке. – М., 1990.
- Загвязинский В.И., Атаханов Р. Методология и методы психолого-педагогического исследования: Учеб. пособие для студ. высш. пед. учеб. заведений. – М.: Издательский центр «Академия», 2001.
- Занина Л.В., Меньшикова Н.П. Основы педагогического мастерства. / Серия «Учебники, учебные пособия». – Ростов н/Д: Феникс, 2003.
- Кан-Калик В.А. Учителю о педагогическом общении: Книга для учителя. – М., 1987.
- Коротяев Б.И. Педагогика как совокупность педагогических теорий: Учеб. пособие для слушателей фак. по подготов. и повышению квалификации организаторов нар. образования. – М.: Просвещение, 1986.
- Основы педагогического мастерства: учебное пособие / И.А. Зязюн. – Киев: Вища школа, 1987.
- Педагогика / Под ред. П.И. Пидкасистого. – М.: Роспедагенство, 1996.
- Педагогика / Сластенин В.А., И.Ф. Исаев, А.И. Мищенко, Е. Н. Шиянов. – М.: Школа-Пресс, 1997.
- Педагогика: педагогические теории, системы, технологии: Учеб. для студ. высш. и сред. учеб. заведений / С.А. Смирнов, И.Б. Котова, Е.Н. Шиянов и др.; Под ред. С.А. Смирнова. – 3-е изд., испр. и доп. – М.: Издательский центр «Академия», 1999.
- Полонский В.М. Исследование в педагогике // Российская педагогическая энциклопедия. – М., 1993. – С. 384.
- Подласый И.П. Педагогика. – М.: Просвещение, 2000.
- Реан А.А., Бордовская Н.В., Розум С.И. Психология и педагогика. – СПб.: Питер, 2007.
- Рыбакова М.М. Конфликт и взаимодействие в педагогическом процессе. – М., 1991.
- Скалкова Я. и коллектив. Методология и методы педагогического исследования: Пер. с чешк. – М.: Педагогика, 1989. – (Зарубежная школа и педагогика).
- Скаткин М.Н. Методология и методика педагогических исследований: В помощь начинающему исследователю. – М.: Педагогика, 1986.
- Сластенин В.А., Чижакова Г.И. Введение в педагогическую аксиологию: Учеб. пособие для студ. высш. пед.учеб. заведений. – М.: Издательский центр «Академия», 2003.
- Сысоева М.Е. Организация научно-исследовательской работы студентов (Программно-методическое пособие). – М.: ДАЕ, 2000.
- Селиванов В.С. Основы общей педагогики: Теория и методика воспитания. М.: - 2000.
- Сластенин В.А., Исаев И.Ф., Мищенко А.И., Шиянов Е. Н. Общая педагогика: Учеб. пособие для студ. высш. учеб. заведений / Под ред. В.А. Сластенина: В 2 ч. – М.: Гуманит. изд. центр ВЛАДОС, 2003. – Ч. 1.
- Смирнов В.И. Общая педагогика в тезисах, дефинициях, иллюстрациях. – М., 2000.
- Теория и практика педагогического эксперимента / Под ред. А.И. Пискунова, Г.В. Воробьева. – М., 1979.
- Щедровицкий Г. Педагогика и логика. М.: КАСТАЛЬ, 1993.
- Харламов И.Ф. Педагогика. 4-е изд., перераб. и доп. – М.: Высшая школа, 2005.
Сведения об авторе:
Луценко Ольга Анатольевна
БГПУ, кандидат педагогических наук, доцент кафедры педагогики
ПРИЛОЖЕНИЯ
Приложение 1
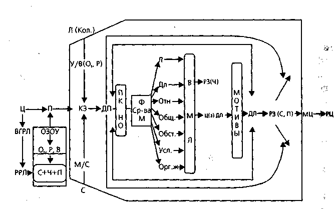
Модель педагогического процесса как целостной динамической системы
-
Ц




ель
-
Деятельность
п
едагога (субъекта)



Деятельность
в
оспитанника (субъекта)


-
М
етоды
С
редства
О




рганизационные формы

| С ![]() одержание образования (объект) |

-
Р
езультат

Приложение 2
Сущность педагогического процесса



одержание образования (объект)