Автореферат разослан сентября 2007 г
| Вид материала | Автореферат |
СодержаниеТретья глава Гильденбург В.Б., Гущин И.С. и др. |
- Автореферат разослан «20» сентября 2007, 371.08kb.
- Автореферат разослан «26» сентября 2006, 1270.38kb.
- Автореферат разослан 12 сентября 2011, 1391.33kb.
- Автореферат разослан 2007, 489.7kb.
- Автореферат разослан " 1 " сентября 2008, 404.34kb.
- Автореферат разослан 1 октября 2007, 431.1kb.
- Автореферат разослан и размещен на сайте «24» мая 2007, 415.05kb.
- Автореферат разослан " " 1996, 264.76kb.
- Автореферат разослан 2007 года, 789.59kb.
- Автореферат разослан 25 сентября 2008, 237.94kb.
В п.2.5. приводятся результаты исследования процессов релаксации плазмы после наносекундного СВЧ разряда. Установлено, что после пробоя газа низкого давления (ω>>ν) сверхсильным СВЧ полем в разрядной плазме остаются электроны с высокой (превышающий потенциал ионизации) энергией. В результате концентрация электронов в области пробоя продолжает возрастать в течение продолжительного времени (0,5
1 мкс) и достигает величин, в 5
10 раз превышающих критическую для падающего излучения, рис.2. Заметный рост плотности плазмы после наносекундного СВЧ импульса связан с продолжающимся процессом ионизации в течение времени релаксации энергии электронов. Представлена физическая интерпретация наблюдаемого эффекта и сопоставление, сделанных на ее основе оценок, с данными эксперимента.В следующих параграфах приводятся результаты исследования распада плазмы после наносекундного СВЧ разряда в широкой области давлений р=10-2
60 Тор в различных газах (воздух,N2,O2,Ar,He). Установлено, что значительная энергия электронов (Te~1
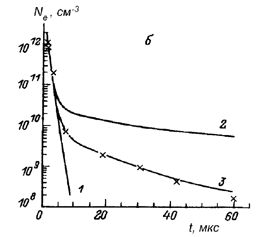
10 эВ), сохраняющаяся в распадающейся плазме из-за высокой степени ионизации и возбуждения газа приводит к изменению характера деионизации плазмы в различных газах. Так, в азоте и кислороде наблюдается медленный рекомбинационный распад, а в воздухе (на начальной стадии) обнаружен быстрый экспоненциальный распад плазмы, характерный для диссоциативного прилипания электронов к молекулам кислорода. На основании численного моделирования показано, что наряду с процессами прилипания и отлипания электронов существенное влияние на распад плазмы оказывают процессы ионной конверсии, приводящие к образованию ионов, обладающих высоким коэффициентом рекомбинации и устойчивых к процессу отлипания, рис.3. ![]() | Рис.3. Рассчитанные зависимости электронной концентрации (давление воздуха р = 60 Тор): 1 и 2 - без учета и с учетом процесса отлипания электронов, соответственно, 3 - с учетом образования комплексных отрицательных ионов и отлипания электронов; х - эксперимент; |
Отмечается, что высокая энергия электронов на стадии распада плазмы при средних давлениях может быть обусловлена передачей электронам энергии при столкновении с метастабильными молекулами азота (удары 2-го рода). Приводятся результаты измерений температуры электронов в распадающейся плазме наносекундного разряда подтверждающие вывод о наличии у электронов высокой энергии (п.2.6).
Третья глава посвящена изучению процессов, определяющих оптическое излучение разрядной плазмы, создаваемой с помощью волновых пучков, и анализу перспектив практического использования наносекундного разряда в качестве источника мощного УФ излучения. Одной из наиболее характерных особенностей наносекундного СВЧ разряда является эффективное возбуждение электронных уровней молекул. На их возбуждение при высоких значениях амплитуды приведенного электрического поля расходуется (наряду с ионизацией) значительная доля поглощаемой в плазме разряда энергии. Например, при величине приведенного электрического поля E/N ~ 3·10-15 B·см2 до 80% вложенной в разряд энергии идет в электронные степени свободы [Дятко Н.А. и др.]. Большая плотность электронно-возбужденных частиц в разряде в значительной мере определяет высокую излучательную способность создаваемой таким образом плазмы. Отметим, что при высоких значениях параметра E/N наиболее эффективно возбуждаются высоколежащие электронные уровни молекул и атомов излучение которых лежит в ультрафиолетовой области спектра. Поэтому одним из возможных применений создаваемой наносекундными СВЧ импульсами неравновесной плазмы является накачка эксимерных лазеров и лазеров на электронных переходах молекул. Генерируемое разрядом УФ излучение может также оказывать заметное влияние на протекающие в плазме химические процессы.
В п.3.1. представлен краткий обзор экспериментальных исследований, посвященных возбуждению УФ газовых лазеров с помощью разряда, формируемого мощным СВЧ излучением. Основными достоинствами этого метода являются технологичность транспортировки и ввода СВЧ энергии в лазерное устройство, эффективность поглощения электромагнитной энергии в плазме разряда, достижение высоких удельных мощностей накачки (105-107 Вт/cм3), отсутствие неустойчивостей инициируемых электродами и продолжительное сохранение чистоты рабочей смеси из-за отсутствия электродов.
До проведения настоящих исследований, в основном, рассматривались волноводные конструкции лазеров с СВЧ накачкой. При этом в наиболее распространенной схеме УФ лазер возбуждался продольным СВЧ разрядом в одномодовом волноводе. Существенным недостатком такой конструкции является ограничение на величину транспортируемой по волноводному тракту СВЧ мощности, связанное с пробоем газа или мультипакторным разрядом (при вакуумировании волноводов) и неоднородное по длине лазерной трубки возбуждение активной среды. Эти особенности волноводных лазеров приводят к уменьшению поглощаемой в разряде СВЧ энергии и, соответственно, мощности лазерного излучения.
Успехи современной высокочастотной электроники в значительной мере связаны с разработкой генераторов, использующих многомодовые, сверхразмерные электродинамические системы. Вывод энергии из таких приборов обычно осуществляется в виде волнового пучка, а для его транспортировки используются зеркальные линии. Поэтому, увеличение энерговклада в разряд может быть достигнуто при переходе от волноводных элементов к квазиоптическим СВЧ системам, в которых в значительной мере снимаются ограничения на величину транспортируемой мощности. В п.3.2. рассматриваются два варианта использования излучения релятивистского СВЧ генератора для накачки УФ-лазеров, отвечающие случаям поперечного и продольного возбуждения активной среды. В первом случае накачка осуществлялась с помощью свободно локализованного СВЧ разряда в поле сходящейся цилиндрической ТЕ-волны. Во втором, газоразрядная трубка располагалась непосредственно в выходном сверхразмерном волноводе релятивистского СВЧ генератора. Приводятся результаты экспериментов по возбуждению УФ лазеров (азотного на переходах C3Пu(
=0)-B3Пg(
=0) 2+-системы азота и эксимерного XeCl лазера) излучением релятивистского генератора в широком диапазоне СВЧ мощностей и давлений лазерной смеси (р=10-760 Тор). Достигнутая в экспериментах мощность генерации азотного лазера составляла величину 60-70 кВт для поперечной схемы накачки и 100-120 кВт для продольной. Эффективность генерации, определяемая как отношение мощности лазерной генерации к мощности СВЧ излучения, составляла величину 10-4
10-3, а удельный энергосъем равнялся 0,5
2 Дж/атм.л. Установлено, что при возбуждении лазерной смеси с помощью цилиндрической TE-волны в газоразрядных трубках большого диаметра происходит последовательная генерация лазерного излучения слоями плазмы расположенными на различных расстояниях от оси. В результате этого происходит удлинение лазерного импульса и увеличение мощности генерации. Лазерная генерация наблюдалась и в свободно локализованном (без трубки) разряде в воздухе, в режиме усиления спонтанного излучения. Максимальная мощность УФ излучения достигала значений (1
3) кВт, а удельный энергосъем составлял величину (50
150) Вт/см3. Таким образом, в этих экспериментах была продемонстрирована возможность создания атмосферного лазера с дистанционной СВЧ накачкой.В п.3.3. приводятся результаты экспериментального исследования динамики населенностей уровней C3Пu и B3Пg, играющих существенную роль в кинетике азотосодержащей плазмы и в значительной мере определяющих излучение наносекундного СВЧ разряда (2+-система азота). По оригинальной методике с использованием поглощения УФ излучения, генерируемого самим исследуемым разрядом, измерена константа тушения нижнего лазерного уровня B3Пg(
=0). В параграфе (п.3.4.) подробно анализируется работа азотного лазера, возбуждаемого с помощью волнового пучка. Представлены результаты численного моделирования азотного лазера, возбуждаемого наносекундным СВЧ разрядом в поле цилиндрической ТЕ волны в газоразрядной трубке и в свободном пространстве и обсуждаются эффекты, к которым приводит движение границы разряда при увеличении длительности СВЧ импульса. Концентрация электронов рассчитывалась на основе уравнения ионизационно-рекомбинационного баланса, а величина электрического поля (при медленно меняющейся в масштабе 1/ω концентрации электронов) из уравнения Гельмгольца для комплексной амплитуды поля с комплексной диэлектрической проницаемостью плазмы. Мощность индуцированного излучения из единицы объема определялась для 2+ системы азота (переход C3Пu(
=0)-B3Пg(
=0), длина волны УФ излучения λ=337,1 нм) в рамках упрощенной кинетической модели [W.A.Fitzsimmons, L.W.Anderson et.al]. Для этого уравнения для концентрации электронов и амплитуды электрического поля дополнялись уравнениями баланса для населенностей верхнего NC(
=0) и нижнего NB(
=0) лазерных уровней и плотности фотонов Nph. Численная модель строится весьма близкой к условиям, реализуемым в эксперименте, что дает возможность сравнения результатов расчета с экспериментальными данными, рис.4. На основании расчета определена самосогласованная пространственно-временная эволюция электромагнитного поля, электронной концентрации, населенностей лазерных электронных уровней азота, а также мощности спонтанного и индуцированного излучения. Показано, что динамика разряда и лазерного излучения существенным образом зависят от величины приведенного электрического поля E/N в падающей волне. На начальной стадии пробоя концентрация электронов возникает в центре разряда и плавно спадает к его периферии. С течением времени поле на оси разряда уменьшается вследствие поглощения и отражения СВЧ мощности и возрастает на его границе, что приводит к уширению распределения концентрации электронов. В результате такой динамики индуцированное УФ излучение также первоначально возникает на оси разряда, а затем смещается вдоль радиуса, рис.5. Результаты расчетов находятся в хорошем качественном и количественном соответствии с данными эксперимента. Проведенный анализ показал, что путем подбора давления лазерной смеси, диаметра газоразрядной трубки и величины падающей СВЧ мощности можно эффективно управлять параметрами разряда, добиваясь почти полного поглощения СВЧ излучения и высокой эффективности лазерной генерации. ![]() | ![]() |
| Рис.4. Форма импульса лазера: 1 - расчет; 2 - эксперимент. | Рис.5. Пространственное распределение мощности индуцированного излучения в различные моменты времени для разряда в трубке при Ee/p=200 В/см·Тор: 1 - 3нс, 2 - 5нс, 3 - 10нс, 4 - 15нс. |
В п.3.4.3 обсуждаются механизмы формирования в наносекундном СВЧ разряде атмосферного давления тонких плазменных нитей с повышенной яркостью [Коссый И.А. и др. ]. В эксперименте такие нити возникали на фоне квазиоднородных, вытянутых вдоль вектора электрического поля, плазмоидов, образующихся при пробое газа на отдельных затравочных электронах. Вытягивание первичных плазмоидов обусловлено эффектом квазистатичеcкого усиления поля в полярных областях плазменного эллипсоида с размерами меньше длины волны и диэлектрической проницаемостью
> 1 (полярная ось параллельна внешнему полю) [ Гильденбург В.Б., Гущин И.С. и др.]. Затем внутри однородного плазмоида формировались одна или две яркие тонкие нити. Возможной причиной возникновения интенсивно излучающих нитей в разряде высокого давления может быть ионизационно-перегревная неустойчивость. К развитию указанной неустойчивости приводит быстрый нагрев газа при тушении электронных уровней молекул, эффективно возбуждающихся в разрядной плазме. Проведен анализ данной неустойчивости на основе численного моделирования динамики разряда в СВЧ поле цилиндрической TE-волны с учетом процессов нагрева и вытеснения газа в неизобарическом случае. Согласно расчетам на начальной стадии наблюдается лавинообразный рост концентрации электронов в области максимального поля вблизи оси разряда. Увеличение концентрации электронов приводит к экранировке поля и переходу разряда в квазистационарное состояние. В течение этого времени происходит нагрев и рост давления газа, однако на начальной стадии нагрева скорость разлета молекул газа невелика, поэтому его плотность практически не меняется. С увеличением скорости разлета происходит уменьшение плотности газа в центральной области разряда, и увеличение частоты ионизации. Это приводит к возрастанию концентрации электронов вблизи оси разряда, уменьшению характерного радиуса их распределения и образованию тонкой плазменной нити. Возникновение плазменной нити в наносекундном СВЧ разряде высокого давления сопровождается быстрым ростом параметра E/N и эффективности возбуждения электронных уровней молекул. В результате резко возрастает удельная мощность спонтанного излучения, создаются условия для создания инверсной населенности и возникновения режима индуцированного УФ излучения вдоль нити, рис.6.
![]() | Рис.6. Зависимость от времени удельной мощности индуцированного Pind и спонтанного излучения Psp вдоль оси плазменной нити при давлении воздуха p=500 Тор и начальном значении параметра Ee/p = 40 В/cм Тор. |




