Удк 658. 382. 3 Комплексная многоступенчатая система безопасности критически важных, потенциально опасных объектов
| Вид материала | Автореферат диссертации |
- Методические рекомендации руководителям предприятий и учреждений по антитеррористической, 905.24kb.
- Гост р 12 006-2002 , 261.92kb.
- Комплексная программа обеспечения безопасности населения на транспорте I. Общие положения, 1307.74kb.
- Постановлением Госстандарта России от 25 октября 2002 г. №394-ст 3 введен впервые, 91.09kb.
- Ю. Д. Гончаров, Рыжов А. С., Сафронов, 21.11kb.
- Постановлением Госстандарта России от 9 ноября 1999 г. №400-ст 3 введен впервые 4 Настоящий, 161.52kb.
- Закон от 21. 07. 1997 n 116-фз "О промышленной безопасности опасных производственных, 274.93kb.
- Нормы фз «О промышленной безопасности опасных производственных объектов» распространяются, 446.46kb.
- Единая система оценки соответствия в области промышленной, экологической безопасности,, 134.1kb.
- О государственной регистрации потенциально опасных химических и биологических веществ, 360.85kb.
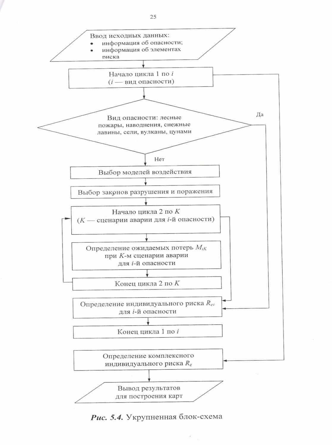
Укрупненная блок-схема оценки комплексного индивидуального риска
Блок-схема оценки риска включает процедуры (Рис. 11):
- подготовки исходных данных;
- выбора параметров моделей воздействия;
- выбора законов поражения;
- расчета математического ожидания потерь по видам опасности с учетом воздействия поражающих факторов каждого источника рассматриваемого вида опасности;
- оценки индивидуального риска от отдельного вида опасности;
- оценки комплексного индивидуального риска.

Рис. 11. Укрупненная блок-схема оценки комплексного индивидуального риска
Индивидуальный риск в целом по области, в пределах которой возможно поражение людей, определяется по формуле

Оценка индивидуального риска на химически опасных объектах.
С учетом выражения (9) оценка индивидуального риска на химически опасных объектах проводится по формуле

где Н - вероятность аварии в течение года, N - численность населения.
Оценка индивидуального риска на радиационно-опасном объекте, сейсмического риска, риска от ураганов и сильных ветров, лесных пожаров, наводнений, снежных лавин, селей, вулканов, цунами используется при прогнозировании опасностей и последствий ЧС и состоит из оперативного и долговременного прогноза.
Оперативный прогноз.
В случае оперативного прогноза, когда интенсивность и координаты места аварии или катастрофы известны, определяются параметры поля интенсивности поражающего фактора и вероятностей получения сооружениями степени повреждения при условии воздействия заданной интенсивности поражающего фактора, согласно соответствующему параметрическому закону разрушения.
Прогнозирование числа пострадавших людей при авариях на объекте представляет основу информации, используемой при разработке организационно-технических мероприятий по смягчению последствий ЧС и уменьшению потерь
При аварийных выбросах топлив с образованием и взрывом облаков ГВС, при радиационных и химических авариях с выбросом радиоактивных и токсичных веществ следует учитывать движение облаков, содержащих продукты сгорания, радиоактивные или ядовитые вещества под влиянием ветра, то есть дрейф облаков и годовую повторяемость направлений ветра - розу ветров.
Ветровые условия конкретизируем двумя случайными величинами - направлением α и скоростью ν ветра с плотностью распределения f(α,ν). Данную функцию можно представить поверхностью распределения рис. 12, горизонтальные сечения которой ограничены кривыми равных плотностей (горизонтали поверхности распределения).
В случае аварийной ситуации при выбросе необходимо оперативно следить за движением воздушных масс с целью принятия решения по защите населения от вредного воздействия, а также с целью метрологического и топографического подтверждения воздействия опасных химических веществ в концентрациях выше ПДК и допустимых биодоз (доза-эффект) на территориях которые подверглись воздействию отравляющих веществ. Последнее необходимо

Рис. 12. Геометрическая интерпретация распределения системы двух случайных величин
для официального документирования происшедшей аварии. Это позволит обеспечить объективность предоставления населению возмещения ущерба за риск здоровью, за экологическое воздействие на территорию, за воздействие отравляющих веществ на организм, гарантирует соблюдение имущественных прав в случае отчуждения собственности и т.п. Это определяется Федеральными законами «Об уничтожении химического оружия», «Об охране окружающей среды», проектом закона «Об обязательном страховании гражданской ответственности за причинение вреда при эксплуатации опасного объекта».
Для этого система мониторинга должна обеспечивать дистанционное отслеживание движения зараженных масс воздуха с вычислением ряда основных параметров: время движения облака, координаты участка территории по движению облака, динамику концентрации ОВ в облаке (Рис. 13). При этом определяется максимальная концентрация отравляющих веществ Pmax. По координатам участка x,y определяется время начала движения облака (t1) и его окончательного рассеяния (t2) при концентрациях ниже предельной допустимой концентраций (ПДК), динамика изменения концентрации ОВ по времени P(t) и по координатам t(x,y).

Рис. 13. Движение облака отравляющих веществ над территорией ЗЗМ
Долговременный прогноз.
Для данной модели вводится распределение интенсивностей f(Ф) поражающего фактора Ф и условная вероятность разрушения сооружений Р*d(Ф) со степенью d при значении поражающего фактора Ф. Вероятность одновременного наступления двух указанных событий для элементарного интервала ΔФ равна
Pd(Ф) = P*d(Ф)∙f(Ф(x,y))ΔФ (13)
Предложен вариант определения уровня защищенности опасного объекта в зависимости от степени риска возникновения ЧС (Рис. 14), в результате разработан алгоритм определения уровня возникновения ЧС на опасном объекте с определением уровня защищенности от природного, техногенного и террористического характера ЧС (Рис. 15) при выполнении основных мероприятий защиты опасного объекта, предложена методика расчетов по показателям возникновения ЧС характеризующих ее масштабы и на ее основе ранжирование территории по риску при авариях на пожаровзрывоопасных и химически опасных объектах в Приволжско-Уральском регионе (табл. 1).

Рис. 14. Предлагаемый вариант уровня защищенности опасного объекта в зависимости от степени риска возникновения ЧС

Рис. 15. Алгоритм определения риска возникновения ЧС на опасном объекте по уровню защищенности от угроз природного, техногенного и террористического характера
Таблица 1
Ранжирование территорий по риску возникновения ЧС
на химически опасных объектах
| № п/п | Территория | Кол-во ХОО | Население в ЗВЗ, тыс.чел. | Вероятность аварии, год-1 | Риск гибели, год-1 | Вероятность возникновения аварийных ситуаций в течение года не превышает 10-6год-1 на чел. | Степень защищенности территории |
| 1 | Свердловская область | 181 | 2385,0 | 0,38 | 0,088 | 10-3год-1 | Низкая |
| 2 | Нижегородская область | 145 | 1000,0 | 0,3 | 0,07 | 10-3год-1 | Низкая |
| 3 | Республика Татарстан | 112 | 1781,6 | 0,235 | 0,054 | 10-3год-1 | Низкая |
| 4 | Челябинская область | 103 | 2391,9 | 0,216 | 0,049 | 10-4год-1 | средняя |
| 5 | Оренбургская область | 87 | 827 | 0,183 | 0,042 | 10-4год-1 | средняя |
| 6 | Пермская область | 74 | 667 | 0,155 | 0,035 | 10-4год-1 | средняя |
| 7 | Саратовская область | 68 | 871,2 | 0,143 | 0,032 | 10-4год-1 | средняя |
| 8 | Пензенская область | 67 | 827 | 0,140 | 0,032 | 10-4год-1 | средняя |
| 9 | Курганская область | 64 | 461,7 | 0,013 | 0,031 | 10-4год-1 | средняя |
| 10 | Республика Башкортостан | 61 | 930 | 0,128 | 0,029 | 10-4год-1 | Средняя |
| 11 | Самарская область | 58 | 1870 | 0,012 | 0,028 | 10-4год-1 | средняя |
| 12 | Ульяновская область | 5 | 400,7 | 0,116 | 0,027 | 10-4год-1 | средняя |
| 13 | Кировская область | 53 | 544 | 0,111 | 0,026 | 10-4год-1 | средняя |
| 14 | Тюменская область | 44 | 590 | 0,092 | 0,021 | 10-4год-1 | средняя |
| 15 | Республика Марий Эл | 32 | 121 | 0,067 | 0,015 | 10-4год-1 | средняя |
| 16 | Удмуртская Республика | 26 | 388,2 | 0,055 | 0,013 | 10-4год-1 | средняя |
| 17 | Чувашская Республика | 22 | 680 | 0,046 | 0,011 | 10-4год-1 | средняя |
| 18 | Ханты-Мансийский АО | 23 | 83,2 | 0,048 | 0,011 | 10-4год-1 | средняя |
| 19 | Республика Мордовия | 10 | 258,5 | 0,02 | 0,05 | 10-4год-1 | средняя |
| 20 | Ямало-Ненецкий АО | 7 | 7,64 | 0,015 | 0,003 | 10-4год-1 | средняя |
Из данных табл. 1 следует, что в регионах необходимо принять комплексные программы по снижению риска возникновения ЧС, которые позволяют значительно повысить защищенность критически важных (потенциально опасных) объектов муниципальных образований, в целом региона и довести ее до требуемых значений 10-6 - 10-7∙год-1.
Изложенные в данной главе основные подходы и методы по оценке рисков возникновения ЧС на потенциально-опасном объекте, в муниципальных образованиях различного уровня позволяют готовить и представлять прогнозы ЧС в целях обеспечения заблаговременной организации предупредительных мероприятий угрозе возникновения ЧС, минимизации риска гибели людей и снижение ущерба от ЧС, в том числе и связанные с террористическими актами.
Исходя из выше изложенного следует, что в случае аварийной ситуации при выбросе АХОВ необходимо оперативно следить за движением воздушных масс с целью принятия решения по защите населения и территории от вредного воздействия, а также с целью метрологического и топографического подтверждения воздействия АХОВ на окружающую природную среду. Решение данной задачи возможно с использованием (дистанционного контроля) комплексной многоступенчатой системы мониторинга за движением зараженных масс воздуха с вычислением основных параметров: время движения облака, координаты участка территории по движению облака, динамика концентрации АХОВ.
Выводы: На основе системного анализа аварийных ситуаций, проблем по обеспечению комплексной безопасности рассмотрены основные подходы и методы по оценке риска возникновения ЧС на опасном объекте и на их основе подготовлены прогнозы возникновения ЧС, что позволило провести ранжирование территории региона по степени опасности с целью заблаговременной организации предупредительных мероприятий по минимизации риска гибели людей и снижения ущерба от ЧС, в том числе, связанных с террористическими актами.
Третья глава посвящена рассмотрению основных аспектов создания комплексной многоступенчатой системы безопасности на критически важных, потенциально опасных объектах муниципального и регионального уровня.
Рассмотрены основные задачи комплексного государственного мониторинга окружающей среды и прогнозирования ЧС природного и техногенного характера определены принципы многоступенчатого экологического мониторинга объекта уничтожения химического оружия, изложенные в сборнике «Федеральные и региональные проблемы уничтожения химического оружия. Москва РАН, 2002 г.».
Источниками сбора и получения информации на всех уровнях являются системы комплексного мониторинга потенциально опасных объектов, расположенных на территории субъекта их сопряжение с ДДС, ЕДДС, ЦУКС, системами контроля учреждений, организаций, дежурными службами.
Развитие аварийной ситуации наиболее объективно и оперативно может быть предсказано только на основании корреляции ряда параметров мониторинга ОХУХО.
Возможный выброс ОВ при аварии является в большинстве случаев вторичным явлением, следствием других (первичных) процессов – взрыв, пожар, наводнение, землетрясение, непрогнозируемый удар и т.п.
Система мониторинга должна включать в себя центр обработки данных мониторинга и набор датчиков на ряд параметров, характеризующих возможное развитие аварийной ситуации (Рис. 16).

Рис. 16. Анализ параметров мониторинга с целью оперативного выявления ЧС. Д1, Д2, …Дn - датчики (химический сенсор, ускорение, температура, влажность, параметры воздушной ударной волны, концентрация отравляющих веществ и др.)
По вычислению корреляционных характеристик измеренных данных, полученных с этих датчиков, производится обнаружение признаков ЧС независимо от операторов, охраны и персонала на объекте. В зависимости от характера развития и вида аварийной ситуации производится настройка мониторинга по ее ступеням. При этом рассматриваются сценарии развития аварии как «извне», так и «изнутри». Это позволит более оперативно принять меры по локализации и ликвидации аварии или принять решение к действиям в ЧС.
Центр обработки данных мониторинга обеспечивает (Рис. 17):

Рис. 17. Сценарии развития ЧС «извне» объекта и «изнутри»
- прием мониторинговой информации с датчиков;
- контроль измерений значений на превышение ПДК, звуковая, световая сигнализация превышения ПДК;
- цифровое, графическое отображение измерений концентраций АХОВ и цветовое отображение опасности в зонах контроля на схеме объекта на дисплее диспетчера;
- передача результатов по всем линиям связи (модемной связи);
- прием оперативных метеоданных (других данных) по всем линиям связи (модемной связи) и с клавиатуры компьютера;
- регистрация места и времени превышения предельно допустимых доз АХОВ и аварийной сигнализации, как на объект, так и органы управления МЧС России;
- автоматический прогноз зоны опасности и поражающего действия с учетом метеоусловий и объема выброса;
- отображение на карте прилегающей территории зоны опасности и поражающего действия;
- формирование списка телефонов абонентов, подлежащих оповещению, оповещение по ЛСО и др.;
- автоматическое оповещение по ЛСО, оповещение по телефонной связи абонентов КВО (ПОО), абонентов сформированного списка КЧС и ОПБ, органов управления МЧС России в регионе.
СМИС строится для обеспечения контроля основных дестабилизирующих факторов в системе жизнеобеспечения внутри производственных помещений опасного объекта, которая включает в себя программно-технический комплекс, предназначенный для решения задач бесперебойного обеспечения функционирования оборудования (в пределах нормативных показателей) и должна обеспечивать контроль:
1. возникновения пожара;
2. нарушения в подаче электроэнергии;
3. нарушения в подаче и утечке газа;
4. нарушения в системе отопления, подачи горячей и холодной воды, вызванные выходом из строя инженерного оборудования на центральных тепловых пунктах, котельных, а также авариями на трубопроводах и приборах отопления;
5. затопления помещений, дренажных систем и технологических приямков;
6. отказа работы лифтового оборудования;
7. несанкционированного проникновения в служебные помещения;
8. повышения уровня радиации, предельно-допустимых концентраций АХОВ, биологически-опасных веществ, взрывоопасных концентраций газовоздушных смесей;
9. отклонений от нормативных параметров производственных процессов, способных привести к возникновению ЧС;
10. изменения состояния инженерно-технических конструкций (конструктивных элементов) объектов.
В состав СМИС объекта входят следующие компоненты (Рис. 18):

Рис. 18. Состав структурированной системы мониторинга и управления КВО, ПОО
1. Комплекс измерительных средств, средств автоматизации и исполнительных механизмов;
2. Многофункциональная кабельная система;
3. Сеть передачи информации;
4. Автоматизированная система диспетчерского управления инженерными сетями объектов.
На рис. 19 представлена функциональная схема системы непрерывного контроля с сигнализацией превышения ПДК на ОАО «Чепецкий механический завод» вредных химических и радиоактивных веществ на рабочих местах, вентустановках, на территории промплощадки предприятия, в санитарно-защитной зоне и в зоне наблюдения и состоит из центрального пульта дежурно-диспетчерской службы объекта, систем химического, радиационного, метеорологического, гидрологического и физического контроля.

Рис. 19. Функциональная схема системы контроля с сигнализацией превышения ПДК
Наблюдения осуществляются приборными средствами, а оценка посредством использования модели путей распространения и воздействия загрязнителя. Изучается влияние на биосферу и геофизический процесс в ней путем измерения и наблюдения геофизических характеристик окружающей среды, их изменений во времени.
На главном экране системы производственно-экологического мониторинга ДДС объекта (Рис. 20) высвечиваются данные санитарно-гигиенического и радиационного мониторинга, данные метеообстановки, в случае аварийной обстановки высвечиваются на экране со звуковым сопровождением превышающие нормативные значения, данные при превышении контрольных уровней и данные при нормальной обстановке.

Рис. 20. Главный экран системы производственно-экологического мониторинга ДДС объекта
Подсистема радиационного и химического мониторинга с помощью датчиков контроля позволяет определять HCl (хлористый водород), NH3 (аммиак), NO2 (диоксид азота), Cl2 (хлор), CO (окись углерода), HF (гидрофторид), SO2 (диоксид серы), O3 (озон), Rn (радон) на опасных объектах предприятия.
Предметом мониторинга на указанных площадях являются:
- почва, грунт, пыль;
- воды (подземные и поверхностные, в том числе, сточные);
- воздух (атмосферный и почвенный);
- растительность и животный мир.
Экологический мониторинг основан на использовании имеющихся методов и моделей с использованием принципов общей экологии, системного подхода, геофизических методов и представлений, что позволит решить основные задачи по системному наблюдению и контролю состояния природной среды вокруг опасного объекта.
Экологический мониторинг предполагает использование различных методов получения информации, среди которых можно выделить:
1. Контактные - обусловлены необходимостью присутствия человека или прибора в обследуемой зоне.
2. Дистанционные (оптические спектральные):
Дистанционные методы контроля в системе мониторинга окружающей среды занимают особое место. Возможность определить состав и количественные характеристики загрязнения природной среды, находясь при этом на расстоянии, является одним из основных путей решения данной задачи.
Немаловажная роль дистанционных методов контроля заключается в использовании их возможностей для оперативного выявления химической обстановки в случае экстремально высокого загрязнения атмосферного воздуха над территорией самого объекта так и в пределах зоны защитных мероприятий. Что позволит руководству объекта и руководству муниципального образования в кратчайший срок принять наиболее правильные решения по проведению экстренных мероприятий направленных для защиты персонала, населения и территорий.
Для своевременного оповещения создается локальная система оповещения на базе комплекса технических средств оповещения по радиоканалу имеющая техническое, программное и организационное сопряжение с территориальной системой централизованного оповещения субъекта, системами аварийной сигнализации и контроля потенциально опасного объекта, муниципальными и региональными информационными центрами в рамках ОКСИОН, что позволит технические средства ЛСО содержать в постоянной готовности, обеспечивать автоматизированное включение оконечных средств оповещения по сигналам от дежурного диспетчера (начальника смены) потенциально опасного объекта, диспетчера муниципального и регионального информационного центра в рамках ОКСИОН, в т.ч. и через территориальную автоматизированную систему централизованного оповещения, ЦУКС региона и обеспечить 100 % перекрытие административных границ города (населенного пункта) с использованием средств УКВ-радиосвязи.
Рассмотрена структура и принцип построения локальных систем оповещения критически важного, потенциально опасного объекта, муниципального образования и в целом построение ЛСО в регионе, которая представляет собой организационно-техническое объединение сил, средств связи и оповещения, сетей вещания, каналов сети связи общего пользования, обеспечивающих доведение информации и сигналов оповещения до руководящего состава и персонала организации, эксплуатирующей потенциально опасный объект, объектового звена единой государственной системы предупреждения и ликвидации ЧС, объектовых аварийно-спасательных формирований, в т.ч. специализированных, руководителей и дежурно-диспетчерских служб организаций, муниципальных образований, ЦУКС региона и населения, проживающего в зоне действий локальной сети оповещения (Рис. 21).

Рис. 21. Схема организации локальной системы оповещения в районе размещения потенциально опасного объекта
Рассмотрена структура и принцип построения комплексной многоступенчатой системы безопасности муниципального образования.
В кризисных ситуациях эффективность деятельности органов муниципального управления, систем РСЧС и гражданской обороны и других государственных систем в области безопасности напрямую зависят от правильной организации управления в предкризисный и кризисный периоды, особенно на начальном этапе. Анализ опыта ликвидации кризисных ситуаций позволяет выявить наиболее типичные ошибки со стороны руководителей и органов управления. К ним относятся:
- нерешительность;
- скрытие истинного положения дел;
- ошибочные решения;
- уклонение от решения проблемы;
- подмена действий разговорами;
- проведение излишних заседаний, совещаний и т.д.
Чтобы предельно минимизировать возможные просчеты в организации управления, заблаговременно разрабатываются алгоритмы действий руководителей, органов управления в кризисных ситуациях.
В основу принятых решений положен принцип создания локально-зоновых подсистем комплексной безопасности топологически близко расположенных объектов с последующим объединением подсистем в единую систему безопасности муниципального района.
Подсистемы КСБ критически важных опасных объектов, общественных и административных зданий и сооружений муниципального образования представляют собой совокупность технических средств сбора, обработки и передачи информации в ЕДДС-01, КЧС и ОПБ о состоянии объектов, сигналов оповещения, дистанционного управления и технического мониторинга самой системы, а именно (Рис. 22):

Рис. 22. Комплексная система безопасности от ЧС техногенного, природного и террористического характера
- информация обзорного видеомониторинга;
- информации о состоянии пожарной безопасности опасных объектов, зданий и сооружений;
- информации о сохранности имущества и проникновении в охраняемые объекты;
- информации о состоянии общественного порядка внутри и на ближайшей территории вокруг объекта, зданий и сооружений;
- информации о санкционированном или несанкционированном доступе на территорию объекта, зданий и сооружений;
- экстренной информации о нарушениях общественного порядка;
- эксплуатационной и аварийной информации о работе систем жизнеобеспечения;
- экстренной информации при вызове служб спасения, аварийно-спасательных, пожарных и других формирований;
- передачи сигналов дистанционного управления системами речевого, звукового, светового и видео оповещения;
- передачи сигналов дистанционного управления системами жизнеобеспечения;
- передачи сигналов о нарушениях в КСБ и т.д.
Создание комплексных многоступенчатых систем мониторинга по сбору, обработке, хранению, передаче информации на ДДС, локальные сети оповещения, силы реагирования объектов, на ЕДДС-01, системы оповещения и реагирования муниципального уровня, на ЦУКС региона и его сил реагирования позволит своевременно, в реальном режиме времени оперативно оценить и спрогнозировать сложившуюся обстановку на опасном объекте в муниципальном образовании, принять управленческое решение КЧС и ОПБ различных уровней по привлечению сил и средств для организации защиты населения и территорий от ЧС природного и техногенного характера, в т.ч. террористического акта (Рис. 23).

Рис. 23. Комплексная система сбора, обработки информации и
сил реагирования муниципального образования
Рассмотрены структура и принцип построения комплексной системы безопасности региона, особенности работы комиссии по предупреждению и ликвидации чрезвычайных ситуаций и обеспечению пожарной безопасности при внезапном возникновении ЧС на объекте хранения и уничтожения химического оружия.
Возросший масштаб катастроф и кризисных ситуаций поставил их в ряд важнейших глобальных угроз и потребовал разработки новой стратегии, основанной на прогнозировании и раннем предупреждении с широким использованием принципов оценки и управления рисками, в качестве государственной политики по борьбе с природно-техногенными опасностями и угрозами.
Оценка риска рассматривается в качестве обязательного и первостепенного элемента новой стратегии, анализ которого позволяет решить комплекс жизненно-важных проблем для повышения безопасности общества, а именно:
- определить приоритеты в борьбе с наиболее опасными и разрушительными явлениями;
- вести целенаправленное инвестирование мероприятий по снижению угроз от опасных кризисных ситуаций;
- планировать создание систем предупреждения и реагирования на опасные явления;
- определять методы и технические средства при решении вопросов о снижении рисков;
- разрабатывать нормативные документы и законодательные акты по регулированию хозяйственного использования территорий.
Назначение комплексной системы обеспечения безопасности - организовать, осуществлять и контролировать состояние и достижение необходимого уровня безопасности для граждан, общества и региона в целом.
Комплексная система обеспечения безопасности территорий (региона) представлена на рис. 24 включает:

Рис. 24. Структура комплексной системы безопасности в регионе Российской Федерации
- законодательные органы;
- органы исполнительной власти;
- специально создаваемые органы управления, уполномоченные решать вопросы безопасности в повседневной деятельности и при ЧС мирного и военного времени;
- территориальная система предупреждения и ликвидации ЧС (РСЧС);
- территориальные системы федеральных ведомств, в функции которых должны или могут решаться вопросы безопасности в связи с наличием источников угроз;
- силы и средства, которые создаются для обеспечения безопасности;
- средства массовой информации;
- страховые компании;
- мониторинговые структуры, в т.ч. и социально-политические.
Реализация комплексного управления безопасностью территории (региона) представляет собой сложный длительный процесс разработки и осуществления огромного комплекса разнообразных мероприятий. Эффективность этого процесса во многом определяется четкостью, продуманностью действий многочисленных органов и объектов, взаимоувязкой выделяемых на эти цели ресурсов. Последовательность решения задач комплексного управления безопасностью территории отображена на рис. 25.

Рис. 25. Принципиальная схема комплексного управления
безопасностью территории региона
Комплекс автоматизированного контроля и реагирования ЕДДС-01 ЦУКС на примере Удмуртской Республики на основе системы многоступенчатого мониторинга окружающей среды и прогнозирования ЧС природного и техногенного характера, состоящий из датчиков (извещателей, камер и т.д.), которыми оборудованы потенциально опасные объекты и передающих информацию на абонентские модули о работоспособности от систем защиты объекта и передачи их на абонентское хозяйство пункта сбора и передачи данных служебных, тревожных сообщений, хранения всех сведений об объектах, их особенностях на ЕДДС-01 с оценкой обстановки и принятия решения о направлении сил немедленного реагирования в зону пожаров и ЧС, оповещением руководящего состава ЦУКС, министерств и ведомств с предоставлением информации, ее обработкой, анализом поступающей информации и выработкой управленческих решений с учетом прогнозирования крупномасштабной ЧС, выработки алгоритмов действий сил и средств реагирования на ЧС, организация взаимодействия деятельности ДДС, ЕДДС-01 различных служб и территорий муниципальных образований.
На примере Удмуртской Республики на рис. 26а приведена статистика роста количества подключенных критически важных потенциально опасных объектов, а также объектов с массовым пребыванием людей за период с 2005 года по 2007 год к ЕДДС-01 городов и районов республики, соответственно на рис. 26б показано уменьшение количества ЧС на объектах, подключенных к системе мониторинга за счет своевременного обнаружения предаварийных ситуаций и реагирования соответствующих служб по предотвращению ЧС, что напрямую связано с предотвращенным ущербом за аналогичный период (Рис.26в).
Рис. 26. Статистика количества объектов, подключенных к ЕДДС-01 субъекта и уменьшения ЧС и предотвращенного ущерба
Экономический эффект от внедрения автоматической пожарной сигнализации в сопряжении с дежурно-диспетчерскими службами опасных объектов, ЕДДС-01 муниципальных образований и ЕДДС-01 Центра управления в кризисных ситуациях Удмуртской Республики составил 182 218 тыс. рублей при ущербе 2 426 555 рублей в том числе по годам (Акт о внедрении результатов диссертации на соискание ученой степени доктора технических наук «Комплексная многоступенчатая система безопасности критически важных, потенциально опасных объектов» от 9 апреля 2008 года утвержден заместителем Председателя Правительства Удмуртской Республики - Председателем КЧС и ОПБ Правительства Удмуртской Республики Бигбулатовым И.И.):
- в 2005 году 64 908 тыс. руб. при материальном ущербе от пожаров 1 224 000 руб. (табл.1 приложения на 2-х листах);
- в 2006 году 12 100 тыс. руб. при материальном ущербе 1 061 505 руб. (табл.2 приложения на 2-х листах);
- в 2007 году 79 010 тыс. руб. при материальном ущербе 133 400 руб. (табл.3 приложения на 4-х листах);
- в первом квартале 2008 года 16 200 тыс. рублей при материальном ущербе 7650 рублей (табл.4 приложения на 3-х листах).
Усложняющийся характер опасностей и угроз различного характера требует изменения приоритетов в государственной политике по обеспечению безопасности населения и территории от опасностей и угроз различного характера – создание комплексной системы безопасности объекта, муниципального образования, территории, региона в основе которой положена система комплексного, многоступенчатого мониторинга критически важных, опасных объектов, сопряжение ДДС объектов с ЕДДС-01 муниципальных образований, ЦУКС региона, локальными, территориальными сетями оповещения ОКСИОН, силами и средствами реагирования РСЧС различного уровня, что в конечном итоге позволит вместо «культуры реагирования на ЧС» перейти на «культуру предупреждения».
