Методы повышения эффективности упрочнения деталей лемешно-отвальных плугов дуговой наплавкой твердыми сплавами
| Вид материала | Автореферат диссертации |
СодержаниеОбщая характеристика работы Содержание работы Qэ – эффективная мощность источника теплоты, Вт; Выводы и основные результаты Основные положения диссертации и результаты опубликованы |
- Особенности плазменной закалки крупногабаритных деталей из чугуна Батрак В. В., Веремейчик, 55.51kb.
- Исследование тепловых эффектов экзотермических реакций при термодиффузионном упрочнении, 113.6kb.
- Акустико-эмиссионный комплекс неразрушающего контроля тяговых хомутов и корпусов автосцепного, 15.3kb.
- Энергосбережения и повышения энергетической эффективности, 2189.29kb.
- 1. в номинации «Энергоэффективные и ресурсосберегающие технологии, оборудование и материалы, 23.2kb.
- Национальное общество косметических химиков, 18.11kb.
- В. А. Коротков Представлена новая установка плазменного упрочнения, позволяющая закаливать, 166.9kb.
- Физическая сущность магнитно-электрического упрочнения, 134.09kb.
- Предназначен для использования в качестве источника питания одного сварочного поста, 55.45kb.
- Мальным режимам позволила увеличить предел выносливости стали 45 в 2,1 раза по сравнению, 29.85kb.
На правах рукописи
Будко Сергей Иванович
Методы повышения эффективности упрочнения
деталей лемешно-отвальных плугов дуговой
наплавкой твердыми сплавами
Специальность 05.20.03 – Технологии и средства технического
обслуживания в сельском хозяйстве
Автореферат
диссертации на соискание ученой степени
кандидата технических наук
Санкт – Петербург – Пушкин
2009
Р
абота выполнена в ФГОУ ВПО “Брянская государственная сельскохозяйственная академия”Научный руководитель: доктор технических наук, профессор
Михальченков Александр Михайлович
Официальные оппоненты: доктор технических наук, профессор
Зуев Анатолий Алексеевич
кандидат технических наук, доцент
Ермаков Сергей Александрович
Ведущая организация: ГНУ «Северо-западный научно-
исследовательский институт механизации
и электрификации сельского хозяйства»
(СЗНИИМЭСХ)
Защита состоится 2 июля 2009 г. в 1330 часов на заседании диссертационного совета Д.220.060.06 в ФГОУ ВПО «Санкт-Петербургский государственный аграрный университет» по адресу: 196601, Санкт – Петербург – Пушкин, Петербургское шоссе, д. 2, СПбГАУ, ауд. 2.719
С диссертацией можно ознакомиться в библиотеке Санкт - Петербургского государственного аграрного университета.
Автореферат разослан « » мая 2009 г.
Автореферат размещен на сайте http://www.spbgau.spb.ru/disser/news.shtml
« 20 » мая 2009 г.
Ученый секретарь
диссертационного совета Смирнов В.Т.
ОБЩАЯ ХАРАКТЕРИСТИКА РАБОТЫ
Актуальность темы. В процессе эксплуатации почвообрабатывающих машин и агрегатов наиболее нагруженные поверхности деталей в результате трения в абразивной среде изменяют конструктивные параметры, технологические характеристики и служебные свойства. Ускоренное изнашивание рабочих поверхностей лемешно – отвальных плугов снижает качество обработки почвы, увеличивает тяговое сопротивление агрегатов, расход топлива и простои машин, связанные с периодической заменой изношенных деталей.
Под действием нормального давления и сдвигающего усилия при трении о плоскую или криволинейную поверхность клина происходит уплотнение, скалывание и перемещение почвы по рабочей поверхности корпуса плуга, что вызывает интенсивное разрушение поверхностных слоев металла.
На производство деталей плужных корпусов затрачиваются значительные объемы стального проката. Наряду с использованием специальных износостойких сталей, тенденции снижения скорости изнашивания поверхностей трения, оптимизации технологических затрат и обеспечения высокого качества обработки почвы обуславливают необходимость широкого применения наплавочных покрытий, образующих в структуре карбидные включения с повышенными прочностными свойствами при трении в абразивной среде.
При высокой стоимости наплавочных твердых сплавов, актуальной является разработка более совершенных технологий, обеспечивающих рациональное использование присадочных материалов и снижение перегрева основного металла в процессе упрочнения тонкостенных деталей плужных корпусов электродуговыми методами.
Диссертационная работа выполнена по плану аспирантской подготовки на кафедре технологии материалов и ремонта машин в ФГОУ ВПО “Брянская государственная сельскохозяйственная академия” в 2003 - 2006 годах и в соответствии с комплексной целевой программой по проблеме “Разработка ресурсо- и энергосберегающих технологических процессов производства сельскохозяйственной продукции, технического обслуживания и ремонта сельскохозяйственной техники”.
Цель исследования. Повышение эффективности поверхностного упрочнения деталей лемешно - отвальных плугов дуговой наплавкой твердыми сплавами путем совершенствования технологии и оптимизации режимов нанесения металлопокрытий.
Объект исследования: Технология поверхностного упрочнения деталей плужных корпусов с использованием сварочно-наплавочных электродов и порошковых сплавов с оценкой показателей качества наплавки быстроизнашиваемых поверхностей, включая нагрев основного металла.
Научная новизна:
- метод повышения износостойкости деталей плужных корпусов дуговой наплавкой твердыми сплавами, снижающий интенсивность трения рабочих поверхностей, удельные затраты на материалы и расход запасных частей;
- технологические критерии изменения абразивных свойств почвы методом дифференцирования интенсивности поверхностного трения и снижения связности абразивных частиц в контактном слое;
- рациональные параметры упрочнения несущей поверхности плужных корпусов прерывистой наплавкой покрытыми электродами с присадкой порошкового сплава «Сормайт-1» на основе показателей твердости и моделирования тепловых процессов поверхностного нагрева металла;
- показатели интенсивности изнашивания упрочненных деталей лемешно – отвальных плугов по результатам полевых испытаний различных вариантов наплавки плужных лемехов.
Практическая значимость работы. Практическая значимость работы заключается в разработке рекомендаций по технологии прерывистой наплавки быстроизнашиваемых деталей лемешно - отвальных плугов, обеспечивающей формирование геометрических и прочностных характеристик рабочих поверхностей с использованием твердых сплавов, в 2 – 3 раза снижающих интенсивность изнашивания плужных корпусов, расход электроэнергии и материалов.
Реализация результатов исследований. Полевые испытания упрочненных деталей плужных корпусов проводились в СПК “Красный Рог” Почепского района Брянской области.
Апробация работы. Результаты исследований и основные положения диссертации были представлены:
- на ежегодных научных конференциях Брянской государственной сельскохозяйственной академии в 2003-2007 годах;
- ХI Международной научно – практической конференции “Ресурсосберегающие технологии ремонта, восстановления и упрочнения деталей машин механизмов, оборудования, инструмента и технологической оснастки от нано- до макроуровня”, 14-17 апреля 2009 г., Санкт-Петербург, Санкт-Петербургский государственный политехнический университет и НПФ “Плазмацентр”.
Основные положения выносимые на защиту:
- на изменение абразивных свойств почвы, определяемых ее структурным состоянием, механическим составом и влажностью, оказывает влияние эффект поверхностного рыхления контактного слоя, снижающий интенсивность взаимодействия частиц при трении с основным металлом;
- рациональное формирование геометрии наплавки быстроизнашиваемых поверхностей плужных корпусов твердыми сплавами с учетом динамического воздействия направленного потока почвы на клин обеспечивает снижение плотности контактного слоя почвы и скорость изнашивания деталей.
Публикации. По теме диссертации опубликовано 10 статей, получено 2 патента РФ на изобретения.
Структура и объем диссертации. Диссертационная работа состоит из введения, 5 разделов, выводов, списка использованных источников и приложений. Приведенный список источников содержит 102 наименования. Работа изложена на 136 страницах, содержит 68 рисунков, 21 таблицу, 4 приложения.
СОДЕРЖАНИЕ РАБОТЫ
Во введении обоснована актуальность темы и изложены цель, научная новизна, практическая значимость работы, основные положения и результаты исследований, выносимые на защиту.
В первом разделе “Состояние вопроса и задачи исследования” на основе материалов литературных источников и результатов исследований ведущих ученых и организаций рассмотрены особенности эксплуатации и условия изнашивания рабочих поверхностей деталей плужных корпусов пахотных агрегатов, дан анализ их конструктивно – технологических характеристик, приведены критерии функционального применения, рассмотрены технологические методы повышения прочности и износостойкости быстроизнашиваемых деталей при их изготовлении, ремонте и восстановлении.
Исследованию вопросов повышения долговечности рабочих органов почвообрабатывающих машин посвящены работы В.П. Горячкина, М.М. Севернева, Г.П. Каплун, Б.Н. Орлова, П.Н. Бурченко, Г.Н. Синеокова, Д.Б. Бернштейна, Е.П. Огрызкова, Г.И. Лежнева, И.М. Панова, Ж.Е. Токушева, А.Ш. Рабиновича, В.Н. Ткачева, С.П. Васильева, Л.С. Ермолова, А.Ф. Пронина, С.А. Сидорова, Г.И. Ларина, В.Ф. Быкова и многих других.
Большой вклад в развитие сварочно – наплавочных технологий восстановления и упрочнения деталей сельскохозяйственной техники внесен в работах В.А. Деева, В.М. Кряжкова, А.И. Сидорова, А.В. Поляченко, Е.Л. Воловика и других.
На основании анализа литературных источников сформулированы следующие основные задачи исследований:
1. Усовершенствовать технологию поверхностного упрочнения деталей плужных корпусов дуговой наплавкой твердыми сплавами путем оптимизации технологических режимов, выбора наиболее эффективных наплавочных материалов и металлопокрытий.
2. Разработать технологические критерии повышения износостойкости деталей плужных корпусов методом прерывистой наплавки быстроизнашиваемых поверхностей твердыми сплавами.
3. Обосновать рациональные параметры поверхностного упрочнения деталей плужных корпусов с использованием наплавочных электродов и порошковых сплавов, обладающих высокой износостойкостью.
4. Провести испытания упрочненных деталей в полевых условиях на операции вспашки почвы.
5. Обосновать технико-экономическую целесообразность упрочнения деталей лемешно – отвальных плугов прерывистой наплавкой твердыми сплавами.
Во втором разделе по результатам анализа основных положений теории разрушения поверхностных слоев деталей при трении в абразивной среде, изложенных в трудах И.В. Крагельского, П.Н. Львова, В.И. Костецкого, М.М. Хрущева, М.М. Тененбаума и др., а также основных закономерностей изменения абразивных свойств почвы при трении деталей почвообрабатывающих машин в зависимости от ее структурного состояния, механического состава и влажности, дано теоретическое обоснование методов снижения интенсивности изнашивания деталей плужных корпусов на основе совершенствования и оптимизации технологии прерывистой наплавки покрытий твердыми сплавами ручной электродуговой сваркой.
Обобщающей характеристикой трения деталей плужных корпусов при обработке почвы является неравномерный износ наиболее нагруженных поверхностей, что вызвано неравномерностью распределения удельного давления почвы, различиями скоростей и ускорений частиц в процессе их относительного перемещения.
Коэффициент изнашивающей способности в зависимости от фракционного состава и типа почвы может изменяться от 0,37 для тяжелых глинистых почв, до 2,92 применительно к песчаным почвам, при этом коэффициент поверхностного трения деталей для различных почв колеблется от 0,29 до 0,9. Факторы, которые относятся к свойствам почвы, являются переменными, что затрудняет оценку их значимости в конкретных условиях воздействия абразивной среды. Способность абразивных частиц внедряться в поверхностный слой и разрушать его при относительном движении принято оценивать по соотношению микротвердостей испытуемого материала и абразива. Увеличение сопротивления к изнашиванию связывают с необходимостью повышения микротвердости трущейся поверхности детали.
Интенсивность изнашивания деталей под действием нормального давления и сдвигающего усилия почвы (по М.М. Северневу) выражают функцией следующих переменных:
G = f (Р, L, S, m, H) , (1)где Р – давление почвы, Па;
L – путь трения, м;
S – площадь трения, м2;
m – показатель изнашивающей способности почвы;
H – твердость поверхности детали, (Н
)Изнашивающую способность почвы с учетом ее влажности, удельного давления и скорости относительного перемещения контактирующих частиц определяют экспериментальным путем и используют как оценочный показатель.
Учитывая, что на процесс взаимодействия абразивных частиц в контактном слое почвы влияют силы фиксации, определяющие степень закрепленности абразивных частиц и механические свойства материала, на который эта частица действует, силу фиксации частиц определяют как разность между суммарной силой внутреннего трения контактируемых частиц в почвенной массе и силой их внешнего трения о металлическую поверхность
F = z
p
f1
, (2)где z – количество частиц, взаимодействующих с контактируемой поверхностью;
f1 – коэффициент внутреннего трения между частицами почвы;
f – коэффициент трения частиц о металлическую поверхность детали;
- постоянная величина, зависящая от числа контактов;p – удельное давление (кгс/см2).
Таким образом, степень взаимодействия абразивных частиц почвы с поверхностью трения детали в значительной мере зависит от соотношения суммарных сил трения между частицами и сил трения частиц о металлическую поверхность. Чем больше разность между ними, тем больше степень фиксации абразивных частиц.
В условиях равенства коэффициентов трения на фиксирование абразивных частиц почвы расходуется 29% общей силы трения. Коэффициент трения между частицами более связных почв, как правило, превышает коэффициент трения частиц о металлическую поверхность, поэтому силы фиксации будут выше, чем при равенстве коэффициентов.
Определение качественной стороны взаимодействия частиц между собой и поверхностью металла используют при проектировании и повышении долговечности деталей почвообрабатывающих машин.
Для снижения коэффициента трения при обработке увлажненной почвы известны опыты по использованию вибрирующего корпуса плуга, с помощью которого на рабочей поверхности происходит выделение свободной воды, что облегчает относительное скольжение почвенного слоя.
В качестве других методов снижения тягового сопротивления почвообрабатывающих машин известно получение капиллярной воды под действием электрического тока, создание воздушной подушки между почвой и отвалом плуга, а также крепление на поверхности синтетического материала, менее подверженного залипанию.
Из-за конструктивной сложности и недостаточной эффективности этих технических решений они не получили практического применения.
Коэффициенты внутреннего и внешнего трения в зоне контакта частиц почвы с рабочей поверхностью детали, имеющей форму трехгранного клина, оказывают значительное влияние на изменение скорости относительного перемещения частиц под действием поступательной скорости детали
vотн = vn cos

, (3)где vn – поступательная скорость перемещения детали;
- угол отклонения рабочей поверхности детали от направления движения;
- угол наклона рабочей поверхности клина к горизонту в плоскости, перпендикулярной режущей кромке;f - коэффициент трения почвенных частиц о металлическую поверхность детали;
f1 - коэффициент трения между частицами почвы;
ψ - угол отклонения абсолютной траектории перемещения частиц от нормали к рабочей поверхности.
Рабочие углы установки полевой доски корпуса плуга равны нулю и относительная скорость равна:
vотн = vn
. (4)Путем анализа применяемых схем наплавки твердого сплава и условий взаимодействия контактного слоя с рабочей поверхностью детали установлено, что наиболее эффективным методом снижения связности контактного слоя почвы и скорости относительного перемещения частиц является приповерхностное рыхление при напряжениях, превосходящих предел прочности почвы в режиме интенсивного скалывания абразивных частиц под действием динамического давления направленного потока почвы (рисунок 1).

Рисунок 1 - Схема взаимодействия контактного слоя почвы с поверхностью детали, где Vn – поступательная скорость перемещения, hсл – высота контактного слоя почвы, t – шаг наплавки:
1 - сечение полосы наплавки; 2 - поверхность детали; 3 - поверхность торможения контактного слоя почвы; 4 - переходные зоны полос наплавки; 5 - застойные зоны почвы на поверхности детали.
В третьем разделе “Методика экспериментальных исследований, применяемое оборудование и приборы” включает проведение экспериментальных исследований по следующим направлениям:
1. Оценка технического состояния выбракованных после эксплуатации отвалов плугов.
2. Совершенствование технологии упрочнения рабочих поверхностей плужных корпусов путем оптимизации режимов дуговой наплавки покрытыми электродами с использованием современных средств компьютерного моделирования тепловых процессов нагрева основного металла.
3. Оценка качества формирования металлопокрытий с учетом показателей твердости и микротвердости основного и наплавленного металла.
4. Проведение полевых испытаний лемешно – отвальных плугов ПЛН – 3 – 35 на базе тракторов МТЗ - 82 с оценкой интенсивности изнашивания деталей по различным вариантам наплавки поверхности.
5. Исследование картины изнашивания поверхности трения деталей плужных корпусов в процессе полевых испытаний.
Экспериментальные исследования проводились на натурных деталях одной партии. Твердость упрочненных поверхностей деталей определяли по методу Роквелла на приборе ТК – 2 в соответствии с требованиями ГОСТ 9013 – 79. Микротвердость образцов микрошлифов, вырезанных из лемеха, измеряли на приборе ПМТ – 3 (ГОСТ 9450 - 76) при нагрузке на индентор 1Н. Результаты измерений были обработаны с помощью программы “Microsoft Excel”. Микроструктура металла определялась с помощью микроскопа МЕТАМ ЛВ – 34.
В четвертом разделе “Технологическое обеспечение рациональных параметров упрочнения несущей поверхности плужных корпусов прерывистой наплавкой покрытыми электродами” приведены экспериментальные исследования основных технологических факторов, определяющих качество наплавки одиночных валиков и наплавки точечных покрытий с использованием аналитических зависимостей теории распространения теплоты, предложенных в работах Н.Н. Рыкалина, М.Х. Шоршорова, А.Е. Вайнермана, Г.Л. Петрова, развитых и усовершенствованных В.А. Кархиным и Н.А. Сосниным в виде программы “PLASMET”.
Выбор рациональных технологий осуществлялся путем сравнения характеристик твердости основного и наплавленного металла, исследования микроструктуры металлопокрытий, применения компьютерного моделирования при расчете тепловых процессов нагрева основного металла.
Данные по микротвердости металла наплавленного слоя (рисунок 2) характеризуют качество металлопокрытий с использованием различных присадочных материалов.

Рисунок 2 – Изменение микротвердости наплавленного слоя:
1 – электродом Т – 590 по слою порошка «Сормайт - 1»;
2 – электродом Т – 590; 3 – проволокой Нп – 30ХГСА в среде СО2,
где НМ – наплавленный металл; ПЗ – переходная зона; ОМ – основной металл.
Использование в работе компьютерной программы “PLASMET” в режиме диалога позволяет максимально увеличить скорость вычисления и точность полученных результатов.
Учитывая, что при наплавке источник теплоты, как правило, является поверхностным для аналитических расчетов принято следующее уравнение:
(5)где Qэ – эффективная мощность источника теплоты, Вт; – теплопроводность металла изделия, Вт/(мК); s – толщина плоского слоя (изделия), м; t0 = Rq2/4a, а – температуропроводность, м2/с; Rq – эффективный радиус пятна нагрева, м; v – скорость наплавки (скорость движения по оси x), м/с; tm – время действия источника теплоты, с.
В
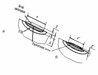
качестве расчетной зоны, ограниченной координатами температуры плавления основного металла Тпл-о, принимается зеркально отраженная относительно наплавляемой поверхности зона наплавки (рисунок 3) при равенстве теплосодержания единичного объема наплавляемого и основного металла: Hн = Hо .Рисунок 3 - Поперечное сечение зоны наплавки при Hн = Hо
Для дуговой наплавки покрытым электродом по Петрову Г.Л. в расчетах приняты: ηэ = Qэ/(Iд Uд) ≈ 0,7 - 0,8; Rq ≈ 5…10 мм, с учетом теплофизических характеристик (таблица 1).
Таблица 1 - Теплофизические характеристики, используемые в расчетах
| Материал | Tпл, оС | Hпл , Дж/(мм3) | H *), Дж/(мм3) | с, Дж/(кгК) | a, мм2/с | , Вт/(ммК) | , 10 –6 кг/(мм3) |
| Углеродистая и низколегированная сталь | 1500 | 2,1 | 9,5 | 649 | 8,0 | 0,040 | 7,7 |
*) – H – полное теплосодержание единичного объема металла, в котором учитывается теплота фазовых превращений, включая теплоту плавления Hпл ;
с, a – среднее значение удельной теплоемкости и температуропроводности без учета теплоты плавления.
Реализованная в программе “PLASMET” методика расчета позволяет прогнозировать режимы дуговой наплавки деталей плужных корпусов по условиям распространения теплоты в стальных пластинах определенной толщины при средней погрешности расчетов, не превышающих 9%, в том числе с учетом воздействия краевого эффекта. Поверхностное распределение температур в зоне пятна наплавки точечной поверхности ø 20 мм на лемешную сталь электродом Т – 590 по слою порошкового сплава «Сормайт-1», при эффективной тепловой мощности дуги Qэ = 3600 Вт, указывает на образование незначительной околошовной зоны (рисунок 4).

а
б
Рисунок 4 – Изотермы распределения температур (б) при последовательной шаговой наплавке третьей точки (а) на поверхность лемеха
В пятом разделе приведены результаты эксплуатационных испытаний опытных деталей (таблица 2). Дано обоснование эффективности разработанной технологии упрочнения и повышения износостойкости плужных корпусов с использованием наплавочных твердых сплавов.
* Расчеты с использованием программы “PLASMET” выполнены при участии профессора кафедры “Сварка и лазерные технологии” Санкт-Петербургского государственного технического университета, д.т.н. Соснина Н.А.
Таблица 2 – Интенсивность изнашивания плужных лемехов по результатам полевых испытаний в условиях песчаных и супесчаных почв
| Испытуемые детали | Наработка на лемех, га | Интенсивность изнашивания, г/га |
| Серийные в состоянии поставки | 10 – 12 | 98 |
| Серийные, наплавленные малоуглеродистым электродом в сочетании с термоупрочнением валика и околошовной зоны | 18 – 20 | 66 |
| Серийные, наплавленные электродом Т – 590 по слою порошка «Сормайт-1» | 30 - 32 | 39 |
Как показали испытания полевых досок и отвалов плугов, наплавленных электродом Т – 590 по слою порошкового сплава «Сормайт-1», интенсивность изнашивания поверхности груди отвалов и пятки полевых досок в условиях обработки песчаных и супесчаных почв в сравнении с износом поверхности лемехов по выбраковочным показателям оказалась практически одинаковой.
Ожидаемый экономический эффект от применения разработанной технологии упрочнения деталей лемешно – отвальных плугов дуговой наплавкой твердыми сплавами в расчете на 1000 га составит 115500 руб.
Выводы и основные результаты
1. Обобщающей характеристикой интенсивности поверхностного трения при основной обработке почвы является ускоренное изнашивание рабочих поверхностей корпуса плуга, обусловленное неравномерным распределением удельного давления почвы при ее относительном перемещении, что увеличивает расход металла и затраты на запасные части.
2. Упрочнение деталей дуговой наплавкой твердыми сплавами является наиболее технологичным и универсальным способом повышения износостойкости быстроизнашиваемых поверхностей, при этом перспективным направлением снижения интенсивности изнашивания плужных корпусов является развитие и совершенствование методов прерывистой наплавки, способствующих экономии технологической энергии и присадочных материалов при снижении перегрева тонкостенных поверхностей деталей.
3. Коэффициент поверхностного трения деталей при обработке различных почв колеблется от 0,29 до 0,9. К наиболее значимым факторам изменения абразивных свойств почвы различного структурного состояния, механического состава и влажности относится плотность контактного слоя в зоне взаимодействия с поверхностью детали.
4. На основании теоретических исследований установлены технологические критерии изменения абразивных свойств почвы и ее изнашивающей способности, которые основываются на принципах рыхления контактного слоя и снижения связности направленного потока почвы в области взаимодействия с поверхностью детали, обладающей неровностями на пути трения.
5. Разработанная технология упрочнения деталей лемешно – отвальных плугов дуговой наплавкой твердыми сплавами реализует дифференцированный подход к изменению контактного трения путем обеспечения рационального формирования геометрии и качества наплавки быстроизнашиваемых поверхностей с использованием электродов Т – 590 и порошкового сплава «Сормайт-1», образующих в структуре наплавленного слоя карбидные включения, повышающие микротвердость наплавленного слоя и его сопротивление изнашиванию.
6. По результатам полевых испытаний деталей плужных корпусов, упрочненных методом прерывистой наплавки твердыми сплавами, наработка на лемех при обработке песчаных и супесчаных почв для различных металлопокрытий составляет от 28 до 32 га на деталь. Интенсивность изнашивания плужных лемехов по сравнению с серийными деталями уменьшается в 2,5 – 3 раза, а по сравнению с лемехами, наплавленными малоуглеродистыми электродами в сочетании с термоупрочнением металла околошовной зоны, в 1,6 раза.
7. Предложенные схемы формирования покрытий дуговой наплавкой твердыми сплавами при упрочнении деталей плужных корпусов (лемехов, отвалов и полевых досок) реализуют практическую возможность получения более равнопрочных поверхностей трения. Ожидаемый экономический эффект от применения разработанной технологии упрочнения быстроизнашиваемых деталей лемешно – отвальных плугов в расчете на 1000 га пашни составляет 115500 руб.
Основные положения диссертации и результаты опубликованы
в следующих работах:
Авторские свидетельства, патенты
1. Пат. 2274526 Российская Федерация, В23 К 9/04; В23 Р 6/00. Способ упрочнения лемехов плугов из среднеуглеродистых и высокоуглеродистых сталей [Текст] / Михальченков А.М., Ганеев Ю.М., Будко С.И., Капошко Д.А.; заявитель и патентообладатель Брянская госуд. с/х академия. – № 2004105754/02; заявл. 25.02.04; опубл. 20.04.06, Бюл. № 11. – 3с.: ил.
2. Пат. 2270259 Российская Федерация, С21 Д 1/09; С21 Д 9/18; В23 К 9/04. Способ упрочнения деталей из среднеуглеродистых и низкоуглеродистых сталей [Текст] / Михальченков А.М., Ганеев Ю.М., Лямзин А.А., Будко С.И., Капошко Д.А.; заявитель и патентообладатель Брянская госуд. с/х академия. – № 2004113918/02; заявл. 05.05.04; опубл. 20.02.06, Бюл. № 5. – 3с.: ил.
Публикации в изданиях, рекомендуемых ВАК
3. Михальченков А.М., Будко С.И., Кожухова Н.Ю. О критериях предельного состояния плужных лемехов, эксплуатируемых на почвах юго-западного региона России [Текст] // Достижение науки и техники АПК.– 2008.– №1.– с.43 – 45.
4. Михальченков А.М., Козарез И.В., Будко С.И., Паршиков П.А. Способы армирования лемехов для почв с различной изнашивающей способностью [Текст] // Тракторы и сельхозмашины. – 2009. – №1. – с. 46 – 49.
5. Ожегов Н.М., Капошко Д.А., Будко С.И. Методы снижения изнашивающей способности почвы при трении деталей почвообрабатывающих машин [Текст] // Известия Санкт – Петербургского государственного аграрного университета. – 2009. – №13. – с. 132 – 143.
Публикации в других изданиях
6. Будко С.И. Анализ методов восстановления и упрочнения отвалов плугов [Текст] // Сборник научных работ молодых ученых-аграриев центрального федерального округа «Молодые ученые - аграрной науке и производству». – Выпуск 1. – Брянская ГСХА. – 2003. – с. 89 -93.
7. Будко С.И., Зуева Д.С., Пехтерев М.М. Об изменении геометрии отвалов плугов после их эксплуатации [Текст] // Сборник научных работ «Конструирование, использование и надежность машин сельскохозяйственного назначения». – Брянская ГСХА. – 2004. – с. 164 – 169.
8. Михальченков А.М., Будко С.И., Капошко Д.А., Пехтерев М.М. Повышение ресурса деталей из средне и высокоуглеродистых сталей упрочнением их сварочным армированием [Текст] // Сборник научных работ «Конструирование, использование и надежность машин сельскохозяйственного назначения». – Брянская ГСХА. – 2005. – с. 151 – 156.
9. Михальченков А.М., Будко С.И., Паршиков П.А. Увеличение долговечности плужных лемехов восстановлением их наплавкой и упрочнением сварочным армированием [Текст] // Научный журнал «Вестник» ФГОУ ВПО Брянская ГСХА. – 2005. – №2. – с. 46 – 51.
10. Михальченков А.М., Будко С.И., Кожухова Н.Ю. Восстановление и упрочнение лемехов [Текст] // Сельский механизатор.- 2007.- № 7.- с. 40 - 41.
11. Будко С.И., Зуева Д.С. Увеличение ресурса плужных лемехов восстановлением их заплавкой лучевидного износа [Текст] // Сборник научных работ «Конструирование, использование и надежность машин сельскохозяйственного назначения». – Брянская ГСХА. – 2007. – с. 84 – 89.
12. Ожегов Н.М., Капошко Д.А., Будко С.И. Повышение эффективности упрочнения деталей почвообрабатывающих машин методом дуговой наплавки твердыми сплавами [Текст] / Ресурсосберегающие технологии ремонта, восстановления и упрочнения деталей машин, механизмов, оборудования, инструмента и технологической оснастки от нано- до макроуровня // Материалы 11-й Международной научно – практической конференции. Часть I – СПб.: Изд – во Политехнического университета. – 2009. – с. 144 – 151.
