“Удосконалення технологічного процесу збирання сільськогосподарських культур шляхом модернізації запобіжного пристрою ” присвячена вирішенню ряду проблем, зокрема питанню використання неякісних сільськогосподарських запасних частин, вихід з ладу яких призводить до втрати часу на збирання сільськогос
| Вид материала | Документы |
- Методичні рекомендації щодо оптимального співвідношення сільськогосподарських культур, 803.1kb.
- Методика наукового дослідження економічної ефективності використання основних фондів, 317.09kb.
- Програма тренінгу з тайм-менеджменту: Оцінка стилю використання робочого часу. Аналіз, 23.66kb.
- Розробити рекомендації, спрямовані на удосконалення організаційної структури сільськогосподарських, 55.62kb.
- Сільське господарство, 42.36kb.
- За останні двадцять років ми стали свідками корін них змін у галузі збирання, збереження, 115.79kb.
- Методика наукових досліджень тимчасова програма для вищих агарних закладів освіти 3-4, 157.36kb.
- Реферат на тему: Методи збирання соціологічної інформації, 609.13kb.
- Чуднівський район аграрний. Сільськогосподарською діяльністю займається 30 сільськогосподарських, 14.75kb.
- Кі здатні модернізувати зміст своєї діяльності шляхом критичного, творчого її удосконалення,, 84.66kb.
Черниш Микола Михайлович
Полтавська державна аграрна академія
УДОСКОНАЛЕННЯ ТЕХНОЛОГІЧНОГО ПРОЦЕСУ ЗБИРАННЯ СІЛЬСЬКОГОСПОДАРСЬКИХ КУЛЬТУР ШЛЯХОМ МОДЕРНІЗАЦІЇ ЗАПОБІЖНОГО ПРИСТРОЮ
Науковий напрям: 12. Сільськогосподарські науки
12.1. Механізація та електрифікація
Ключові слова: Технологічний процес, запобіжний пристрій, машинобудування, зернозбиральні комбайни, обертові механізми.
Актуальним питанням сьогодення в агропромисловому комплексі є проблема використання неякісних сільськогосподарських запасних частин. Наукова робота на тему “Удосконалення технологічного процесу збирання сільськогосподарських культур шляхом модернізації запобіжного пристрою ” присвячена вирішенню ряду проблем, зокрема питанню використання неякісних сільськогосподарських запасних частин, вихід з ладу яких призводить до втрати часу на збирання сільськогосподарських культур та проведення технологічного процесу.
В сучасному сільському господарстві набули широкого застосування запобіжні пристрої, які використовують при роботі різних машин та агрегатів, зокрема зернозбиральних комбайнів, таких як КЗС – 9 – 1 “Славутич”, ДОН – 1500, СК – 5 “Нива” та агрегатів: БМ – 6, ЖВМ – 6, ЖКС – 4,2. Кожний із запобіжних пристроїв має свої певні недоліки, тому нами поставлено на меті вдосконалити запобіжний пристрій обертових механізмів.
Мета проекту – покращення технологічного процесу збирання сільськогосподарських культур шляхом модернізації запобіжного пристрою валів обертання.
Аналіз стану питання. Існуючі запобіжні пристрої зображені на рис.1.


Рис. 1. Запобіжні пристрої: а – зі зрізним штифтом; б – кулачкова муфта.
Їх використовують при неможливості встановлення пружної муфти, коли величина та форма навантаження має випадковий характер, і привод вимагає захисту від перенавантаження. Тому виникає необхідність застосовування запобіжних пристроїв, що розмикають кінематичний ланцюг при систематичних перенавантаженнях. Існує декілька видів запобіжних пристроїв (рис.1), але всі вони мають певні недоліки, а саме: невчасне спрацювання, одноразовість використання, трудомісткість заміни тощо.
Тому, нами було поставлено на меті удосконалення запобіжного пристрою зернозбирального комбайна КЗС – 9 – 1 “Славутич”. Існуючий запобіжний пристрій [1,2] працює таким чином: при забиванні завантажувального шнека бункера, зернового шнека або елеватора створюється крутні моменти, що компенсуються проковзуванням зубів муфти. При цьому зірочка відсувається в бік, що призводить до зіскакування ланцюга. В результаті цього ланцюг намотується на зірочку вала верхнього контр приводу і заклинює обертання валу, що призводить до його згинання, а з іншого боку відбувається згинання кожуха зернового елеватора. В результаті чого виходить з ладу велика кількість вузлів і механізмів. В більшості випадків їх повністю замінюють, а їх ремонт під час збирання урожаю займає приблизно 7 днів, в результаті чого господарство несе дуже великі збитки.
З метою запобігання виходу з ладу (поломки) валів механізмів та захисного обладнання нами запропоновано виготовити шайбу, зовнішній діаметр якої становить 110 мм, а внутрішній співставний діаметру різьби вала. Шайба 3 (рис.2) товщиною h (не менше 6 мм), закріплена на валу 1 після зірочки 2, що не дає змоги зіскакування ланцюга 4.

Рис. 2. Кінематична схема передачі зірочка – муфта.
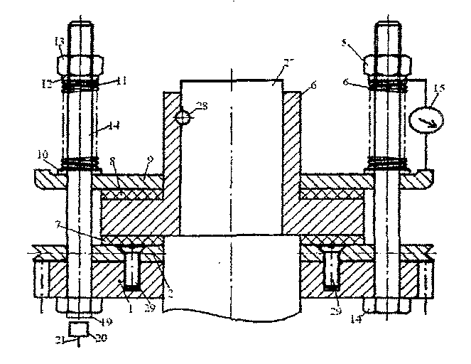
Модернізований запобіжний пристрій (рис.3) складається з зірочки, яка зв’язана із шківом за допомогою хоча б одного гвинта (заклепки). Ступиця затиснута нижньою та верхньою фрикційними накладками. Причому верхня фрикційна накладка притискується до ступиці за допомогою фланця, який зв’язаний із спеціальними шайбами.

Рис. 3. Модернізований запобіжний механізм.
Пружини натискають на спеціальні шайби і контактують із верхніми спеціальними шайбами, переміщення яких обмежується гайками. Гайки прикріплено на болтах, що з’єднані із зірочкою і шківом. Силу стискання пружин регулюють закручуванням гайок та контролюють динамометром.
Запобіжний пристрій ( рис.3) працює наступним чином. При заклинюванні валу на його кінцях виникають крутні моменти, що компенсуються тертям фрикційних накладок по поверхні ступиці, шайби і фланця.
В цей час сенсор фіксує порушення початкових умов, а на проводі виникає напруга, яка передається на контакти електричної котушки де створюється електричне магнітне поле, що замикає контакти. Утворене таким чином електричне замкнене коло (рис. 4), в яке включено електролампу чи світло діод, звуковий сигналізатор, є автоматичною світловою сигналізацією порушення початкових умов роботи запобіжного пристрою. Вимикання світлової та звукової сигналізації відбувається автоматично після початку роботи вузла чи механізму. Таким чином, відбувається запобігання викручування, згину (поломки) валу.

Рис.4. Електрична схема автоматичного пристрою контролю та сигналізації технологічного процесу.
Новизна технічного рішення підкріплена патентом України на корисну модель №33547 [3]. Впровадження, проведене в АОПП “Великосороченське” (дов.№294). Економічний ефект від впровадження цього вузла склав 1392 грн. 00 коп. Запропонований запобіжний механізм підтверджений математичними та економічними розрахунками.
Розрахунок заклепочних з’єднань .
Задаючись діаметром заклепки dз = 12 мм, та допустимими напруженнями, маємо:
[σзр] = 100 МПа;
[σзм] = 320 МПа;
[σр] = 160 МПа.
Розв’язання.
- Ширину вибираємо із конструктивних умов b = 6·d = 72 мм.
- Перевіряємо умову зрізу заклепок:

- Перевіряємо умову зминання заклепок:

- Перевіряємо умову розриву металу:

Економічна ефективність конструкторської розробки:
Вартість виготовлення запобіжної муфти:
Зв = Зо + Ззв + Зк ,
де Зо – витрат на виготовлення оригінальних деталей, грн.;
Ззв – загальновиробничі витрати, грн.;
Зк – куплені деталі (їх вартість), грн.
Зо = Ззп + Зм ,
де Ззп – заробітна плата, грн.;
Зм – вартість матеріалу заготовки, грн.
Ззп = Тр Стс ,
де Тр – витрат часу на виготовлення деталей, год. (орієнтовно 18 год.);
Стс – годинна тарифна ставка, грн./год.
Ззп = 12 3,7 = 44,4 грн.
Зм = Сс + Сф + Сш + Сфр ,
де Сс,Сф, Сш, Сфр – відповідно, вартість матеріалу для виготовлення ступиці, фланця, шайби і феред.
Зм = 25 + 20 + 15 + 10 2 = 80 грн.
Отже, Зо = 44,4 + 80 = 124,4 грн.
Ззв =
, де Зпз – повна заробітна плата з відрахуваннями на пенсійний фонд, фонд соціального страхування, фонд безробіття, фонд від нещасних випадків грн.;
а – відсоток загальновиробничих витрат до зарплати робітників (а=15%).
Зпз = Ззп + Зсоц + Зпф + Зб.ф. + Зн.в. ,
де Зсоц – відрахування в фонд соціального страхування, грн.;
Зпф – відрахування в пенсійний фонд, грн.;
Зб.ф. – відрахування в фонд безробіття, грн.;
Зн.в. – відрахування в фонд страхування від нещасних випадків, грн.
Зп.ф. = Ззп б / 100%;
Зсоц = Ззп в / 100%;
Збф = Ззп г / 100%;
Зн.в. = Ззп д / 100%,
де б, в, г, д – відсоток відрахувань в пенсійний фонд, на соціальне страхування, фонд по безробіттю і від нещасних випадків, відповідно, грн.
(б = 32%, в = 2,1%, г = 1,9%, д = 1,29%).
Зп.ф. = 44,4 32 / 100 = 14,2 грн.
Зсоц. = 44,4 2,1 / 100 = 0,93 грн.
Зб.н. = 44,4 1,9 / 100 = 0,84 грн.
Зн.в. = 44,4 1,29 / 100 = 0,57 грн.
Отже,
Зпз = 44,4 + 14,2 + 0,93 + 0,84 + 0,57 =60,94 грн.
Тому, Ззв =
= 9,14 грн.Зк = Зпід + Згідро + Зб ,
де Зпід – вартість пружин, грн., Зпр = 30 грн.;
Згідро – вартість зірочки, грн., Ззр = 60 грн.;
Зб – вартість болтів, грн., Зб =15 грн.
Зк = 60 + 30 + 15 = 105 грн.
Отже, Зв = 124,4 + 9,14 + 105 = 238,54 грн.
Загальна вартість конструктивної розробки визначаємо за формулою:
Зу = Зв + Зпров + Зреле + Здат ,
де Зпров – вартість провідників, грн., Зпров = 27 грн.;
Зреле – вартість реле, грн., Зреле = 175 грн.;
Зкн – вартість датчика спрацювання, грн., Здт = 20 грн.
Зу = 238,54 + 175 + 20 + 27 = 460,5 грн.
Економічну ефективність капітальних вкладень для виготовлення розробки визначаємо за формулою:
Е = (Сс n) – Зу ,
де Сс – витрати на ремонт вузла при поломці, грн. (за даними господарства 617,9 грн.);
n – кількість випадків поломок (в даному господарстві n = 3 шт.).
Е = (617,9 3) – 460,5 = 1390 грн.
Строк окупності О (років) капіталовкладень на переобладнання техніки визначаємо за формулою:
О =
, О =
роки.Результати розрахунків зведемо в таблицю 6.1.
Таблиця 6.1 - Техніко-економічні показники
-
П о к а з н и к и
Значення
Вартість оригінальних деталей, грн.
124,4
Вартість купівельних деталей, грн.
105
Загальна вартість вузла, грн.
460,5
Зарплата на складання розробки, грн.
60,94
Термін окупності, років
0,330
Економічна ефективність, грн
1390
Висновки: Приведені розрахунки засвідчують, що запобіжний пристрій дає можливість безпечно і безаварійно проводити технологічні операції (обертання валів) та забезпечувати працездатність великої кількості вузлів, механізмів та агрегатів, продовжувати термін експлуатації деталей. Ефективність роботи вузлів і механізмів, відповідно довговічність і економічність підтверджене наступним: напруження зрізу заклепок:
; напруження зминання заклепок:
; напруження розриву металу:
; економічна ефективність: Е= 1390 грн.Запропоноване технічне рішення може бути використане в сільськогосподарському машинобудуванні, зокрема в запобіжних пристроях обертових механізмів та вузлів, зокрема при проведенні та дослідженні технологічних процесів, що дає можливість широкого використання його в технологічних процесах.
Література - відредаговано адміністрацією конкурсу Завтра.UA з метою дотримання принципу анонімного оцінювання роботи.
- Каталог деталей и сборочных единиц. Том 1(Часть 1). – Херсон. Украина – 2005 г.
- Головчук А.Ф, Марченко В.І, Орлов В.Ф. Сільськогосподарські машини. – К.: Грамота, 2005. – 576 с.
- Патент №33547 України, МПК (2006) F16,A01D75/00, A01F21/00. Запобіжний пристрій / Безуглий В.М., Слинько О.П.,Хейло М.І., Гунько В.І., Запорожець М.І.,Лозовський А.П.,Прасолов Є.Я. Україна). - №u200802830; заявл. 04.03.2008;опубл. 25.06.2008. – Бюл. №12. – 6 с.
- Слинько О.П. Модернізований запобіжний механізм.: Збірник студентських наукових праць, Випуск 1.:Полтава – 2008.
- Иванов М.Н. Детали машин, - М.: Вища школа, 1984.
- Чернявский С.А. Курсовое проектирование деталей машин. – М.: Машиностроение, 1987.
