И. И. Ползунова Кафедра «Безопасность жизнедеятельности» Гергерт В. Р., Стуров Д. С. Защита от шума (ауд. 404 а, кафедра бжд) Методические указания
| Вид материала | Методические указания |
- И. И. Ползунова Стуров Д. С. Защита от электрического тока техническими средствами, 345.62kb.
- И. И. Ползунова Кафедра Безопасность жизнедеятельности Шамов Ю. А. Белоусова, 911.68kb.
- И. И. Ползунова Стуров Д. С., Белоусова Н. Н., Авдеев Е. Н. Определение загрязненности, 481.1kb.
- Вопросы к зачету по дисциплине «Безопасность жизнедеятельности» для групп Э5-71, Э5-72,, 40.84kb.
- Конкурс дипломных проектов по специальности 280101 «Безопасность жизнедеятельности, 110.05kb.
- Безопасность жизнедеятельности. Предмет и объект изучения дисциплины бжд. Цель и задачи, 40.14kb.
- Методические указания по выполнению практических/лабораторных работ для студентов, 652.21kb.
- Богданова Эмма Васильевна Гронь Вера Александровна Максименко Людмила Семеновна Степанов, 554.03kb.
- Методические указания содержат требования к разделу «Безопасность жизнедеятельности», 515.31kb.
- Рабочая программа по дисциплине «безопасность жизнедеятельности» для специальности, 565.42kb.
Министерство образования Российской Федерации
Алтайский государственный технический университет
им И.И. Ползунова
Кафедра «Безопасность жизнедеятельности»
Гергерт В.Р., Стуров Д.С.
Защита от шума
(ауд. 404а, кафедра БЖД)
Методические указания к выполнению лабораторной работы по
дисциплине «Безопасность жизнедеятельности»
для студентов всех форм обучения
Барнаул 2003 г
УДК 628.517.2 (075.5)
Гергерт В.Р., Стуров Д.С. Защита от шума: Методические указания к выполнению лабораторной работы по дисциплине «Безопасность жизнедеятельности» для студентов всех форм обучения /Алт.Гос.техн.ун-т им. И.И. Ползунова.- Барнаул: Изд-во АлтГТУ, 2003.
В работе приведены основные понятия, характеристики и определения по шуму. Даны сведения о нормировании и методах защиты от шума. Описан стенд оригинальной конструкции, выполненный по проекту В.Р. Гергерта и порядок выполнения задания по выбранному варианту. Приведены контрольные вопросы и литература для самоподготовки
Методические указания рассмотрены и одобрены на заседании кафедры «Безопасность жизнедеятельности»
Цель работы
Освоить: Основы защиты от производственного шума, методы измерения шума современными техническими средствами; оценивать результаты в сравнении с санитарными нормами.
Последовательность выполнения работы
- Ознакомиться с методическими указаниями и уяснить их содержание.
- Выбрать самостоятельно или с помощью преподавателя вариант задания (табл.2) и выполнить его в полном объеме.
- Ответить на контрольные вопросы (п.4.7)
- Оформить отчет в объеме п. 4.6 и защитить его у преподавателя.
- Основные понятия и определения
- Звук и шум
Современного человека шум преследует всюду: на производстве, в быту, на транспорте и т.д.
Шум на производстве наносит большой ущерб, вредно действуя на организм человека, снижает производительность труда, приводит к утомлению, увеличению ошибок в работе, к травматизму и заболеваниям.
С физиологической точки зрения, шумом называется всякого рода нежелательные для человека звуки, которые мешают восприятию полезных звуков, нарушают тишину и покой людей, оказывают вредное или разрушающее действие на организм человека.
С физической точки зрения, шум это, как правило, беспорядочное сочетание (нагромождение) множества разнообразных единичных звуков, отличающихся своей интенсивностью и частотой, например, шум в механическом цехе от разнообразных станков, шум в торговом зале магазина, в студенческой аудитории и т. п.
Как физическое явление шум – волновое колебание упругой среды. Отсюда выходит, что звуки могут распространяться не только в упругой воздушной среде, но и в жидкостях, металлах, земной коре и т.п.
- Физические характеристики шума
Звуковыми волнами называются колебательные возмущения, распространяющиеся от источника звука в окружающей среде, а пространство, в котором они наблюдаются, называется звуковым полем.
В каждой точке звукового поля давление и скорость движения частиц воздуха изменяются во времени.
Разность между мгновенным значением полного давления и средним давлением, которое наблюдается в невозмущенной среде, называется звуковым давлением
, Па. На человеческий слух действует средний квадрат звукового давления.Длиной звуковой волны называется расстояние, измеренное вдоль направления распространения звуковой волны между двумя точками звукового поля, в которых фазы колебаний одинаковые.

, мгде υ - скорость звука, м/с
- частота колебаний, Гц.При распространении звуковой волны происходит перенос энергии.
Средний поток энергии в какой - либо точке среды в единицу времени, отнесенный к единице поверхности, нормальной к направлению распространения волны, называется интенсивностью звука в данной точке
, Вт/м2.Величины звукового давления и интенсивность звука, с которыми приходится иметь дело в практике борьбы с шумом, могут изменяться в очень широких пределах. Так человек способен воспринимать звуковые давления в диапазоне величин от Pmax (болевой порог слышимости) до P0 (минимально ощутимый звук) отличающихся друг от друга в 108 раз, а по интенсивности этот диапазон Jmax/J0 отличается еще больше – в 1016 раз.
Естественно, оперировать такими шкалами величин неудобно, к тому же ощущения человека при воздействии шума пропорциональны логарифму количества энергии раздражителя. Поэтому были введены логарифмические величины – уровни звукового давления Lp и уровни интенсивности LI, которые позволили сократить шкалу измеряемых величин от 0 да 140 децибел.
Уровень интенсивности звука определяют по формуле:
, дБ (1)Уровень звукового давления определяется по формуле
, дБ (2)При пороговых значениях J0 =10-12 Вт/м2 и P0 =2∙10-5 становятся равными уровни LI =LP =L – уровень звукового давления.
Эта характеристика широко применяется в практике измерений и при нормировании шума. Звуковое давление и интенсивность звука являются характеристиками звукового поля в определенной точке пространства.
Характеристикой непосредственно источника шума является его звуковая мощность N (Вт) – это общее количество звуковой энергии, излучаемое источником шума в окружающее пространство за единицу времени.
Уровень звуковой мощности LN определяется по формуле
, дБ (3)где N звуковая мощность источника, Вт;
No – пороговая (минимально ощутимая) величина звуковой мощности, равная
10-12 Вт.
Частотный спектр шумов - это зависимость среднеквадратичных значений амплитуд параметров (P, J, L) синусоидальных составляющих единичных звуков от частоты колебаний (рис 1).

а, б, в – единичные синусоидальные звуки;
г – частотный спектр шумов а, б, в … п, т.е. суммарная графическая зависимость P, J, L всех единичных звуков от частоты f, Гц; 0,1,2,3… п октавные полосы частот.
Рисунок 1-Частотный спектр шумов
Если частотный спектр разделить на участки (полосы частот) таким образом, чтобы верхняя граница полосы по частоте была в 2 раза больше нижней границы, то такое деление спектра называется октавным делением, а сама полоса считается октавной полосой, т.е. если f2 = 2f1; f3 = 2f2 и т.д.
При нормировании шума, исследованиях производственных шумов октавные полосы частот представляют не двумя граничными частотами, а одной среднегеометрической частотой fСГ (рис 1), которая определяется соотношением:
, Гц (4)где f1 и f2 нижняя и верхняя граничные частоты.
По воздействию на человека шумы подразделяются на низкочастотные (f<400Гц), малораздражительные для организма человека; среднечастотные (f=400 – 1000 Гц), и высокочастотные шумы (f>1000Гц) – это очень раздражительные шумы.
Шум частотой f = 0 – 20 Гц не слышимый для человека называется инфразвук.
Шум частотой f = 20 – 20000 Гц это слышимые шумы. Шум f >20 кГц называется ультразвук - неслышимый для человека.
- Количественная оценка уровней шума
Уровни звукового давления или звуковой мощности являются логарифмическими величинами, поэтому над ними нельзя производить обычные арифметические действия (сложение, деление и т.д.)
Непосредственно суммировать и вычитать можно только энергетические характеристики шума: интенсивность или пропорциональный ей квадрат звукового давления.
Если пользоваться непосредственно значениями уровней в децибелах (дБ), то уровень звукового давления суммарного звука от нескольких разных источников может быть рассчитан по формуле,
,дБ (5) где n - общее число слагаемых уровней шума;
L1, L2, L3 … Ln – уровни звукового давления источников 1, 2, 3 …n.
Рассмотрим частные случаи, вытекающие из анализа формулы (5)
Если имеется n одинаковых источников шума с уровнем звукового давления L, создаваемым каждым источником, то суммарный шум определяется по формуле:
(6)Например, два одинаковых источника совместно создадут уровень на 3 дБ больший, чем каждый, а 100 одинаковых источников составят прибавку к L только 20 дБ (см. таблицу).
| Число источников шума | 1 | 2 | 3 | 4 | 5 | 6 | 8 | 10 | 20 | 40 | 50 | 70 | 100 |
| Добавка к уровню одного источника, дБ | 0 | 3 | 5 | 6 | 7 | 8 | 9 | 10 | 13 | 16 | 17 | 18,5 | 20 |
Суммарный уровень звукового давления при одновременном действии двух неодинаковых источников с уровнями L1, L2 определяется по формуле:
(7)где L1 - , больший из двух суммируемых уровней, дБ;
- поправка для суммирования уровней шума, определяемая по таблице.| Разность уровней L1 – L2, дБ | 0 | 1 | 4 | 6 | 8 | 10 | 15 | 20 |
| Поправка , дБ | 3,0 | 2,5 | 1,5 | 1,0 | 0,6 | 0,4 | 0,2 | 0 |
Приведенные зависимости (6) и (7) позволяют сформулировать два принципа шумоглушения:
Принцип 1 – при наличии в помещении большого числа одинаковых источников шума устранение одного, двух и более источников практически не ослабляет общий шум.
Принцип 2 – при наличии в помещении нескольких источников шума, отличающихся своей интенсивностью, для существенного снижения общего шума необходимо выявить и погасить наиболее мощные источники.
- Классификация шумов, воздействующих на человека
- По характеру спектра шума выделяют:
- широкополосный шум, в котором звуковая энергия распределена по всему спектру;
- тональный шум – если прослушивается звук определенной частоты;
- импульсный шум – если шум воспринимается как отдельные импульсы (удары).
1.4.2 По временным характеристикам шумы подразделяются на постоянные и непостоянные.
- Непостоянным называется шум, который в течение смены колеблется более чем, на 5 дБА.
Непостоянные шумы классифицируются на:
- колеблющиеся по времени, уровень звука которых непрерывно изменяется по времени;
- прерывистые, уровень звука которых резко падает до уровня фонового шума;
- импульсные, состоящие из сигналов длительностью менее 1 секунды.
2 Нормирование шума
При нормировании шума используют два метода:
- нормирование уровней звукового давления в октавных полосах;
- нормирование уровней звука в дБА.
Первый метод является основным для постоянных шумов. Здесь нормируются уровни звуковых давлений в восьми октавных полосах частот со среднегеометрическими частотами 63, 125, 250, 500, 1000, 2000, 4000, 8000 Гц.
Второй метод касается нормирования общего уровня шума, измеренного по шкале шумомера А и называемого уровнем звука в дБА. Используется метод для ориентировочной оценки постоянного и непостоянного шума (эквивалентному постоянному шуму по энергии).
Шум на рабочих местах не должен превышать допустимых уровней, значения которых приведены в Гост 12.1.003-83 и СН 2.2.4/2.1.8.562-96 (табл.1)
Таблица 1- Нормы шума по СН 2.2.4/2.1.8.562-96.
| Вид трудовой деятельности, рабочее место | Уровни звукового давления, дБ, в октавных полосах со среднегеометрическими частотами в Гц | Уровни звука и эквивалентные уровни звука дБА | |||||||
| 63 | 125 | 250 | 500 | 1000 | 2000 | 4000 | 8000 | ||
| 1 | 2 | 3 | 4 | 5 | 6 | 7 | 8 | 9 | 10 |
| 1. Творческая и научная деятельность, инженерно-технические отделы заводоуправлений, помещения проектно-конструкторских и технологических бюро. Рабочее место исследователей, программистов, референтов и т.п. | 71 | 61 | 54 | 49 | 45 | 42 | 40 | 38 | 50 |
| 2. Высококвалифицированная, сосредоточенная работа. Административно-управленческая деятельность. Работа в измерительных лабораториях, цеховых конторских помещениях и т.п. | 79 | 70 | 68 | 58 | 55 | 52 | 52 | 49 | 60 |
| 3. Работы, выполняемые по звуковым сигналам, указаниям по телефону, переговорным устройствам, точная сборка мелких объектов, часов, приборов и т. п. | 83 | 74 | 68 | 63 | 60 | 57 | 55 | 54 | 65 |
| 4. Работа, требующая сосредоточенности, внимания за производственными процессами, рабочие места за пультами управлений, в кабинах наблюдения, в помещениях вычислительных машин, экспериментальных участков и т.п. | 91 | 83 | 77 | 73 | 70 | 68 | 66 | 64 | 75 |
| 5. Выполнение всех видов работ на постоянных рабочих местах в производственных помещениях предприятий | 95 | 87 | 82 | 78 | 75 | 73 | 71 | 69 | 80 |
3 Защита от шума
Защита от шума при проектировании произведенных зданий и сооружений, при разработке технологических процессов и организации рабочих мест осуществляется техническими средствами и организационными мероприятиями.
К техническим средствам защиты от шума относятся:
- выбор наименее шумных технологических процессов и оборудования;
- борьба с шумом в источнике звукообразования (путем повышения класса частоты обработки трущихся поверхностей механизмов машин и точности их изготовления, улучшения смазки, применение подшипников скольжения вместо подшипников качения и т.п.).
- ослабление шума на пути распространения с помощью звукоизолирующих и звукопоглощающих устройств (кожухов, перегородок, а также глушителей, облицовки стен и потолка помещений звукопоглощающими покрытиями из стекловаты и иных капиллярно-пористых материалов);
- дистанционное управление шумными машинами и производствами;
- средствами групповой (кабины наблюдения) и индивидуальной защиты (наушники, шлемофоны и т.п.);
Для ограничения вредного воздействия шума применяются следующие организационные мероприятия:
- выбор рационального режима труда и отдыха, предусматривающего ограничение времени шумового воздействия, введение перерывов на отдых в течение рабочей смены;
- применение знаков безопасности, которыми обозначаются зоны повышенной шумности.
4 Устройство и работа лабораторного стенда и
шумомера ВШВ-003 в аудитории 404аВ кафедры БЖД
- Лабораторный стенд
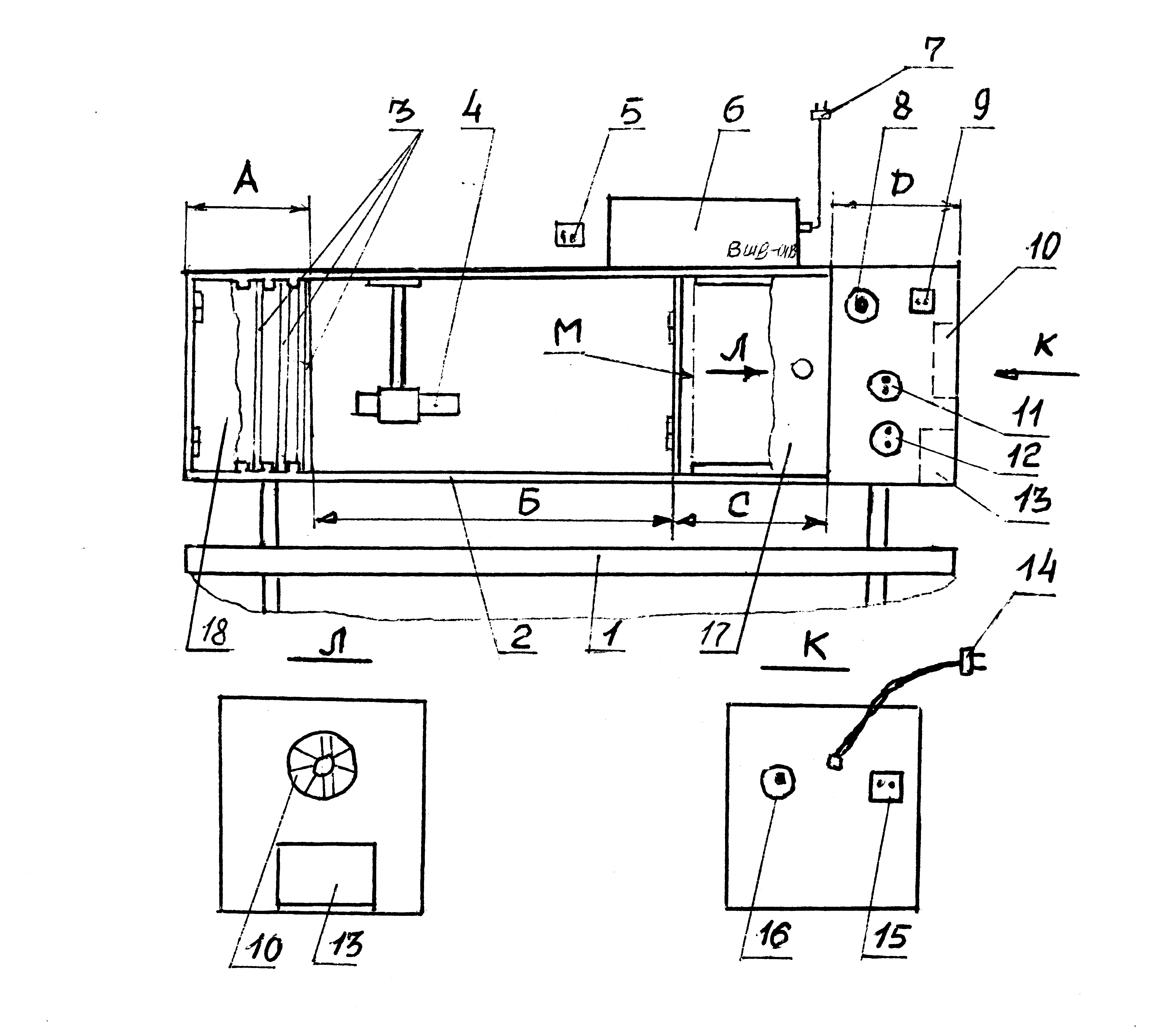
Стенд (рис 2) для исследования шумоизоляции разработан и изготовлен к.х.н., доцентом кафедры БЖД Гергертом В.Р.
На подставке стола 1 установлена шумовая камера 2 и шумомер 6 модели ВШВ-003. Камера разделена на четыре секции: А - для хранения звукоизолирующих пластин 3; Б – секция, имитирующая шумовое поле (пространство) производственного помещения с микрофоном 4; С – секция для установки пластины 3 во время эксперимента в паз М; Д – секция для размещения источников шума – ревуна 10 и звонка 13.
Стенд включается в сетевую розетку 5 вилкой 14. Шумомер 6 подключается к сети вилкой 7 в розетку 15 и включается в работу выключателем 16. Источники шума – ревун 10 и звонок 13 управляются выключателями 11 и 12. Кратковременное включение (не более 30 секунд) источников шума при эксперименте осуществляется звуковой кнопкой 8 (только при ее нажатии).
Секции А и С имеют дверцы 17,18, которые в рабочем положении (при эксперименте) и после работы должны быть плотно закрыты. На панели секции Д предусмотрена розетка 9 для подключения вычислительных средств.

1-стол; 2-шумовая камера; 3-пластины; 4-микрофон; 5-розетка сетевая; 6-шумомер ВШВ-003; 7-вилка шумомера; 8- кнопка звуковая; 9-розетка; 10-ревун; 11-выключатель ревуна; 12-выключатель звонка; 13-звонок; 14-вилка включения стенда; 15-розетка для подключения шумомера; 16-выключатель шумомера; 17,18 дверцы.
А - секция хранения пластин; Б-шумовое пространство; С-секция для установки звукоизолирующих пластин; Д-секция размещения источников шума; М-место установки пластин.
Рисунок 2 - Стенд для исследования шумоизоляции
- Шумомер ВШВ – 003
Прибор ВШВ – 003 (рис 3) предназначен для измерений шума и вибрации. В данном случае прибор используется только для измерений постоянного шума на двух режимах настройки:
1-измерение шума по шкале (на характеристике) шумомера А в дБА;
2- измерение шума в октавных полосах частот от 63 до 8000 Гц.

1-указатель стрелочный; 2-шкала дБ; 3-светодиоды; 4,5-переключатели диапазонов измерений; 6-переключатель октавных фильтров; 7-переключатель рода работ; 8-переключатель фильтров; 9-кнопка включения фильтров; 10-светодиод «перегрузка»; 11,12-кнопки; 13-черная точка на корпусе прибора.
Рисунок 3 - Шумомер ВШВ – 003
Назначение основных органов управления, расположенных на передней панели прибора:
- Указатель децибел от 0 до 10;
- Ступенчатая шкала десятков дБ от 20 до 130;
- Светодиоды (12 шт) высвечивают цифру дБ на шкале 2 во время работы прибора;
4,5 – Переключатели диапазонов измерений. В крайнем левом положении переключатель I показывает цифру 20 дБ, а переключатель II показывает 0 дБ. При ступенчатом повороте по часовой стрелке переключатели I и II , будут показывать светодиодами цифры на шкале 2 соответственно:
I – 20, 30, 40, 50, 60, 70, 80, дБ
II – 0, 10, 20, 30, 40, 50, 60, 70, дБ.
Увеличение диапазона измерений, более 80 дБ достигается добавлением к максимальным показаниям I-го переключателя поворотом по часовой стрелке переключателя II от своего крайнего левого положения (0, против черной точки на корпусе).
Внимание!!! Поворот переключателей ограничен крайними положениями: I = 20; 80 дБ; II = 0; 70 дБ. Во избежание поломок дорогостоящего прибора запрещается в граничных положениях прикладывать повышенное усилие.
6- Переключатель октавных фильтров предназначен для измерений шума в октавных полосах со среднегеометрическими частотами от fСГ =16 Гц до fСГ=8000 Гц поворотом по часовой стрелке от крайнего левого положения, совпадающего 16 Гц с черной точкой на корпусе.
7- Переключатель рода работ предназначен для контроля питания, переключения временных характеристик шумомера: F- быстро, S – медленно и для отключения прибора (откл. против черной точки на корпусе).
8– Переключатель фильтров предназначен для переключения частотных характеристик шумомера А, Б, С, ЛИН поворотом переключателя по часовой стрелке из крайнего левого положения (ЛИИН напротив черной точки на корпусе). Функциональные элементы всех пяти переключателей шумомера показаны на рис. 4.

9- Кнопка для включения октавных фильтров используется при измерении шума в октавных полосах частот.
10- Светодиод включается автоматически при перегрузке прибора. Перегрузка устраняется переводом переключателей I и II на больший уровень показаний шкалы 2.
Рисунок 4 - Переключатели диапазонов измерений (4,5), рода работ (7), и фильтров (6,8) в крайнем (левом) положении на панели шумомера.
4.3 Измерение уровней звукового давления в дБА
Для измерений уровней звукового давления в дБА частотной характеристике шумомера А, необходимо прежде всего прибор настроить на этот режим работы, для чего:
1 – кнопки 9, 11, 12 должны быть выключены (т.е. отжаты);
2 – переключатели 4 и 5 переведены в положение 80 и 50 дБ, соответственно. Это положение для всех видов измерений будем считать первоначальным!!!;
3 – переключатель фильтров 8 установить в положение А;
4 – переключатель рода работ 7 установить в положение S.
Установка переключателей 4, 5, 7, 8 производится их поворотом по часовой стрелке из крайнего левого (начального) положения до совмещения соответствующих отметок с черной точкой 13 на корпусе шумомера.
После настройки прибора на заданный режим работы следует включить стенд в сеть вилкой 14 в розетку 5 (рисунок 2). Шумомер подключается в сеть вилкой 7 в розетку 15 и выключателем 1.
После прогрева (2-3 мин.) прибор готов к работе.
4.3.1 Измерение шума без звукоизоляции
1 – Включите ревун нажатием белой кнопки выключателя 11 (рисунок 2).
2 – Нажатием звуковой кнопки 8 (не более 30 с) проследите за положением стрелки указателя 1. Если стрелка зашкаливает слева или справа указателя, и при этом загорается лампочка перегруз, это свидетельствует о том, что установка переключателей I и II не соответствует силе звука источника.
При правильной установке переключателей I и II стрелка указателя должна находиться на шкале между 0 – 10 дБ.
3 – Результат измерений складывается из показаний стрелочного прибора 1 рис 3 (единицы дБ) и цифры на шкале 2 (десятки дБ) напротив светящегося светодиода 3.
Полученное значение заносится в экспериментальную таблицу 2 в соответствии со своим вариантом задания.
4 – Аналогично описанному производится измерение шума в дБА от звонка 12 (рис. 2), а так же от ревуна и звонка одновременно, суммированный результат заносится в таблицу своего варианта.
5 – Переключатели I и II переводятся в первоначальное положение.
4.3.2 Измерение шума со звукоизоляцией
1 – Из секции А рис. 2 выбирается нужный номер пластины (в соответствии с вариантом задания) и устанавливается в паз М секции С. Затем следует закрыть плотно дверцу 17 и включить ревун 10 и звонок 13 переключателями 11 и 12.
2 – Дальнейшие действия аналогичны п. 2 и 3 подраздела 4.3.1.
3 – Результаты измерений заносятся в экспериментальную таблицу. Переключатель I и II переводят в первоначальное положение.
- Измерение уровней звукового давления в дБ в октавных полосах со среднегеометрическими частотами
fСГ = 63…..8000 Гц
Для измерения уровней звукового давления в октавных полосах частот необходимо настроить шумомер на этот режим работы для чего:
1 – переключатель 8 (рисунок 3 и 4) перевести в положение ЛИН;
2 – нажать на кнопку 9 - ФИЛЬТРЫ ОКТАВНЫЕ;
3 – перевести переключатель 6 в положение 63 Гц (против черной точки 13 на корпусе прибора) и приступить к измерениям.
4.4.1 Измерение шума со звукоизоляцией
1 – В паз М секции С (рис. 2) устанавливается пластина в соответствии с вариантом задания и плотно закрывается дверца 17.
2 – Включить ревун 10 и звонок 13 переключателями 11 и 12.
3 – Кратковременным нажатием звуковой кнопки 8 и установкой переключателей I и II добиваемся показаний стрелки указателя 1 на шкале единиц 0-10 децибел. Суммарный результат показаний стрелки и шкалы 2 против светящегося светодиода 3 заносится экспериментальную таблицу.
4 – Последовательно переводя переключатель фильтров 6 в положения среднегеометрических частот 125, 250, 500 и т. д. и монипулируя переключателями I и II получим результаты частотного (октавного) анализа шума от ревуна 10 и звонка 13.
5 – Переключатели I и II переводятся в первоначальное положение.
Таблица 2 – Варианты выполнения заданий
| № вари-анта | Источник звука | Звукоизоляция пластинами | Уровни звука в дБА | Уровни звукового давления в дБ в октавных полосах со среднегеометрическими частотами в Гц | |||||||
| 63 | 125 | 250 | 500 | 1000 | 2000 | 4000 | 8000 | ||||
| 1 | Ревун | - | + | | | | | | | | |
| Звонок | - | + | | | | | | | | | |
| Ревун+ звонок | - | + | + | + | + | + | + | + | + | + | |
| Ревун+ звонок | Пласти-на № 1 | + | + | + | + | + | + | + | + | + | |
| Нормы по ГОСТ п.2 | + | + | + | + | + | + | + | + | + | ||
| 2 | Ревун | - | + | | | | | | | | |
| Звонок | - | + | | | | | | | | | |
| Ревун+ звонок | - | + | + | + | + | + | + | + | + | + | |
| Ревун+ звонок | Пласти-на № 2 | + | + | + | + | + | + | + | + | + | |
| Нормы по ГОСТ п.5 | + | + | + | + | + | + | + | + | + | ||
| 3 | Ревун | - | + | | | | | | | | |
| Звонок | - | + | | | | | | | | | |
| Ревун+ звонок | - | + | + | + | + | + | + | + | + | + | |
| Ревун+ звонок | Пласти-на № 3 | + | + | + | + | + | + | + | + | + | |
| Нормы по ГОСТ п.4 | + | + | + | + | + | + | + | + | + | ||
| 4 | Ревун | - | + | | | | | | | | |
| Звонок | - | + | | | | | | | | | |
| Ревун + звонок | - | + | + | + | + | + | + | + | + | + | |
| Ревун + звонок | Пласти-на № 2 | + | + | + | + | + | + | + | + | + | |
| Нормы по ГОСТ п.1 | + | + | + | + | + | + | + | + | + | ||
| 5 | Ревун | - | + | | | | | | | | |
| Звонок | - | + | | | | | | | | | |
| Ревун + звонок | - | + | + | + | + | + | + | + | + | + | |
| Ревун + звонок | Пласти-на № 1 | + | + | + | + | + | + | + | + | + | |
| Нормы по ГОСТ п.3 | + | + | + | + | + | + | + | + | + | ||
Нормы шума см. в таблице 1.
Знак ”+” означает выполнение позиций эксперимента.
По усмотрению преподавателя объем эксперимента может быть расширен за счет числа звукоизоляционных пластин и источников шума.
4.4.2 Измерение шума без звукоизоляции
Пластина вынимается из паза М (рис.2), устанавливается в секцию А и после плотного закрытия дверц 17,18 можно приступить к измерениям шума в октавных полосах по методике, описанной в разделе 4.4.1. Измерения можно начинать как с начала частотного спектра (т. е. с fСГ = 63 Гц), так и с его конца (т. е. с fСГ = 8000 Гц) в зависимости от последней установки фильтра 6.
4.5 После окончания всего цикла измерений:
1 - источники шума 10,13 и шумомер 6 (рис. 2) обесточиваются выключателями 6,11,12;
2 – шумомер и стенд отключаются от сети (т.е. вилки 7 и 14 вынимаются из розеток 15 и 5);
3 - шумомер закрывают матерчатой шторкой от проникновения света и пыли, рабочее место приводится в порядок;
4 – оформляется отчет о проделанной работе.
4.6 Содержание отчёта
1 – наименование, цель и последовательность выполнения работы;
2 – эскизная схема шумомера (рис. 3);
3 – таблица варианта задания с результатами эксперимента;
4 – график зависимости уровней звукового давления L в дБ от частоты f в Гц (по экспериментальным данным и нормам ГОСТ)

5 – выводы об эффективности шумоглушения.
4.7 Контрольные вопросы
- Звук и шум – определение.
- Определение звукового давления и интенсивности звука.
- Физические характеристики шума.
- Что такое уровни звука и интенсивности?
- Какими параметрами характеризуются звуковое поле и источники шума?
- Что такое частотный спектр шумов и какова характеристика его частотных диапазонов?
- Количественная оценка уровней шума;
- На чём основаны принципы шумоглушения?
- Методы нормирования шума;
- Технические и организационные методы защиты от шума;
- Как настраивается шумомер ВШВ – 003 на режим измерений в дБА и на режим измерений в октавных полосах частот.
Литература
- Юдин Е.Я., Белов С.В. Охрана труда в машиностроении: учебник для вузов. – М.: Машиностроение, 1983. – 432 с.
- Средства защиты в машиностроении: расчёт и проектирование: Справочник / С.В. Белов, А.Ф. Козвяков, О.Ф. Партолин и др.; Под ред. С.В. Белова. – М.: Машиностроение, 1989. – 368 с.
- Логунов Л.Ф., Осипов Г.Л. Борьба с шумом в машиностроении, 1980 – 147 с.
- ГОСТ 12.1.003 – 83. СОБТ. Шум. Общие требования безопасности.
- Санитарные нормы СН 2.2.4/2.1.8.562 – 96.
Оглавление
- Основные понятия, характеристики, определения………………………………………………………………….3
- Нормирование шума………………………………………………7
- Защита от шума……………………………………………………9
- Устройство и работа лабораторного стенда и шумомера……...9
- Лабораторный стенд………………………………………………9
- Шумомер ВШВ – 003……………………………………………..10
- Измерение уровней звукового давления в дБА…………………12
- Измерение уровней звукового давления в дБ в октавных
- Лабораторный стенд………………………………………………9
полосах со среднегеометрическими частотами в Гц……………13
- После окончания измерений……………………………………...15
- Содержание отчёта………………………………………………...15
- Контрольные вопросы……………………………………………..15
Литература…………………………………………………………..
