Тепловые двигатели и нагнетатели
| Вид материала | Документы |
| Шестеренные насосы 2 — ведомое колесо; 3 НаменованиеМарка насоса |
- Интегрированный урок «Тепловые двигатели» Цели урока, 28.56kb.
- Выбор рациональных параметров конструкции опор газотурбинных двигателей с межроторными, 218.67kb.
- Пособие по выполнению контрольных работ №1 и №2 Одобрено методической комиссией фбо, 1130.33kb.
- Учебник : С. В. Громов, Н. А. Родина 8 класс, 66.62kb.
- Совершенствование рабочего процесса дизеля с объемно-пленочным смесеобразованием при, 190.09kb.
- Конвертирование рабочего процесса транспортных двс на природный газ и водород 05. 04., 459.6kb.
- Урок по физике. 8 класс Тема: «Тепловые двигатели. Двигатель внутреннего сгорания», 113.91kb.
- Конспект урока физики в 10 классе По теме: «Тепловые двигатели и их роль в жизни человека», 37.82kb.
- Тепловые двигатели. Двигатель внутреннего сгорания, 139.75kb.
- «О структуре естественно-научного факультета», 54.97kb.
Шестеренные насосы
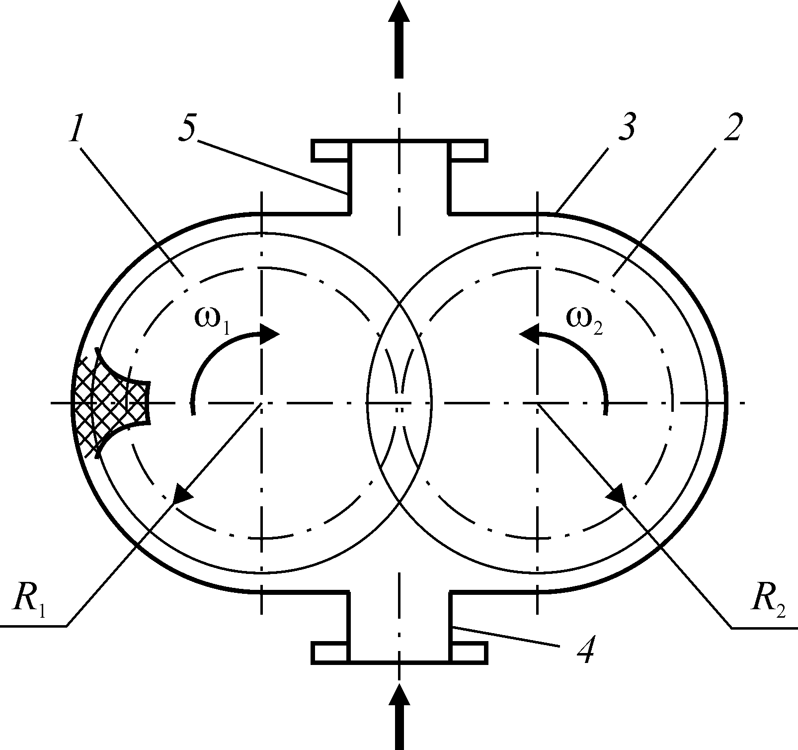
Шестеренные насосы относятся к объемным роторным машинам и используются для перекачивания вязких жидкостей (в системах смазки компрессоров и двигателей, в гидроприводах). Схема шестеренного насоса представлена на рис. 2.31.
Ведущее 1 и ведомое 2 зубчатые колеса с минимальными зазорами (как по торцевым, так и по цилиндрическим поверхностям) вращаются в корпусе 3 в направлениях, показанных стрелками. Жидкость, поступающая через всасывающий патрубок 4, попадает во впадины зубчатых колес (область, выделенная штриховкой). Каждый из таких объемов жидкости во впадине переносится колесом вдоль наружной стороны корпуса к нагнетательному патрубку 5, где и выдавливается из впадины зубом другого колеса.

Рис. 2.31. Схема шестеренного насоса:
1 — ведущее колесо; 2 — ведомое колесо; 3 — корпус;
4 — всасывающий патрубок; 5 — нагнетательный патрубок
Зубчатые колеса шестеренных насосов чаще всего выполняют одинаковых размеров. В общем случае подача шестеренного насоса равна
Q = (Vз z1 n1 + Vз z2 n2) h об, (6.3.2.29)
где Vз — объем зуба колеса; z1, z2 — количество зубьев первого и второго колеса; n1, n2 — частоты вращения первого и второго колеса; hоб — объемный КПД насоса, учитывающий перетекание жидкости через зазоры из напорной области в область всасывания.
Шестеренные насосы реверсивны, т. е. при изменении направления вращения их колес направление движения жидкости также меняется на обратное. Эти насосы обратимы: если подводить под давлением жидкость к одному из патрубков, то вал ведущего колеса будет вращаться, и с него можно снимать мощность, т. е. насос становится гидродвигателем.
Характеристика шестеренного насоса аналогична характеристике поршневого насоса. Технические данные некоторых типов шестеренных насосов приведены в табл. 2.8.
Таблица. 2.8
Технические характеристики шестеренных насосов
| НаменованиеМарка насоса | Подача, м3/ч / Напор, м | Параметры электродвигателя: Мощность, кВт / Частота вращения, об/мин |
| Насос НМШ2-40-1,6/16 | 1,6/160 | 3/1500 |
| Насос НМШ 2-40-1,6/16 | 1,6/160 | 2,2/1500 |
| Насос НМШ 2-40-1,6/16 | 1,6/160 | 1,5/1500 |
| Насос НМШ5-25-4,0/4 | 4/40 | 2,2/1500 |
| Насос НМШ 5-25-4,0/4 | 4/40 | 1,5/1500 |
| Насос НМШ 5-25-4,0/4 | 4/40 | 3/1500 |
| Насос НМШ5-25-2,5/6 | 2,5/60 | 1,5/1000 |
| Насос НМШ 5-25-2,5/6 | 2,5/60 | 2,2/1000 |
| Насос НМШ 5-25 2,5/6 | 2,5/60 | 3/1500 |
| Насос НМШ 5-25-4,0/25 | 4/250 | 5,5/1500 |
| Насос Ш5-25 | 4/40 | 2,2/1500 (взр) |
| Насос НМШ 8-25-6,3/2,5 | 6,3/25 | 1,5/1500 |
| Насос НМШ 8-25-6,3/2,5 | 6,3/25 | 2,2/1500 |
| Насос НМШ 8-25-6,3/2,5 | 6,3/25 | 3/1500 |
| Насос НМШ 8-25-6,3/10 | 6,3/100 | 7,5/1500 |
| Насос НМШ 8-25-6,3/25 | 6,3/250 | 5,5/1500 |
| Насос Ш40-4-19,5/4 | 19,5/40 | 5,5/1000 |
| Насос Ш40-4-19,5/4 | 19,5/40 | 7,5/1000 |
| Насос Ш80/2,5 | 37,5/25 | 15/1000 |
| Насос Ш80/2,5-37,5/2,5 | 37,5/25 | 11/1000 |
| Насос Ш80/2,5-36/4 | 36/40 | 15/1000 |
| Насос Н400У | 0,33/200 | 2,2/1500 |
| Насос Н403Е | 2/320 | 22/1500 |
| Насос Г11-24а | 3/250 | 3/1500 |
| Насос НМШФ 0,8-25 | 0,63/25 | 1,1/1500 |
