Нормативных документов в строительстве
| Вид материала | Документы |
- «Гармонизация российской и европейской систем нормативных документов в строительстве», 215.13kb.
- Нормативных документов в строительстве, 1258.7kb.
- Нормативных документов в строительстве, 1257.68kb.
- Нормативных документов в строительстве, 1642.45kb.
- Нормативных документов в строительстве, 1642.99kb.
- Нормативных документов в строительстве, 1684.47kb.
- Нормативных документов в строительстве, 1625.32kb.
- Нормативных документов в строительстве, 1546.95kb.
- Нормативных документов в строительстве, 1669.51kb.
- Нормативных документов в строительстве, 1546.33kb.
ПРИЛОЖЕНИЕ В
(обязательное)
ТИПЫ ЦЕНТРОВ И РЕПЕРОВ (ЗНАКОВ ДОЛГОВРЕМЕННОГО И ВРЕМЕННОГО ЗАКРЕПЛЕНИЯ). ПРИМЕРНЫЕ СХЕМЫ ПОСТРОЕНИЯ ГЕОДЕЗИЧЕСКИХ СЕТЕЙ. ГРАФИЧЕСКОЕ ОПРЕДЕЛЕНИЕ ЭЛЕМЕНТОВ ПРИВЕДЕНИЯ (ЦЕНТРИРОВОЧНЫЙ ЛИСТ)
Типы центров и реперов

Центр пункта триангуляции, полигонометрии 4 кл. и 1, 2 разрядов, грунтовый репер нивелирной сети III - IV кл.
1 - бет. якорь диаметром 50 см; 2 - асб. цементная или железобетонная (диаметр 12 - 16 см) труба, заполненная бетонным (цементным) раствором; 3 - рельс; 4 - болт диаметром 16 - 20 мм; 5 - металлические скобы; 6 - слой цементного раствора; 7 - уголок 50´50 мм

Центр пункта триангуляции, полигонометрии 4 классов для районов глубокого промерзания грунта (свыше 1,5 м)
1 - мет. труба диаметром 60 мм или бет. труба диаметром 120 - 160 мм, рельс; 2 - бет. якорь диаметром 50 см; 3 - слой цем. раствора

Центр пункта триангуляции, полигонометрии 4 кл. и 1, 2 разрядов и грунтовый репер нивелирной сети III - IV классов для районов многолетней мерзлоты
Типы центров и реперов

Центр пункта триангуляции, полигонометрии 4 кл. и 1, 2 разрядов, грунтовый репер нивелирной сети III - IV кл. для труднодоступных районов
1 - стальная пластина 50´50 см, толщиной 5 - 10 мм, приваренная к трубе; 2 - арматурное крепление

Центр пункта триангуляции, полигонометрии 4 кл. 1, 2 разрядов, в районах сезонного промерзания грунта
1 - чугунный колпак с крышкой; 2 - противокоррозийный слой; 3 - металлические скобы; 4 - бет. монолит в виде усеченной четырехгранной пирамиды; 5 - металлическая диаметром 35 - 60 мм асбоцементная, железобетонная с бетонным заполнением труба, железобетонный пилон круглого (80 - 60 мм) или прямоугольного сечения, рельс любого профиля

Стенной знак пункта полигонометрии 4 кл. и 1, 2 разрядов
1 - отверстие диаметром 2 мм для установки визирного приспособления
Примечание: Стенной знак может использоваться как стенной репер
Типы знаков долговременного закрепления съемочных сетей

1. Бетонный пилон

2. Бетонный монолит (усеченная 4-х-гранная пирамида)

3. Железная труба, рельс, уголковое железо с бетонным якорем

4. Деревянный столб, установленный на бетонный монолит

5. Пень свежесрубленного дерева, обработанного пол столб
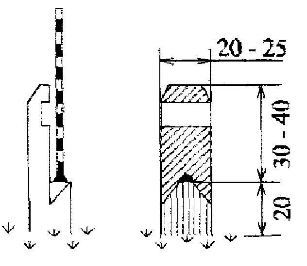
Типы знаков временного закрепления съемочных сетей (плановых и высотных)

1. Металлическая труба, кованный гвоздь со сторжком 2. Свайка

Деревянный столб

Крест (краской) на валуне

Штырь, кованый гвоздь в пне
Типы временных геодезических знаков

Г-образная веха (деревянная или металлическая)

Съемная механическая веха с визирным цилиндром
1 - центр пункта; 2 - веха; 3 - отверстие (центр пункта); 4 - болт

Металлическая или деревянная веха с противовесом
1 - центр пункта; 2 - отвес; 3 - веха; 4 - противовес (10 - 15 кг); 5 - металлический стержень (диаметр 10 - 15 мм) с винтовой нарезкой, ограничительными шайбами и гайками; 6 - визирный цилиндр; 7 - упоры (металлические или деревянные); 8 - растяжки (крепятся после установки вехи над центром)
Примерные схемы построения триангуляции 1 и 2 разрядов и съемочной сети триангуляционными построениями
а) триангуляция 1 и 2 разряда

1. Сплошная триангуляционная сеть

2. Цепочка треугольников и засечка

3. Вставки
Условные обозначения
исходный геодезический пункт;
исходная сторона триангуляции;
определяемый пункт;
базис;
стороны триангуляции с двусторонними направлениями;
односторонние направленияб) определение координат точек съемочной сети


цепочка треугольников между стороной и пунктом

цепочка треугольников между двумя пунктами
Определение координат съемочной сети триангуляционными построениями

Геодезический четырехугольник

Вставка в угол

Центральная система
Условные обозначения
исходный пункт;
исходная сторона триангуляции;
определяемый пункт;
вспомогательная точка;
односторонние наблюденияПримеры построения полигонометрических сетей

1. Одиночный полигонометрический ход

2. Схема полигонометрических ходов с одной узловой точкой

3. Схема полигонометрических ходов с двумя узловыми точками
Условные обозначения
исходные пункты триангуляции и исходные дирекционные направления;
определяемые пункты полигонометрии;
узловые точки ходовГрафическое определение элементов приведения (центрировочный лист)
| Триангуляция 1 разряда полигонометрия на пункте № 1 на чертеже: 89°00' | Объект 11.02.001 Лист № 1 «17» апреля 2004 г. из наблюдений: 89°03' Контрольный угол: Подгорный - № 1 - Сосновка |
| Элементы центрировки L1 = 0,034m θ1 = 166°00' на пункт Подгорный θ1 = 255°00' на пункт Сосновка | Элементы редукции L = 0,047m θ = 112°00' для пункта Подгорный θ = 201°00' для пункта Сосновка |
| Начальное направление на пункт Подгорный Направления на ориентирные пункты | |
| На чертеже: пункт Подгорный 0° 00'_______________ пункт Сосновка 89°00'________________ Ориентирный пункт № 1 264°00'________ | Из наблюдений: 0°00'_______________________________ 89°03'_______________________________ 264°30'______________________________ |
| Ориентирный пункт № ______________________________________________________ |

![]() | Определение производил ______________ |
![]() | Проверил __________________________ |
Определение элементов приведения выполняют с трех станций таким образом, чтобы проектирующие плоскости пересекались под углами, близкими к 60° или 120°.
Проектирование центра знака С, оси прибора J и визирной цели V производится выверенным теодолитом при двух положениях вертикального круга с расстояний, равных или несколько больших высоты знака. Каждое из девяти направлений отмечают четырьмя точками на краях центрировочного листа. Найдя среднее значение и соединив их прямыми линиями, получают пересечение проекций из точек станций наблюдения С, J и V.
Линейные элементы центрировки между точками С и J и редукции - между точками С и V измеряют на центрировочном листе. Угловые элементы центрировки θс и редукции θr строят в точках J и V между С и двумя направлениями, прочерченными на наблюдаемые пункты.
Угловые элементы измеряют транспортиром до долей градуса по ходу часовой стрелки от направления на точку С. Углы между направлениями на пункты наблюдения, измеренные прибором и снятые графически транспортиром, не должны превышать значений:
2° - при расстояниях до пунктов < 10 км;
1° - при расстояниях до пунктов от 10 до 20 км;
0,5° - при расстояниях до пунктов > 20 км.


