Метод расчета и проектирования солнечной теплицы для региона сибири
| Вид материала | Автореферат |
- Задача Метод, 44.05kb.
- Внешний (экономический) износ имущественных комплексов промышленных предприятия. Методы, 76.03kb.
- Внешний (экономический) износ имущественных комплексов промышленных предприятия. Методы, 187.42kb.
- История Сибири с древнейших времен до начала XX в. Программ, 269.8kb.
- Удк 621. 362 Метод расчета на ЭВМ установившихся режимов энергосистемы, 78.08kb.
- 1 Метод статистического моделирования, 167.94kb.
- А. С. Донченко на Первом съезде работников агропромышленного комплекса Сибири, 565.77kb.
- Методика исследования 4 Штатно-номенклатурный метод 4 Метод расчета коэффициентов насыщенности, 831.9kb.
- История Западной Сибири) реферат (от лат еfеrо «сообщаю») краткое изложение, 69.17kb.
- M o виртуальный прибор для построения графиков частотных характеристик линейной электрической, 36.03kb.
1 2
В III главе представлены методики и результаты: испытаний:
1) встроенной солнечной теплицы в жилой дом 2) воздухонагревательной установки; 3) теплоаккумулирующих насадок (ТАН)
1) для обоснования эффекта теплового экрана проведен эксперимент с встроенной теплицей площадью 20м2 в жилой дом на демонстрационном полигоне г.Улан-Удэ ( Рисунок 6). Испытания проводились в феврале и марте. Внутренняя температура повышается сразу, как только теплый экран - одеяло убирается (9:00ч) и начинает уменьшаться после 16:00ч. Самая высокая температура в теплице была зарегистрирована днем между 13:00ч и 16:00ч. Теплица с экраном обеспечила 85% потребной нагрузки, а с ПСС без экрана 60%, хотя приток солнечной радиации в отопительный период в теплице ориентированной под углом 90º на 574,56 кВт·ч меньше ,чем в теплице с остеклением под углом 60º. На рисунке 7 приведены сравнительные кривые хода температур внутри теплицы с ПСС и экраном и без экрана и ПСС.
Рисунок 6. Встроенная теплица в жилой дом
1 – пульт управления ПЭУ-9; 2 – электрокотел; 3-бак-аккумулятор;
4 – солнечные коллекторы; 5– вытяжная труба биотуалета;
6 – фотомодули, 7 – биотуалет;8 – вентилятор; 9– каменная насадка ТА
I - Встроенная пассивная солнечная теплица
10, 11- черная стена (ПСС) 12 – остекление – поликарбонат
К
ривые изменения температуры воздуха внутри теплицы по результатам экспериментальных исследований подтверждают достоверность полученных уравнений (19,20). Процент расхождения не превысил 10 %.( Рисунок 7).Рисунок 7 .Кривые хода суточных температур в солнечной в теплице:
1 – расчетная по уравнению (19) без экрана и ПСС;
2-эксперимент. без экрана и ПСС; 3- расчетная по уравнению(20) с экраном и ПСС; 4 - эксперимент. с экраном и ПСС; 5- солнечная радиация на наклонную поверхность, 6- наружная температура
2).Экспериментальное определение характеристик солнечного коллектора с теплоносителем воздух. Был разработан гибридный СК с теплоносителем вода – воздух (рисунок 8) с теплопоглощающей панелью из металлических труб и перфорированного (4 мм) алюминия, покрашенных в черный цвет.

Рисунок .8. Солнечный
гибридный коллектор
с теплоносителем воздух-вода
1- светопрозрачное покрытие
2-теплопоглощающая перфорированная черная пластина
3-«гребенка»-коллекторная труба
4-теплоаккумулирующая масса( мет. стружки)
5- вход холодного воздуха в перфорированный воздуховод
6-металлические водяные трубы(1/2") солнечного коллектора
7-приточный перфорированный воздуховод
8- выход горячей воды
9- вентилятор
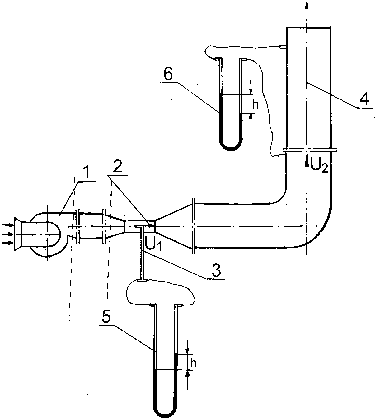
а) Для определения коэффициента сопротивления трения ξ рабочей камеры СК была разработана экспериментальная установка ЭУ-1 с центробежным вентилятором для подачи воздуха . Расход воздуха СК с поперечным сечением камеры 0,175м2. подачей воздуха 20 м3/ч, для измерения скорости воздушного потока применяли трубы Вентури. Перепад давления в контрольном участке и в рабочей камере СК измеряли микроманометром. Для измерения скорости использовалась пневмометрическая трубка Прандтля.
Общие потери давления ΔРобщ в солнечном воздухонагревателе состоят из потерь давления ΔРвх, выходного ΔРвых участков и рабочей камеры ΔРк, ΔРобщ = ΔРвх + ΔРвых + ΔРк .Согласно расчетам (по геометрическим размерам установки), значения длины l, и гидравлический диаметр Dr м. рабочей камеры СК , составляют соответственно: 0,4 м и 1,29 м.
В таблице 4 приведены исходные данные для расчета аэродинамического сопротивления ξ и потерь давления Δ Р в СК.
Таблица 4. Данные аэродинамического сопротивления ξ и потерь давления ΔР

б) В результате испытаний солнечного коллектора определены:
- "разгонная" характеристика Xt = f(t) и постоянная времени
τс = 5,2 мин соответствующее X(t) = 0,632. При этом задавались следующие значения параметров: скачок радиации в 300 Вт; температура окружающего воздуха – 293-295К; угол наклона СК к горизонту – 60о; плотность потока солнечного излучения – 800 Вт/м2 с погрешностью ±50 Вт/м2;
входная температура теплоносителя – 295К; скорость ветра – от 0 до 3 м/с; расход воздуха в СК для нагрева воздуха – G = 20 м3/ч.
- кривая КПД
, где:
м2К/Вт По данным, полученным в результате испытаний, рассчитаны значения η и Т* и получено уравнение: η = 0,685 – 4,08Т*, где Т* приведенная температура.
3.Определение характеристик теплоаккумулирующих насадок
а) Экспериментальная установки ЭУ-2 (Рисунок 9) состоит из: центробежного вентилятора Ц4-75, расходомера Вентури, воздуховода с насадкой, манометра, дифференциальной напорной трубки, пористой зернистой насадки.
Перепад давления ΔР в насадках определялся при помощи дифференциального манометра (рабочая жидкость - спирт этиловый безводный).Скорость воздуха определялась при помощи дифференциальной напорной трубки в отверстии расходомера Вентури. Замерялись одновременно:динамическое Рдин; статическое Рст; и полное давление Рдин = Рпол - Рст .


Рисунок 9. Общий вид (а) и схема экспериментальной установки ЭУ-3 (б)
1 - вентилятор ; 2 - расходомер Вентури; 3 - дифференциальная напорная трубка; 4 – воздуховод с насадкой; 5 - манометр дифференциальный для расходомера Вентури; 6 - манометр дифференциальный для насадки.
Основными характеристиками ТАН являются: аэродинамическое сопротивтивление ξ , потери напора по высоте насадок ΔР и расход электроэнергии
на привод вентилятора, которые связаны с ξ, равным:
; (29)Ранее экспериментально были определены: значения формы зерна ψ,: для гальки ψг=1,12, для цеолита ψц=2,14. Эквивалентный диаметр частиц δэ=0,028 м, и порозность зерен для гальки εг=0,54, цеолита εц=0,56
Используя экспериментальные данные вычислены аэродинамическое сопротивление ξ, lg ξ, lg Re и сведены в таблицу 5
Таблица 5. Расчетные данные аэродинамического сопротивления ξ, lg ξ, lg Re

б) Методика определения гидравлической и теплообменной характеристик ТАН солнечной воздухонагревательной установки
Разработаны опытные образцы ТА. Экспериментальная установка состоит из СК( 4 м2 каждый), 2-х ТА с насадками цеолиты и галька), осевых вентиляторов (1,25 ЭВ-2,8-327044), располагаемых на выходе из СК, центробежных вентиляторов ВЦ-4-75-2,5 и воздуховодов.
Варьируемые параметры имели следующий диапазон: Н = 0,25…1 м, ρн = 2200…2500 кг/м3; ε = 0,5…0,65; G = 0,5…1,2 кг/м2К.
Замерялась: температура входящего воздуха Твх, температура по слоям насадки Тнас в обеих ТА с насадкой галька и цеолиты, температура входящего теплого воздуха от СК и наружного воздуха Т0;скорость воздуха V и приход солнечной радиации на наклонную поверхность (Qпад).
В режиме аккумулирования замеры температуры,, прихода солнечной радиации велись непрерывно. Экспериментальные данные получены при испытании ТА в режимах зарядки и разрядки.
Количество полезного тепла (Qпол), полученного от гибридного СК в режиме воздухонагревателя в ясный день октября составило 2.1 кВт·ч .
По данным эксперимента построены кривые изменения температуры насадки в режиме аккумулирования и разрядки (Рисунок 10).и
приведены графики изменения Твых воздуха из ТАН и температур насадки по 4 слоям в зависимости от Тнар входящего воздуха. 
Рисунок 10. Кривые зависимости температуры насадки от времени в режиме:
а - аккумулирования, б - разрядки
Как видно из графика, динамика изменения температуры насадки - галька и цеолиты разная, не совпадают также по фазе и при разрядке. Получено уравнение температуры выходящего воздуха Твых в режиме разрядки:
Для гальки Твых = 3,63 (0,33Тнас-0,057Тнар,. (30)
Для цеолитов Твых = 2,27 (0,5Тнас-0,057Тнар) , (31) (34)
В режиме зарядки получены уравнения температуры насадки:
Для гальки Тнас =1,19Тнас0+0,19Тв , . ( 32 )
Для цеолитов Тнас= 1,13Тнас0+0,13Твх, (33)
По результатам эксперимента ΔТ равен у насадки - цеолиты 4,3 К,
гальки - 3 К. По другим данным эксперимента ΔТ колеблется у цеолита от 5,4 до 4,5 К, у гальки от 4,3 до 3 К.
В IV главе дан технико-экономический анализ эффективности теплицы с солнечными системами теплоснабжения
Уточненный баланс солнечной теплицы с разработанными гибридными солнечными системами теплоснабжения и тепловым аккумулятором с пористой насадкой проведен для 6701 градусо-дней отопительного периода г Улан-Удэ с определения нагрузки отопления Lот и горячего водоснабжения LГВСдля по известным формулам при разных значениях термического сопротивления R, м2°С/Вт и коэффициента теплоотдачи к0 F,Вт/ м2°С с тепловым экраном и без экрана. Расчетные данные расхода тепла на отопление вентиляцию и ГВС, приведены в таблице 6.
Таблица 6. Расход тепловой энергии на отопление, вентиляцию и ГВС,кВт·ч при разных значениях R, м2°С/Вт и к0F,Вт/м2°С с тепловым экраном и без.
В результате исследований предложен проект энергоэффективной солнечной теплицы (Рисунок 11) с двумя пассивными солнечными системами I,II и тепловым подпочвенным аккумулятором ТА:Энергетический эффект пассивных солнечных систем I,II и ТА :
Коэффициент замещения f нагрузки ГВС гибридными солнечными коллекторами площадью 10 м2 (рис 5) в режиме нагрева воды для полива составил 0.6 (37ГДж) на 20% больше, чем 10 м2 СК «Сокол» 0.4 (24.54 Гдж).
Энергетический эффект полученный от встроенной теплицы с ПСС с теплым экраном в жилой дом позволяет рекомендовать теплицы для отопления жилых домов, молочных и свиноводческих ферм.
Пассивные солнечные системы замещают в теплице с февраля по ноябрь до 52% потребного количества тепловой энергии, используя только 39% прошедшей солнечной радиации Эпрош
При применении теплового экрана и изолированного отражателя процент использования Эпрош увеличивается до 34.8%,в т.ч. в гибридной южной приставке до 3053 кВт•ч ( 4.4 % ), в теплице - 21051,4 кВт•ч(30.4%). В итоге в солнечной теплице будет замещаться 51419 кВт•ч из 52249,4 потребной , т.е. почти 100 %, используя 70% Эпрош , остаётся ещё летний резерв 25396,87 кВт• ч и 30% неиспользованной Эпрош - 17714,5, итого 43111,375кВт•ч.
Рисунок 11. Разрез энергоэффективной солнечной теплицы.
1- теплый свернутый экран; 2 -.вертикальный воздуховод;
3 - перфорированный воздуховод; 4 -ПСС с абсорбером ;
5-.блок управления воздушным потоком;
6 - труба отбора теплой воды для полива;
7 - бак-аккумулятор (БА) солнечной системы ГВС;
8 - насос забора холодной воды из скважины,
9 - циркуляционная труба поступления горячей воды от СК в БА;
10 - труба поступления холодной воды из БА в СК; 11-экран –отражатель;
12.- СК с теплоносителем вода - воздух. 13.- приточный перфорированный воздуховод подачи теплого воздуха;14 - проход между грядками;
15 - подпочвенные перфорированные трубы ,
16 - ТА солнечной гибридной системы,
17 - внутрипочвенные перфорированные трубы теплого полива растений.
Утепление потолка до Rпот =5 м2°С/Вт снижает расход тепловой энергии в 1.3, а с экраном на ночь в 2.5 раза, чем в теплице с Rост=0,46 и Rпот =3.7 м2 °С. В самый холодном феврале аккумулируется до 10 кВтч в сутки тепла достаточного для использования позже, чтобы нагреть теплицу в течение 5-10 часов.
Сравнительные показатели эффективности солнечной теплицы с обычной теплицей, обогреваемой котлом типа " К4М-5" мощностью 15кВт, показали:
- себестоимость выработки тепловой энергии в солнечной теплице в 1.5 раза ниже по сравнению с теплицей , традиционно отапливаемой котлом типа "К4М-5» на угле.
- снижение в 4 раза выбросов углекислого газа.
Основные выводы и результаты
1. Разработанная оптимальная форма конструкции солнечной теплицы обеспечивает максимальный приход солнечной радиации в отопительный период, что позволяет эффективно использовать пассивные солнечные системы (ПСС) для теплоснабжения теплиц в условиях Сибири и выращивать ранне- весенние и поздне- осенние экологически чистые овощи .
2. Разработанная методика определения теплопроизводительности теплицы с ПСС для условий Забайкалья может рекомендована в регионе Сибири с аналогичными климатическими условиями до 7000 градусо-дней отопительного периода и приходом солнечной радиации, отличной до10%.
3. Разработанный метод расчета энергоэффективности тепловых аккумуляторов (ТА) с теплоаккумулирующими насадками (ТАН) позволил получить впервые уравнение, учитывающее влияние 7 переменных на количество аккумулируемого тепла с оптимизацией аккумуляции тепла в насадках.
Уравнение позволяет также рассчитать оптимальную геометрию слоя: высоту Н, поперечное сечение аккумулятора F, что ранее в уравнениях энергетического баланса не учитывалось.
4. Разработанный гибридный солнечный коллектор (СК) с теплоносителем «вода- воздух» и полученные теплотехнические и гидравлические характеристики в режиме водо - и воздухонагревателя позволяют эксплуатировать СК круглый год.
5. Разработанные методики определения гидравлической и теплообменной характеристик ТА с ТАН галька и цеолиты позволили экспериментально получить уравнения температуры выходящего воздуха Твых и температуру
насадок Тнас в режимах - а) разрядки и - б) зарядки (аккумулирования):
а) Твых=2,27(0,5Тнас-0,057Тнар) – цеолиты и Твых=3,63(0,332Тнас-0,057Тнар)-галька
б) Тнас =1,13Тнас0+0,13Твх – цеолиты и Тнас =1,19Тнас0+0,19Твх - галька
6. Получены показатели энергетического эффекта ПСС для теплоснабжения теплицы и подпочвенного аккумулятора :
- коэффициент замещения f нагрузки ГВС гибридными СК площадью 10 м2 в режиме нагрева воды для полива составил 0.6(37ГДж) на 20% больше, чем 10 м2 СК «Сокол» 0.4 (24.54Гдж) .
- для аккумулирования тепла на одни сутки в подпочвенном слое теплицы необходим ТА с насадкой галька объемом 5м3, а с насадкой цеолиты 2.8 м3, энергетическая эффективность ТА с насадкой цеолиты в 1.7 раза выше галечного.
7. Достигнуто: экономия 51419 кВт•ч тепловой энергии из 52249,4 потребной ; снижение себестоимости выработки тепловой энергии ПСС в 2 раза ниже по сравнению с тепловой энергией, вырабатываемой традиционным котлом на угле; снижение выбросов углекислого газа в 4 раза, что подтверждает высокую экологическую эффективность солнечной теплицы.
Основное содержание диссертации опубликовано в следующих работах
Публикации в изданиях, включенных в перечень ВАК РФ
1. Мазаев, Л.Р. Метод определения энергоэффективности тепловых аккумуляторов солнечной теплицы [Текст] / Л.Р.Мазаев //Вестник БГСХА.- 2011. -№3. вып.24. - C.55-60.
2. Мазаев, Л.Р.Эффективный тепловой аккумулятор для солнечной теплицы [Текст] / Л.Р Мазаев // Техника в сельском хозяйстве.-2011.№5.С.12-13.
3. Мазаев, Л.Р. Оптимизация режимов работы аккумуляторов тепла с разными материалами в солнечной теплице.[Текст] /Л.РМазаев //Вестник ИркГСХУ.- 2011.- №4 - Вып.46.- C. 92-98.
4. Мазаев, Л.Р.Определение теплопроизводительности теплицы с пассивной солнечной системой [Текст] / Л.Р Мазаев // Вестник ВСГТУ. - 2011.- Вып. 44.-C. 45-48.
Публикации в других изданиях
5. Мазаев, Л.Р.Разработка экопоселения с энергосберегающими технологиями на базе возобновляемых источники энергии. [Текст] / Л.Р Мазаев,, В.В Малых // Возобновл. источники энергии для устойчивого развития Байкальского региона: Материалы III Межд. научной конф./ под редакц. В.Т.Тайсаевой. Улан-Удэ, июнь 2008.- С.39-42.
6 . Мазаев, Л.Р. Состояние теплоснабжения в жилом секторе и сельском хозяйстве Байкальского региона.[Текст] /Л.Р Мазаев // Возобновл.источники энергии для устойчивого развития Байкальского региона: Материалы III Межд. научной конф. / под редакц. В.Т.Тайсаевой. УланУдэ, июнь 2008.-С.34-38.
7 . Мазаев, Л.Р.Концепция развития нетрадиционной энергетики для теплоснабжения г. Улан-Удэ [Текст] / В.Т.Тайсаева, Л.Р. Мазаев и др. //Сб. докладов Международной научно- техн. конференции «Энергосбережение в сельском хозяйстве» 5-7окт. 1998г., Москва-ВИЭСХ ЧастьII,-С. 183-185.
8 . Мазаев, Л.Р. Определение теплотехнических характеристик солнечной водонагревательной установки. [Текст] / В.Т.Тайсаева, Л.Р.Мазаев, Г.В. Хальхаев //Возобн.ист.энергии для устойч.разв.Байк.региона Матер.II Междунар .науч. конф./под редакц. В.Т.Тайсаевой. Улан-Удэ, Изд-во БГСХА, Улан-Удэ 2005.- C..45-51.
9. Мазаев, Л.Р.Анализ эффективности использования энергосберегающих технологий с гибридными солнечными системами теплоснабжения.[Текст] / В.Т.Тайсаева, Л.Р. Мазаев // Возобновляемые источники энергии для устойчивого развития Байкальского региона: Материалы III Межд. научной конф./ под редакц. В.Т..Тайсаевой .Улан-Удэ, июнь 2008.- С.45-48.
10. Мазаев, Л.Р. Определение характеристик теплоаккумулирующей насадки теплового аккумулятора солнечной установки.[Текст] / В.Т.Тайсаева, Л.Т. Дашибалова, Л.Р. Мазаев .// Возобновл.источники энергии лля устойчивого развития Байкальского региона:Материалы II Межд. научной конф./под редакц. В.Т.Тайсаевой. Улан-Удэ, июль 2004.-C.41-45.
11. Отчет НИОКР: Разработка и изготовление опытных образцов солнечных коллекторов с теплоносителем вода и воздух на базе композитов из местного сырья и отходов производства. Ответств.исполнитель Л.Р.Мазаев.- Улан-Удэ, 2001 - инв. № 02.200.202236, Рег. № 01200204215.
12.Сооружение экспериментального энергоэффективного экологически чистого фермерского хозяйства на основе солнечной, ветровой и теплонасосной установок общей мощностью 100 кВт в бассейне оз.Байкал»:Отчет по хоздоговору5/93//РАСХН.ВИЭСХ.ВОСТОКСИБВИЭСХ. Ответств. исполнитель Л.Р Мазаев .Улан-Удэ.1993г.( рукопись).
13 . Мазаев, Л.Р.Экодом с автономными системами гелиотеплоснабжения и утилизации бытовых отходов в условиях Байкальского региона. [Текст] / В.Т.Тайсаева, Л.Р.Мазаев //Бизнес и инвестиции в области возобновл.источников энергии в России / Труды Международ. конгресса / Под ред. А.Б.Яновского, П.П.Безруких. – часть III, Москва, 1999.
14 .Мазаев, Л.Р. Энергосберегающие автономные системы жизнеобеспечения жилого дома в условиях Республики Бурятия. [Текст] / В.Т.Тайсаева, Л.Р. Мазаев //Возобн.ист.энергии для устойч.разв.Байк.региона Матер.I Междунар .науч. конф./под редакц. В.Т.Тайсаевой. Улан-Удэ, Изд-во БГСХА, Улан-Удэ 2001.
15. Мазаев, Л.Р.Гидравлический и теплотехнический расчет характеристик аккумуляторов теплоты.[Текст] / В.Т.Тайсаева, Л.Т. Дашибалова, Л.Р. Мазаев .// Возобновл.источники энергии лля устойчивого развития Байкальского региона:Материалы II Межд. научной конф./под редакц. В.Т.Тайсаевой. Улан-Удэ, июль 2004.-C.96-104.
16.Мазаев, Л.Р.Рекомендации по выбору параметров солнечных нагревательных установок. [Текст] / Л.Р. Мазаев // Труды 5-й Междунар .науч-техн.. конф..Часть 4. Возобновляемые источники энергии. Местные энергоресурсы .Экология.-М.- ГНУ ВИЭСХ,2006.- С.195-200.
17.Мазаев, Л.Р. Создание экопоселения с автономными энергосберегающими системами жизнеобеспечения на базе возобновляемых источников энергии [Текст] / В.Т Тайсаева, В.В,Малых , Л.Р Мазаев.// Малая энергетика.-2009.№1-2(10).-С.61-67.
18.Мазаев, Л.Р. Создание энергоэффективных солнечных теплиц с тепловыми аккумуляторами в условиях Сибири. [Текст] /В.Т.Тайсаева, Л.Р Мазаев // Малая энергетика.-2011.-№1-2.-С.50-57..
19.Мазаев, Л.Р.Методика расчета энергетической эффективности аккумуляторов теплоты.[Текст] / В.Т.Тайсаева, Л.Р.Мазаев. //Возобн.ист.энергии для устойч.разв.Байк.региона Матер.II Междунар .науч. конф./под редакц. В.Т.Тайсаевой. Улан-Удэ, Изд-во БГСХА, Улан-Удэ 2005.-C.104-111.
20.Мазаев, Л.Р. Солнечные теплицы в условиях Сибири. [Текст] /В.Т.Тайсаева, Л.Р Мазаев // Монография.-Улан-Удэ: Изд-во БГСХА, 2011.-200с.
21.Мазаев, Л.Р. Нетрадиционные возобновляемые источники энергии. Расчет энергетических показателей. [Текст]: учебное пособие для вузов /. В.Т.Тайсаева, Л.Р Мазаев / под ред. В.Т.Тайсаевой. Допущено УМО вузов по агроинженерному образованию в качестве учебного пособия для студентов вузов, обучающихся по специальности 311400 « Электрификация и автоматизация сельского хозяйства» . - Улан-Удэ: изд-во БГСХА, 2002 - 106 с.
Подписано в печать 18.11.2011. Бум.тип №1 . Формат 60х841/16
Усл.печ.л.1.7.Тираж100.Заказ №
Издательство ФГБОУ ВПО «« Бурятская государственная сельскохозяйственная академия им. В.Р.Филиппова»
670024,г.Улан-Удэ, ул.Пушкина,8.
