Конспект лекций 2010 г. Содержание 1 Средства измерений технологических параметров 4 1Средства измерения давления 12
| Вид материала | Конспект |
Содержание1.3.3.11 Оптические расходомеры. |
- 1. Средства измерений. Классификация средств измерений, требования к ним. Измерительные, 1405.11kb.
- Конспект лекций 2010 г. Батычко Вл. Т. Муниципальное право. Конспект лекций. 2010, 2365.6kb.
- Рабочей программы дисциплины методы и средства измерений в телекоммуникационных системах, 29.58kb.
- Конспект лекций 2010 г. Батычко В. Т. Уголовное право. Общая часть. Конспект лекций., 3144.81kb.
- Общие вопросы измерений, 218.32kb.
- Программа по оказанию информационно-консультационных услуг: «Эталонные и рабочие средства, 110.06kb.
- Инструкция Приборы для измерений климатических параметров «Метео-10» Методика поверки, 92.72kb.
- Цена дипломной работы с чертежом 500 рублей содержание, 48.91kb.
- Зволяет производить измерения давления в топливной системе почти на всех автомобилях, 517.38kb.
- Эталонная установка для комплексного измерения акустических параметров в конденсированных, 80.86kb.
1.3.3.11 Оптические расходомеры.
Оптическими называются расходомеры, основанные на зависимости от расхода вещества того или другого оптического эффекта в потоке. Имеется несколько разновидностей этих приборов:
1) допплеровские расходомеры, основанные на измерении разности частот, возникающей при отражении светового луча движущимися частицами потока;
2) расходомеры, основанные на эффекте Физо—Френеля, в которых измеряется какой-либо параметр (сдвиг интерференционных полос или сдвиг частоты световых колебаний), связанный с зависимостью скорости света в движущемся прозрачном веществе от скорости последнего;
3) расходомеры, основанные на особых оптических эффектах, например, зависимости оптических свойств фибрового световода от скорости обтекающего его потока;
4) расходомеры, основанные на измерении времени перемещения на определенном участке пути оптической метки, введенной в поток;
5) корреляционные оптические расходомеры.
Иногда оптическими расходомерами называют приборы, определяющие расход жидкости, вытекающей из емкости путем измерения оптическими методами высоты уровня в нем или же путем измерения интенсивности выхода из емкости флуоресцирующих частиц, предварительно введенных в жидкость и распределенных в ней равномерно.
Развитие основных разновидностей оптических расходомеров стало возможно после создания мощных и надежных оптических квантовых генераторов ОКГ, часто называемых лазерами, в связи с чем оптические расходомеры нередко называют лазерными.
Оптические расходомеры имеют много достоинств: высокие точность и быстродействие, отсутствие контакта с измеряемым веществом и ряд других. Они применяются для оптически прозрачных жидкостей, к которым относятся вода, керосин, бензин, спирт, четыреххлористый углерод, растворы серной и азотной кислот, а также для газов.
Основные среди рассматриваемых оптических приборов — допплеровские. Они применяются главным образом для измерения местных скоростей жидкости и газа в различных исследовательских работах по изучению турбулентности, снятию поля скоростей. Для измерения расхода они применяются реже. Приборы же, основанные на эффекте Физо—Френеля, предназначены именно для измерения расхода. Оптические расходомеры и скоростемеры обычно применяются в трубах небольшого диаметра.
Доплеровские расходомеры и скоростемеры.
Принцип действия. Принцип действия допплеровских оптических и акустических (ультразвуковых) расходомеров и скоростемеров один и тот же. Эти приборы основаны на измерении разности частот.
Устройство допплеровских оптических скоростемеров. Ряд принципиальных схем допплеровских оптических анемометров изображен на рисунке1.68 (а—г).

Рисунок 1.68 - Схемы допплеровских скоростемеров
Первая по времени схема Иэха и Каммингса показана на рисунке1.68 (а). Луч, образованный лазером ОКГ и сфокусированный линзой Л1 в точке О, отражает часть своей энергии, которая собирается линзой ЛЗ и направляется зеркалом З1 через диафрагму D на фотокатод фотоэлектронного умножителя ФЭУ, куда также поступает луч от линзы Л2 через полупрозрачное зеркало П3, 32 — второе зеркало. Недостаток схемы — трудность регулирования положения рабочей точки О. Другие схемы, изображенные на рисунке 1.68, лишены этого недостатка. У них разделение луча происходит до входа в поток, что позволяет легко менять положение рабочей точки. На рисунке 1.68 (б) луч после выхода из ОКГ падает на полупрозрачное зеркало П3 и частично отражается последним, образуя опорный луч, проходящий через линзу Л1, затем через жидкость перпендикулярно движению последней без допплеровского сдвига, и через диафрагму D поступает на фотокатод ФЭУ. Другая же часть луча, идущего из ОКГ, проходит через зеркало П3, фокусируется линзой Л2 в рабочей точке О, где частично рассеивается, образуя рабочий луч, проходящий через диафрагму D и поступающий на фотокатод ФЭУ. Передвижением зеркала 3 можно регулировать положение рабочей точки О.
В схеме Крейда и Гольдштейна (1967 г.) , показанной на рисунке 1.68(в), луч после выхода из ОКГ разделяется полупрозрачным зеркалом П3 на две части, отражающиеся затем от зеркал 31 и 32 и фокусируемые линзами Л1 и Л2 в рабочей точке О, проходят через поток симметрично относительно его оси. Луч (опорный), прошедший через линзу Л2, не меняя своего направления, собирается линзой ЛЗ, проходит через диафрагму D и поступает к ФЭУ. Луч же, прошедший через линзу Л1, частично рассеивается в рабочей точке О и с допплеровским сдвигом также поступает через линзу ЛЗ и диафрагму D к ФЭУ.
На рисунке 1.68(г) показана схема Рудда (1969 г.), в ней луч из ОКГ разделяется полупрозрачным зеркалом п3 на две части, проходящие через диафрагму D1 и большую линзу Л1, которая фокусирует их в одной рабочей точке О. Затем оба луча собираются линзой Л2 и через диафрагму D2 поступают к ФЭУ. В этой схеме каждый из поступающих к ФЭУ лучей содержит и опорный и рабочий сигналы. Луч 1/ как продолжение луча 1 будет опорным, но вместе с ним на ФЭУ приходит рассеянная часть луча 2 с допплеровским сдвигом. То же относится и к лучу 2/.
Как видно из приведенных схем, оптические анемометры состоят из источника излучения, затем оптического устройства, образующего наряду с опорным и рабочий луч с допплеровским сдвигом частот и приемно-измеряющего этот сдвиг устройства.
Схемы оптических устройств у анемометров и расходомеров Допплера, как это видно из рисунка 1.68, могут быть весьма различными. В большинстве случаев источник излучения и фотоприемное устройство располагаются на противоположных сторонах трубы, несмотря на то, что при этом требуется весьма жесткая опорная конструкция, обеспечивающая неизменность положения оптической системы. Но при необходимости вся система может находиться с одной стороны. Однако в этом случае требуются более мощный источник излучения и более чувствительная измерительная схема, потому что здесь на фотоприемник поступают отраженные лучи, направленные в сторону, противоположную движению потока. Их интенсивность в сотни и тысячи раз меньше лучей, отражаемых по направлению потока.
На рисунке 1.69 показана схема прибора, измеряющего допплеровский сдвиг частот в нескольких точках.

Рисунок 1.69 - Схема многолучевого допплеровского расходомера
Световой луч от лазера 1 падает на полупрозрачное зеркало 2. Часть луча отражается от зеркала и направляется непосредственно в поток 5, а другая часть поступает на зеркало 3 и затем на расщепитель 4, из которого выходит в виде ряда пучков. Последние интерферируют с прямым пучком в отдельных точках потока, проходят через линзу 6 и диафрагму 7 и поступают на протяженный фотоприемник 8. Для получения измерительной информации применяется многоканальный быстродействующий анализатор спектра. Применения его можно избежать в случае установки многолучевого допплеровского измерителя с частотным сдвигом пучков, в котором осуществляется не только пространственное, но и частотное разделение световых пучков с помощью вращающейся дифракционной решетки. Несколько иная схема многолучевого допплеровского измерителя приведена в работе.
Возможен еще и другой метод измерения расхода путем экспериментального определения с помощью ЛДС профиля скоростей и нахождения по нему средней скорости.
Если допплеровский оптический расходомер дополнить корректором, учитывающим плотность измеряемого вещества, то можно обеспечить измерение массового расхода. Схема такого расходомера показана на рисунке1.70.

Рисунок 1.70 - Схема доплеровского измерителя массового расхода
Измеряемая жидкость проходит через диффузор 8, турбулизирующую сетку 9 и сужающее устройство 10, образующее на выходе в измерительную камеру 11 равномерный профиль скоростей. Луч от лазера 1 падает на расщепитель 2, где разделяется на две части. Затем оба луча (один из них предварительно проходит через фазосдвигающий элемент 4, компенсирующий постоянную составляющую сигнала) через выходное окно-мениск 3 входят в измеряемое вещество и фокусируются на оси потока. В точке пересечения лучей образуется пространственная интерференционная картина. Движущиеся частицы, рассеивая свет, модулируют его по интенсивности. Рассеянный свет проходит через окно 5 и поступает на фотодетектор 6, связанный с измерительным прибором 7.
Особые оптические расходомеры.
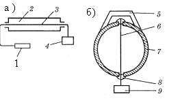
К особым оптическим расходомерам относятся приборы, основанные на зависимости от расхода оптических свойств волоконного световода, находящегося в потоке измеряемого вещества. В одном из таких расходомеров гелиево-неоновый лазер 1 рисунок 1.71, а соединен с волоконным световодом 2, проложенным вдоль оси медной трубки 3 (диаметром 30 мм и длиной 500 мм), по которой движется измеряемая жидкость.

Рисунок 1.71 - Схема оптического расходомера с волоконным световодом, расположенным
Противоположный конец световода соединен с фотопреобразователем 4. Течение жидкости вызывает вибрацию волоконного световода, хотя и небольшую, но достаточную для возникновения фазовых изменений светового луча. Сигнал, вырабатываемый фотопреобразователем 4, после усиления, фильтрации и интегрирования поступает к измерительному прибору. Расходомер прост по устройству, но его точность невысока.
Лучшую точность можно ожидать от преобразователя, состоящего из тонкого стекловолокнистого световода 6 рисунок 1.71 (б), натянутого грузом 9 и расположенного поперек трубопровода 7. Нить проходит через уплотнения 8 и укреплена вверху в клеммодержателе 5. Источник света — гелиево-неоновый лазер. При движении измеряемого вещества с обеих сторон нити будут поочередно срываться вихри с частотой, пропорциональной объемному расходу. Поэтому данный преобразователь можно рассматривать как один из возможных вариантов преобразователей вихревых расходомеров. Срывы вихрей вызывают вибрацию световода и, как следствие, фазовую модуляцию проходящего через него светового луча, воспринимаемую фотодетектором. Опыты проводили на трубе диаметром 25 мм. Применялись световоды из стекловолокна, а также волокна из другого светопроводящего материала, имевшие диаметры внутренний 0,3 и 0,2 мм и наружный с оболочкой 0,56 и 0,25 мм соответственно. При изменении скорости воды от 0,3 до 3,0 м/с наблюдалось пропорциональное измерение частоты выходного сигнала от 200 до 2200 Гц.
