Теория и методология формирования и использования персональных финансов
| Вид материала | Автореферат |
СодержаниеВ – сумма счета живущего поколения; С Список работ, опубликованных по теме диссертации |
- Методология формирования экономического механизма энергосбережения на базе использования, 725.77kb.
- Теория и методология формирования системы управления инфраструктурными комплексами, 495.22kb.
- Формы организации финансов: теория и методология, 590.97kb.
- Программа курса методология истории д филос н., проф. Антипов Г. А. Новосибирск 2004, 62.35kb.
- Методика определения актуальных угроз безопасности персональных данных при их обработке, 175.98kb.
- Методология формирования и функционирования платежной системы, 634.91kb.
- Теория и методология эффективного бюджетирования, 641.58kb.
- Учетная политика коммерческих организаций: методология формирования и механизм реализации, 620.77kb.
- Теория и методология портфельного инвестирования на российском рынке ценных бумаг, 702.09kb.
- Теория финансов: сущность, функции и звенья финансов, 23.07kb.
1 2
Вторая группа проблем, исследуемых в диссертации, связана с определением влияния экономической среды на формирование и использование персональных финансов. Формирование и использование персональных финансов происходят под воздействием долгосрочных (кондратьевских) и среднесрочных волн (циклов) экономической конъюнктуры. Существуют три возможные варианта сочетания долгосрочного экономического цикла (кондратьевской волны) и жизненного цикла конкретного индивида: пик волны (большого цикла протяженностью до 50–52 лет) совпадает с моментом достижения индивидом нетрудоспособного возраста; период выхода индивида на пенсию приходится на повышательную фазу кондратьевской волны; период выхода индивида на пенсию совпадает с понижательной фазой кондратьевской волны. Риски при формировании персональных финансов состоят в том, что жизненный цикл конкретного индивида может совпасть с понижательной фазой большой волны.
Индикаторами конкретных фаз кондратьевских волн являются темпы роста ВВП и промышленного производства, динамика фондовых индексов прежде всего высокотехнологичных компаний, объемы продаж, динамика безработицы, индексы цен, динамика процентной ставки и курсов валют, индексы заработной платы и доходов индивидов. На рис. 3 представлен вариант, когда момент выхода индивида на пенсию совпадает с серединой повышательной фазы длинной (кондратьевской) волны.



Годы
n+50
n+25
n
С
береженияП
отреблениеРис. 3. Сочетание повышательной фазы длинной (кондратьевской) волны
конъюнктуры и момента выхода индивида на пенсию
В данном случае индивид оказывается не в состоянии сформировать достаточный объем сбережений для поддержания своего потребления после выхода на пенсию. Это предопределяет значительное снижение его потребления в постпенсионный период. Тем не менее собственных сбережений может быть достаточно для поддержания текущего потребления и целевая помощь государства не потребуется.
На рис. 4 представлен вариант, при котором достижение индивидом нетрудоспособного возраста совпадает с понижательной фазой кондратьевской волны.
По мере развития тенденции к снижению реальных доходов и падению процентной ставки уменьшаются возможности формирования индивидуальных сбережений, происходит снижение текущего потребления. Недостаточность персональных сбережений сопровождается резким снижением текущего потребления в постпенсионный период. Поэтому линия графика потребления сильно наклонена. Совпадение периода выхода на пенсию с понижательной фазой большой волны – наиболее неблагоприятная для индивида ситуация. Именно при этом варианте происходит интенсивное использование персональных финансов, т.е. реализация ранее накопленных индивидами персональных финансовых активов для поддержания сложившегося уровня потребления.
n


Годы
n+50
n+25
С
береженияП
отреблениеРис. 4. Сочетание понижательной фазы длинной (кондратьевской) волны
конъюнктуры и момента выхода индивида на пенсию
Кроме того, в такой ситуации могут потребоваться государственные дотации пенсионной системе. Причем потребность в дотациях может сохраняться в течение длительного периода и быть особенно острой в годы сочетания понижательной фазы длинной (кондратьевской) волны с депрессиями, протекающими в рамках среднесрочных циклов. Именно при таких условиях усиливается потребность в социальных расходах в сочетании со снижением налогового бремени на хозяйствующие субъекты, ведущие к дефициту государственного бюджета.
Наряду с процессами циклического развития экономики, объективными по своей природе, формирование и использование персональных финансов находятся под сильным воздействием долгосрочной финансовой политики, обусловливающей распределение налогового бремени между поколениями. Так, значительные внутренние и международные заимствования способны улучшить материальные условия живущего поколения, но приводят к усилению налогового бремени на последующие поколения. В этой связи возникает проблема распределения налогового бремени между поколениями. Данная проблема изучается в рамках концепции счетов поколений (generational accounting). Счета поколений представляют собой способ долгосрочного планирования государственных доходов и расходов при проведении финансовой политики.
Счета поколений представляют собой одновременно и концепцию, и систему оценки налогового (фискального) бремени, которое живущее поколение перекладывает на будущие поколения. В соответствии с этой концепцией определяется чистая текущая стоимость совокупных платежей, которые должны быть выплачены в государственный бюджет. Эта стоимость является «чистой», поскольку из суммы налогов, выплачиваемых населением, вычитается сумма социальных трансфертов, получаемых населением из бюджета.
Расчеты счетов поколений производятся для ныне живущего и будущего поколений. Некоторые исследователи делают попытки рассчитать распределение как налогов, так и социальных трансфертов возрастных групп в оставшийся период их жизненного цикла. Государственные расходы, которые не связаны с возрастом их получателей, распределяются на все население в равной мере.
Недопущение перераспределения между живущим и будущим поколениями рассматривается концепцией счетов поколений в качестве «межвременного» бюджетного ограничения (governments intertemporal budget constraint). Это ограничение выражается равенством:
А + В = С + Д (3)
где: А – сумма счета будущих поколений, приведенная к текущей величине; В – сумма счета живущего поколения; С – сумма будущих государственных расходов, приведенная к текущей величине; Д – чистый государственный долг (долг за минусом государственного кредита).
Величина А – финансовые ресурсы, которые должны выплачивать в бюджетную систему в виде налогов будущие поколения в погашение государственного долга, накопленного живущим поколением. Величина В – объем финансовых ресурсов, вносимых в бюджетную систему живущим поколением. При неизменности суммы (С + Д) снижение В приводит к росту А, т.е. перекладыванию налогового бремени на будущие поколения. Это означает, что текущая финансовая политика создает дисбаланс между расходами поколений.
Использование счетов поколений позволяет изучать те аспекты текущей финансовой политики, которые проявляются в будущем, непосредственно воздействуя на особенности формирования персональных финансов. Важным достоинством концепции счетов поколений является возможность исследования в ее рамках воздействия текущей финансовой политики на формирование сбережений будущих поколений. Если расчеты на основе счетов поколений указывают на рост налогового бремени на будущие поколения, это означает снижение их склонности к сбережению и соответствующее уменьшение инвестиционного потенциала экономики.
Анализ в рамках концепции счетов поколений российского государственного долга связан с необходимостью учета ряда специфических особенностей. Во-первых, основную часть государственного долга России составляет задолженность перед нерезидентами, выраженная в иностранной валюте. Это обусловливает учет средне- и долгосрочной динамики курсов валют, в которых выражена внешняя задолженность. Во-вторых, оценка налогового бремени будущих поколений в значительной степени зависит от прогноза изменения численности населения России. Сокращение численности населения означает усиление налогового бремени на последующие поколения. В-третьих, около половины доходных поступлений бюджетной системы России носит рентный характер и определяется динамикой мировых цен на энергоносители. В-четвертых, значительные финансовые ресурсы сконцентрированы в настоящее время в международных резервах Банка России, а также в Резервном фонде и Фонде национального благосостояния. Они представляют собой потенциальный источник погашения государственного долга.
Асимметричность рыночной информации представляет собой элемент экономической среды, в которой формируются персональные финансы. Исследование этого элемента является необходимым этапом изучения персональных финансов и разработки эффективных методов управления ими. Эффективность принятия решений в сфере персональных финансов определяется качеством и достаточностью информации, которой владеет конкретный индивид. В частности, при выборе учебного заведения индивид должен, во-первых, оценить перспективы своей будущей профессии; во-вторых, правильно определить востребованность у потенциальных работодателей диплома учебного заведения, в которое он намерен поступить.
Одним из проявлений эффекта асимметричной информации является «недонакопление», т.е. недостаточные сбережения населения не только развивающихся, но и развитых стран. «Недонакопление» является следствием недостаточной информированности индивидов о состоянии здоровья и соответственно расходах на лекарства в постпенсионном возрасте. Нехватка персональных сбережений заставляет правительства оказывать финансовую поддержку пенсионерам.
В трансформируемой экономике проявление эффекта асимметричной информации имеет существенную специфику. Во-первых, неустойчивость такой экономики предопределяют высокие темпы инфляции. При этом на процесс ценообразования существенное воздействие оказывают макроэкономические факторы, а также меры денежно-кредитной политики. В таких условиях крайне затруднительно прогнозирование динамики реальной цены конкретного финансового актива. Во-вторых, неотлаженность механизма регулирования трансформируемой экономики вызывает плохо прогнозируемые, а зачастую хаотичные действия органов государственного управления. Это проявляется в частом изменении законодательных актов и ведомственных инструкций, в противоречивых заявлениях правительственных чиновников, отражающихся на функционировании рынков. В-третьих, существенную неопределенность для ведения бизнеса в трансформируемой экономике создает коррумпированность власти. В этих условиях органы управления принимают решения в интересах одних корпораций и в ущерб другим. Понятно, что такие действия властей плохо прогнозируемы. В-четвертых, в трансформируемой экономике значительное влияние на поведение субъектов рыночных отношений оказывает инсайдеровская информация. Причем сведения такого характера поступают как от недобросовестных служащих корпораций, так и от государственных чиновников.
Таким образом, можно отметить следующие направления влияния эффекта асимметричной информации на формирование персональных финансов. Во-первых, этот эффект воздействует на уровень индивидуального дохода от трудовой деятельности. Информация, создаваемая конкретным работником, становится собственностью работодателя и не всегда отражается в персональном доходе. Поэтому высококвалифицированные работники могут быть не заинтересованы в полном раскрытии своих возможностей. В свою очередь, работодатели терпят убытки при увольнении квалифицированных работников, особенно в условиях высокого спроса на производимую продукцию. Кроме того, работодатели могут допускать систематические ошибки при определении оплаты труда вновь принимаемых работников, поскольку не всегда в состоянии правильно оценить их трудовой потенциал. Корректировка ошибок, допускаемых как работниками, так и работодателями, ведет к непредсказуемым изменениям трудового дохода и усиливает неопределенность в сфере формирования персональных финансов. Во-вторых, недостаток информации о динамике будущего потребления, в частности в постпенсионном возрасте, вызывает систематические ошибки при формировании необходимого уровня сбережений и обусловливает неизбежность государственного воздействия на этот процесс. В-третьих, асимметричность информации, которой обладают персональные инвесторы, с одной стороны, и профессиональные менеджеры, с другой, снижает эффективность управления персональным инвестиционным процессом и может приводить к прямым потерям для инвестора.
Третья группа проблем, исследованных в диссертации, заключается в определении направлений развития системы управления персональными финансами.
Менеджмент в сфере персональных финансов представляет собой деятельность индивида по регулированию потоков денежных доходов для максимизации персонального богатства. Задачами менеджмента персональных финансов являются формирование человеческого капитала конкретного индивида, реализация персонального финансового потенциала, максимизация доходности персональных финансовых активов, рациональное осуществление текущих расходов, формирование сбережений, управление социальными и финансовыми рисками. К базовым элементам менеджмента персональных финансов относятся общие принципы управления персональными финансами, методы управления и инструменты их реализации.
Основными направлениями управления персональными финансами являются: формирование человеческого капитала, в частности путем получения образования и последующего повышения профессиональной квалификации; рациональное привлечение заемных ресурсов; управление налоговыми платежами; оптимизация расходов на текущее потребление; формирование персональных сбережений; трансформация персональных сбережений в инвестиции и максимизация их доходности; риск-менеджмент персональных инвестиций; медицинское страхование; пенсионное страхование и формирование пенсионных накоплений; персональное страхование имущества и жизни.
Менеджмент в сфере персональных финансов характеризуется существенными особенностями. Во-первых, существенна специфика управления персональными финансами на конкретных этапах жизненного цикла индивида. Во-вторых, персональные финансы подвержены персональным имущественным, инвестиционным и социальным рискам. В-третьих, менеджмент в сфере персональных финансов направлен на решение противоречивой задачи нахождения оптимального сочетания текущего потребления и сбережения. В-четвертых, существенную специфику имеет проявление в сфере персональных финансов эффекта финансового рычага.
Одним из основных направлений управления персональными финансами является риск-менеджмент, связанный с системой персональных рисков. Индивиды сталкиваются со сложной системой рисков, в частности с такими персональными рисками, как утрата дохода, здоровья и имущества, а также с финансовыми рисками. Решения о страховании основной части рисков индивиды принимают самостоятельно. Часть рисков, называемых социальными (утрата заработка от трудовой деятельности вследствие временной нетрудоспособности, профессионального заболевания, безработицы, потеря дохода в связи с преклонным возрастом), страхуются в силу закона и относятся к сфере обязательного социального страхования. Наличие социальных рисков вызывает необходимость управления персональным медицинским, социальным и пенсионным страхованием. Кроме того, обязательным является страхование гражданской ответственности автовладельцев. В данном случае осуществляется страхование риска нанесения ущерба третьим лицам. Особое направление составляет риск-менеджмент персональных инвестиций, имеющий своей задачей достижение оптимального соотношения финансовых рисков и доходности. Стратегиями их минимизации являются: самострахование, добровольное и обязательное страхование. Алгоритм управления персональными рисками включает оценку рисков, выбор стратегии их минимизации, выбор метода страхования.
В отношении одного и того же риска могут использоваться сразу три стратегии минимизации. Так, риск временной утраты здоровья (заболевания) и связанные с ним расходы могут быть застрахованы в рамках самострахования путем создания индивидом фонда денежных средств на непредвиденные расходы. Одновременно индивид может купить страховой полис медицинской страховой компании в рамках добровольного страхования.
В процессе управления персональными финансами индивид должен находить решения противоречивых задач. Это связано, например, с тем, что увеличение текущих затрат приводит к снижению сбережений и подрывает долгосрочную финансовую устойчивость. И напротив, повышение нормы сбережений вызывает сокращение текущего потребления. Привлечение кредитов способно увеличить текущее потребление, которое неизбежно снижается в последующем за счет выплаты кредитов и процентов по ним.
К методам управления персональными финансами относятся финансовый учет, финансовое планирование, финансовый анализ, самоконтроль индивидов за текущими расходами и формированием сбережений. В диссертации разработаны такие инструменты планирования персональных финансов, как баланс активов и пассивов индивида; план-прогноз реализации финансовых целей, например, на 3-х летний период; персональный бюджет.
Ключевым звеном управления персональными финансами является бюджетный процесс. Он включает четыре стадии: анализ финансовой позиции индивида, разработку плана-прогноза реализации финансовых целей индивида, составление персонального бюджета, контроль за осуществлением запланированных доходов и расходов.
Одной из главных задач менеджмента в сфере персональных финансов является оптимизация инвестиционного портфеля в целях снижения финансовых рисков и повышения доходности вложений. Формирование конкретным индивидом своего персонального инвестиционного портфеля составляет процесс индивидуального портфельного поведения. В ходе этого процесса реализуются инвестиционные предпочтения конкретных людей и их толерантность к финансовым рискам.
В диссертации разработана экономико-математическая модель формирования персональных финансовых активов:
, (4)где: Ai – i-й финансовый актив; yi – коэффициент оценки риска i-го актива персональным инвестором; W – совокупное богатство индивида; Y – текущий годовой доход индивида; D – количество иждивенцев; E – уровень знаний индивида о финансовом рынке; O – возраст индивида; b1, b2, b3, b4, b5 – коэффициенты; ε – случайная переменная.
В уравнении (4) представлены основные факторы, определяющие общий объем персонального инвестиционного портфеля.
Управление персональными инвестициями в развивающейся рыночной экономике характеризуется спецификой. Во-первых, общая макроэкономическая нестабильность развивающихся рыночных систем предопределяет многофакторность протекающих в них процессов и их высокую динамичность. Эти обстоятельства, в свою очередь, сужают горизонт прогнозирования и соответственно принятия решений об инвестициях.
Во-вторых, низкий уровень индивидуальных доходов обусловливает недостаточность сбережений, трансформируемых в инвестиции. В переходной экономике до 90% доходов используются большинством населения на текущее потребление, поэтому сбережения создаются на случай непредвиденных обстоятельств. Следовательно, они должны обладать высокой ликвидностью. Такие сбережения обычно хранятся в форме денег, в том числе иностранной валюты, на счетах в кредитных учреждениях или дома. Они не используются для операций на фондовом рынке. Их владельцы вынуждены ограничиваться низкими доходами от такого размещения свободных денежных ресурсов или даже нести потери вследствие их инфляционного обесценения.
В-третьих, неразвитость и неустойчивость финансово-кредитных институтов и фондового рынка не позволяют персональным инвесторам осуществлять диверсификацию своих вложений. В частности, недостаточно детализирована информация о многих эмитентах ценных бумаг. Частые случаи использования трейдерами инсайдерской информации приводят к материальным потерям персональных инвесторов. Относительно велик размер комиссионных, взимаемых брокерами за операции с ценными бумагами. Все эти факторы обусловливают высокую рискованность операций персональных инвесторов при инвестировании с использованием инструментов фондового рынка.
В-четвертых, в развивающихся рыночных экономиках не сформировалась «инвестиционная культура» как особый тип поведения индивидов, основанная на осознании значения управления персональными инвестициями для обеспечения высокого уровня жизни и формирования денежных ресурсов на постпенсионный период. Важным элементом «инвестиционной культуры» является наличие знаний о правилах функционирования рыночной экономики и, в частности фондового рынка.
Особой сферой менеджмента персональных финансов является управление социальным страхованием. Исторически социальное страхование возникло и развивалось как обязательное, осуществляемое в силу закона. Его главной задачей являлось обеспечение застрахованному лицу определенного денежного дохода при достижении нетрудоспособного возраста и при вынужденной безработице или болезни, а также оплата лечения. Однако процесс старения населения предопределил необходимость глубокого реформирования системы социального страхования. В настоящее время такие реформы проводятся во многих странах.
Значение управления социальным страхованием как особой сферой персональных финансов определяется: ролью данного вида обязательного страхования для обеспечения стабильности персонального дохода и оплаты наиболее важных услуг, в частности медицинских; спецификой сферы социального страхования, в которой тесно переплетаются интересы конкретного индивида в различных жизненных обстоятельствах и интересы общества в целом; быстрым расширением в рамках социального страхования сферы принятия индивидами персональных решений, в частности при выборе компаний, управляющих пенсионными накоплениями, и инструментов инвестирования этих накоплений.
Анализ опыта функционирования системы обязательного социального страхования в России в 1997-2008 гг. позволяет сделать следующие выводы. Во-первых, обязательное социальное страхование по охвату страхуемых социальных рисков соответствует стандартам, определяемым международными нормами, в частности конвенциями МОТ. Во-вторых, государственные страховые фонды в целом обеспечивают устойчивое управление данной системой. В-третьих, современная российская система обязательного социального страхования в существенной степени сохраняет черты, свойственные социальному обеспечению. Это проявляется в нарушении эквивалентности между страховыми взносами индивидов в систему страхования и размером получаемого страхового обеспечения. В-четвертых, с переходом к накопительной пенсионной системе расширились права индивидов по управлению пенсионными накоплениями.
В диссертации обоснованы основные направления развития системы медицинского страхования в России. К ним относятся: широкая диверсификация медицинских услуг по конкретным слоям населения с предоставлением бесплатных медицинских услуг лишь индивидам с минимальными доходами; предоставление индивидам возможности самостоятельного выбора медицинской страховой компании и медицинского учреждения; широкое использование актуарных расчетов при определении тарифов на медицинское страхование; распространение медицинского страхования на приобретение лекарственных препаратов; расширение перечня страхуемых заболеваний.
Эффективное управление персональными финансами невозможно без развития пенсионной системы. В диссертации определены основные направления совершенствования российской пенсионной системы: активизация участия индивидов в формировании пенсионных накоплений и выборе направлений их инвестирования за счет государственных гарантий сохранности средств, вносимых в негосударственные пенсионные фонды; создание специализированного правительственного агентства по инвестированию пенсионных накоплений в государственные инвестиционные проекты и в акционерные общества с государственным участием; зачисление на счета персонифицированного учета средств застрахованных лиц в Пенсионном фонде РФ добровольных взносов под процентную ставку, устанавливаемую и гарантируемую Правительством РФ; выпуск государственных долгосрочных именных ценных бумаг, погашаемых после выхода индивида на пенсию.
Четвертая группа проблем, изученных в диссертации, связана с определением роли и возможностей банковской системы в формировании и использовании персональных финансов.
Современная банковская система аккумулирует значительную часть денежных потоков, связанных с персональными финансами. Она обеспечивает выплаты персональных доходов, платежи по различным видам расходов, предоставление кредитов. Персональные финансы формируют часть банковских пассивов в виде различных счетов (депозитов). Но одновременно индивиды являются контрагентами активных операций банков при получении кредитов.
Банковская система не только обеспечивает аккумулирование индивидуальных доходов и возмездное, временное перераспределение свободных ресурсов в виде кредитования индивидуальных потребностей. Эта система является источником получения индивидами значительных дополнительных доходов в виде процентов по размещенным срочным и сберегательным депозитам, а также по депозитным сертификатам.
К факторам, формирующим спрос на кредитные услуги со стороны индивидов, следует отнести особенности потребительских предпочтений и психологические аспекты, например, стремление сократить сроки накопления, приобрести желаемые товары, избегая ощутимого сокращения текущего потребления. Эти цели могут быть реализованы при приобретении товаров в рассрочку с использованием механизма потребительского кредита. Спрос на кредитные услуги со стороны индивидов может также формироваться для компенсации потерь при наступлении рисков общего характера (пожары, наводнения, ураганы, землетрясения).
Факторы предложения персональных кредитных услуг связаны с реализацией отдельных функций кредита, в первую очередь аккумулирующей и перераспределительной. К факторам предложения кредитных услуг для индивидов можно отнести стремление банков стабилизировать и расширить свою ресурсную базу, диверсифицировать кредитный портфель. Среди факторов предложения могут присутствовать и элементы кредитного менеджмента. Так, открытие и ведение счетов клиентов, мониторинг этих счетов, их состояние и динамика служат важнейшим источником информации, используемой менеджментом для принятия как базовых, так и корректирующих управленческих решений.
По отношению к деятельности кредитных организаций, обеспечивающей потребности индивидов, целесообразно применять термин «персональный кредитный менеджмент», под которым понимается управление деятельностью кредитных организаций по оказанию услуг индивидам (клиентам).
Важнейшей группой факторов управления качественными характеристиками услуг кредитных организаций являются клиентские позиции кредитного менеджмента. Особое значение они приобретают в условиях перестройки кредитного рынка с рынка продавца на рынок покупателя, перехода от прямого навязывания кредитными организациями условий кредита к балансировке интересов банка и его клиентов.
Эффективный персональный кредитный менеджмент предполагает обнаружение, идентификацию, оценку и включение в структуру кредитных услуг таких потребностей клиентов кредитных организаций, корректирующих параметры кредитного спроса, как наличие возможности получения комплекса услуг, полного обеспечения всеми необходимыми кредитными услугами. Это касается разнообразия видов кредитов и кредитных линий, дополнительной помощи в виде проектного финансирования, консультаций, работы с проблемными кредитами.
Современный этап развития системы персональных банковских услуг характеризуется её стремительным расширением и диверсификацией. С точки зрения индивида – клиента кредитной организации, банковские услуги включают следующие виды: расчетно-кассовые и конверсионные услуги; услуги по приему денежных средств во вклады с выплатой процентного дохода; кредитные услуги, в том числе с использованием кредитных карт и овердрафтов, а также предоставление банковских гарантий; трастовые услуги, включая формирование персональных инвестиционных портфелей и управление ими; куплю-продажу золота и золотых монет, ведение счетов в золоте; консультационные и информационные услуги; депозитарные услуги (предоставление в аренду сейфов); интернет-банкинг (internet-banking); прайвет-банкинг (private-banking).
Персональные банковские услуги можно также классифицировать по их роли в формировании и использовании персональных финансов. В этом случае следует выделить три группы банковских услуг: обслуживание формирования и использования персональных финансов (расчетно-кассовые и конверсионные, консультационные и информационные, депозитарные, интернет-банкинг, прайвет-банкинг); инвестирование денежных накоплений (прием денежных средств во вклады с выплатой процентного дохода, трастовые услуги, купля-продажа золота в слитках и золотых монет, ведение счетов в золоте); предоставление заемных ресурсов (кредитование, эмиссия кредитных карт, овердрафты), а также выдача банковских гарантий.
Развитость рынка розничных банковских услуг является обязательным условием устойчивости процесса формирования персональных финансов, эффективного использования персональных сбережений, привлечения в данную сферу заемных ресурсов. В свою очередь, укрепление персональных финансов, в частности рост доходов индивидов, обеспечивает постоянный приток денежных средств в банковскую систему, увеличивая ее кредитный потенциал.
Российский рынок розничных банковских услуг находится в стадии становления. В сравнении с рынками других стран он характеризуется небольшими объемами мобилизованных денежных ресурсов и низкими показателями предоставленных кредитов. Несмотря на наметившуюся позитивную динамику, банковские услуги индивидам в России недостаточно диверсифицированы. Можно констатировать, что развитие рынка этих услуг значительно отстает от темпов роста доходов индивидов и от увеличения их потребностей в качественных услугах в сфере персональных финансов. Такое положение объясняется рядом факторов, в частности общей неустойчивостью макроэкономической ситуации, определяемой зависимостью экономики от мировых цен на энергоносители и высокой инфляцией; периодически повторяющимися банковскими кризисами, сопровождающимися изъятием вкладов индивидов из кредитных организаций; низкой капитализацией банков; неустойчивостью рубля; слабой предсказуемостью денежно-кредитной политики. В условиях экономического кризиса недоверие индивидов к национальной банковской системе резко возросло. В сложившейся ситуации перестал нормально функционировать механизм аккумулирования сбережений индивидов в банковской системе и их трансформации в инвестиции. Значительно возросла долларизация российской экономики.
К приоритетным направлениям развития системы персональных банковских услуг в России следует отнести стабилизацию и последующее восстановление ипотечного кредитования и предоставления кредитов на получение образования. Важное значение также имеет обеспечение тесной интеграции банковских услуг для индивидов с другими видами банковской деятельности, в частности с кредитованием предприятий, производящих потребительские товары, и с торговыми организациями, т.е. с производственно-торговым комплексом.
Послекризисное восстановление и последующее развитие ипотечного кредитования позволят решать важную социальную задачу предоставления доступного жилья индивидам, обеспечить повышение рентабельности банковской деятельности, увеличить доходность инвестирования сбережений индивидов. Выгодные для заемщика условия такого кредитования зависят от размера индивидуального дохода, наличия задолженности, внесения предоплаты. Как показывает практика, ипотечное кредитование характеризуется большими рисками всех его участников: заемщиков (индивидов), коммерческих банков, строительных компаний. Риски индивидов связаны с неквалифицированным управлением строительными компаниями, ненадлежащим оформлением документации, в частности по землеотводу, мошенническими действиями менеджмента этих компаний, а также некачественным строительством, обусловливающим материальные потери покупателей жилья или полную потерю собственности. Важно также учитывать риски коммерческих банков и строительных компаний, влияющих на уровень процентных ставок по ипотечному кредитованию. К этим рискам относятся невозврат кредита заемщиками вследствие падения их доходов и нехватка средств для завершения строительства из-за роста цен на строительные материалы.
Снижение рисков всех участников ипотечного кредитования требует комплексного подхода к разработке мер государственной политики в данной сфере. В частности, снижению рисков может способствовать транспарентность деятельности государственных и муниципальных ведомств, занимающихся вопросами землеотвода, и государственный аудит строительных компаний. Для расширения ипотечного кредитования важное значение имеет также сокращение требуемого банками первоначального взноса при предоставлении ипотечного кредита; снижение (или частичное дотирование для индивидов с низкими доходами и индивидов, потерявших работу в период экономического кризиса) процентной ставки по ипотечному кредитованию; развитие рынка ипотечных ценных бумаг; снижение издержек по оформлению договоров ипотечного кредитования.
В современных российских условиях востребованной банковской услугой становится кредитование оплаты образования (образовательный кредит). В мировой практике используются три основных вида образовательного кредита: классический кредит, предоставляемый на оговариваемый период под определенный процент; кредит, предоставляемый на условиях погашения за счет определенной части ежемесячного дохода заемщика; государственный кредит, погашаемый впоследствии в виде уплаты специального налога.
Предоставление образовательных кредитов предполагает наличие отработанного механизма их погашения. Как показывает мировой опыт, создание такого механизма сталкивается с проблемами даже в странах с развитой правовой системой. Дело в том, что при предоставлении образовательных займов на приемлемых для широких слоев населения условиях необходима система гарантий. Однако образовательный кредит весьма сложно обеспечивать залогом и поручительством. Предоставление образовательных кредитов должно обеспечиваться государственными гарантиями. Однако излишне широкие государственные гарантии способствуют кредитной экспансии банков и, как следствие, росту невозврата кредитов. В данном случае происходит «отрицательная селекция», когда займы получают не наиболее кредитоспособные индивиды, а легко соглашающиеся на все банковские условия. Расширение предоставления образовательных кредитов в условиях экономического кризиса, частичное государственное субсидирование процентных платежей по этим кредитам имеют большое значение для стабилизации персональных финансов и преодоления кризисных явлений.
Перспективным направлением развития взаимодействия индивидов и банковских учреждений является формирование производственно-торговых комплексов. Они позволяют усилить роль коммерческих банков как посредников, интегрирующих в процессе кредитования интересы индивидов, промышленных предприятий и торговых организаций. Роль банковской системы в формировании и использовании персональных финансов состоит в оказании услуг индивидам по проведению расчетов и аккумулированию доходов, в инвестировании временно свободных денежных средств и привлечении в данную сферу заемных ресурсов.
Развитие рынка розничных банковских услуг, в частности ипотечного кредитования, предоставления образовательных кредитов, интернет-банкинга позволит повысить эффективность процессов формирования и использования персональных финансов за счет повышения доходности от размещения временно свободных денежных ресурсов и снижения трансакционных издержек, а также снизить финансовые риски индивидов.
Осуществление комплекса мер по интенсификации процесса аккумулирования денежных сбережений индивидов в банковской системе, эффективная трансформация этих сбережений в инвестиции, снижение долларизации российской экономики являются важными условиями преодоления последствий экономического кризиса.
Пятая группа исследованных проблем связана с выявлением и оценкой особенностей формирования персональных финансов, определением основных направлений их развития в российской экономике.
Особенности формирования персональных финансов в России обусловлены действием факторов, обусловленных переходным характером отечественной экономики. Такой экономической системе свойственны макроэкономическая неустойчивость, незавершенность структурной перестройки, неопределенность отношений собственности, неразвитость институциональных основ экономики и финансового рынка. Кроме того, следует учитывать, что в условиях сложности и неопределенности макроэкономической ситуации в России часто проводилась неадекватная государственная политика в отношении персональных доходов.
В настоящее время официальными источниками статистики по персональным финансам являются: система национальных счетов; баланс денежных доходов и расходов населения; данные статистических обследований персональных финансов, проводимых государственными статистическими органами. Кроме того, важный источник информации составляют данные социологических опросов, проводимых общественными организациями.
Основным источником информации по персональным финансам России является система национальных счетов (СНС). Методология национальных счетов в нашей стране в условиях формирования рыночных отношений имеет определенную специфику. Важно учитывать, что в СНС доходы определяются на основе начислений, а не на кассовой основе. В СНС включаются не только денежные, но и натуральные доходы. Статистическими органами России в настоящее время вследствие неготовности информационной базы не разрабатывается финансовый счет.
Вторым по значимости источником статистической информации о персональных финансах России в настоящее время является баланс денежных доходов и расходов населения (БДДРН). Методология его расчета имеет существенные недостатки. Во-первых, в БДДРН все денежные поступления, в том числе кредиты, рассматриваются в качестве доходов. Во-вторых, в этот баланс не входят доходные поступления в натуральной форме. В-третьих, реализация накопленной индивидами иностранной валюты в соответствии с методологией БДДРН считается доходным поступлением. В-четвертых, при составлении БДДРН не проводится четкого разграничения между текущими и инвестиционными (капитальными) расходами. Это создает трудности при оценке валового сбережения индивидов. В-пятых, при разработке БДДРН допускаются неточности в оценке персональных доходов по регионам России, поскольку метод балансового определения доходов основывается на регистрации получения доходов и осуществления расходов, а они часто не совпадают с местом жительства индивидов.
Третьим источником информации о персональных финансах являются выборочные обследования, проводимые российскими статистическими органами. Основной целью таких обследований является получение данных о доходах, расходах и сбережениях индивидов. Однако, начиная с 1997 г. статистические органы составляют данные лишь о расходах и сбережениях, тем самым, определяя доходы не прямым, а косвенным способом. В настоящее время в ходе обследований опрашивается около 49 тыс. домашних хозяйств, являющихся первичным звеном формирования персональных финансов.
Формирование персональных финансов в России имеет характерные особенности. Во-первых, они определяются переходным характером отечественной экономики. В такой экономической системе происходят интенсивные процессы появления класса собственников капитала, а также увеличения доли персональных доходов от предпринимательской деятельности, финансовых активов, недвижимости. Во-вторых, формирование доходов нового класса собственников в России сопровождается отставанием роста реальной заработной платы, пенсий и пособий остальных индивидов. В результате доля трудовых доходов в ВВП России оказалась значительно ниже, чем в развитых странах. Это обусловливает низкую ёмкость внутреннего рынка, сдерживает рост персональных доходов, потребления, сбережений. В-третьих, в России велика доля индивидов с доходными поступлениями ниже прожиточного минимума в общей численности населения. Сохранение высокой численности бедных является устойчивой тенденцией и не позволяет обеспечить стабильный рост платежеспособного спроса в национальной экономике. В-четвертых, в российской экономике проявляется устойчивая, многолетняя тенденция роста концентрации индивидуальных доходов. Это означает, что темп роста 10% наиболее зажиточной части населения превосходит темпы увеличения доходов прочих групп населения. В-пятых, важной особенностью формирования персональных финансов в России является высокая доля иностранной валюты в доходах, расходах и сбережениях индивидов. Применение валюты других стран в значительных объемах является фактором неустойчивости формирования персональных финансов в России. Это связано со значительными валютными рисками, в частности изменениями в соотношении доллар/евро, а также с высокими издержками при конвертации валют. В-шестых, в России наблюдается значительная доля скрытых доходов. К ним относятся как оплата труда, так и предпринимательский доход. Причиной широкого распространения скрытых персональных доходов является недостаточное развитие институциональных основ рыночной экономики в России, в частности, системы эффективного контроля за доходами на всех стадиях их формирования. Наконец к особенностям формирования персональных финансов в России относится слабая государственная политика доходов. Она не способна обеспечить справедливую рыночную оценку стоимости рабочей силы и преодолеть усиление дифференциации персональных доходов по отдельным группам населения, отраслям и регионам. Эти особенности процесса формирования персональных финансов в российской экономике усилились в условиях современного глобального экономического кризиса.
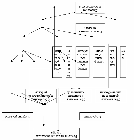
Особое внимание в диссертации уделено особенностям процесса трансформации персональных сбережений в инвестиции в российской экономике. Под трансформацией понимается превращение персональных денежных ресурсов в финансовые активы, недвижимость и получение дохода на эти вложения, увеличивающего благосостояние индивида. Основными этапами трансформации персональных сбережений в инвестиции являются: создание сберегаемых ресурсов, их вложение в финансовые активы, получение в результате оптимального управления инвестиционным процессом максимального дохода (рис 5).
Процесс трансформации персональных сбережений в инвестиции в российской экономике проходит под влиянием сохраняющейся макроэкономической нестабильности; незаконченности процесса формирования среднего класса как основного инвестора; неэффективности государственной инвестиционной политики; неустойчивого финансового поведения индивидов, формирующегося под влиянием сильных колебаний экономической конъюнктуры и потребительских настроений; отсутствия экономических условий для диверсификации инвестиций.

Рис. 5. Трансформации персональных сбережений
в инвестиционные ресурсы в России
Анализ норм персональных сбережений в различных странах указывает на отсутствие однозначных тенденций и закономерностей их формирования. Поэтому при разработке политики поощрения сбережений в России нецелесообразно использование норм сбережений за рубежом в качестве ориентиров для России. Иными словами, норма сбережений формируется в России под воздействием специфических факторов, присущих отечественной экономике.
Приоритетными направлениями повышения эффективности управления персональными финансами на государственном уровне являются повышение официальной минимальной оплаты труда до полуторной величины прожиточного минимума, что позволит семье из двух работающих родителей содержать одного ребенка; использование прогрессивной шкалы налогообложения доходов, наследств, недвижимости для снижения дифференциации доходов; государственное субсидирование процентных ставок при банковском кредитовании жилищного строительства для молодых семей; демонополизация рынка потребительских товаров, прежде всего, продовольствия в целях стабилизации цен и повышения платежеспособности индивидов; использование отраслевых и территориальных коэффициентов к заработной плате работников предприятий; регулирование оплаты труда менеджеров на предприятиях с государственным участием; стимулирование сбережений на приобретение жилья путем предоставления налоговых льгот на доходы, поступающие на специальные банковские накопительные счета; стимулирование пенсионных накоплений за счет налоговых льгот и специальных государственных гарантий сохранения этих накоплений; выпуск государственных ценных бумаг небольших номиналов; обеспечение транспарентности фондового рынка в целях расширения операций на нем физических лиц.
К основным условиям устойчивости сберегательно-инвестиционного процесса в России относятся: достижение уровня персональных доходов большинства населения, превышающего уровень текущего потребления и позволяющего делать сбережения как для осуществления дорогостоящих покупок, так и для инвестирования с целью получения постоянного дополнительного дохода; стабильное функционирование финансовых институтов, аккумулирующих персональные сбережения и обеспечивающих их сохранность, в том числе благодаря системе государственных гарантий; наличие разнообразных по степени доходности и рискам финансовых инструментов, позволяющих индивидам эффективно инвестировать денежные средства при высокой ликвидности вложений.
Направлением активизации персонального инвестирования в России является снижение рисков мошенничества, неквалифицированного управления фондов их менеджерами, несанкционированного доступа посторонних лиц к конфиденциальной информации об инвесторах. Все эти риски относятся к внерыночным, т.е. не связанным с колебаниями цен финансовых активов. Для нейтрализации внерыночных рисков инвестирования целесообразно использовать компенсационные и гарантийные фонды. Они призваны снизить потери персональных инвесторов в случае неплатежеспособности финансовых институтов, осуществляющих инвестиции. Указанные фонды могут создаваться за счет взносов финансовых институтов, действующих на рынке персональных инвестиций и заинтересованных в его устойчивости. Средства этих фондов используются для выплат компенсаций инвесторам в случае банкротства или значительных финансовых потерь финансовых институтов, осуществляющих инвестиционные операции. Кроме того, за рубежом финансовые институты прибегают к страхованию взносов клиентов от внерыночных рисков в страховых компаниях.
Для оптимизации формирования персональных сбережений в российской экономике в диссертации предложена следующая модель:
(5)где: DS – прирост персональных сбережений; DW – прирост персональных доходов; DС – прирост персонального потребления; DL – производительность труда в экономике; DI – прирост инвестиций в основной капитал; r – процентная ставка; p – инфляция; a, b, d – коэффициенты.
Экономический смысл модели состоит в том, что максимизация персональных финансов достигается при превышении прироста доходов над приростом персонального потребления и при превышении прироста производительности труда над приростом инвестиций в основной капитал.
Разработанные в диссертации направления повышения эффективности управления персональными финансами могут составить ключевой блок антикризисной программы российского правительства.
В заключении перечислены основные результаты исследования, позволяющие повысить эффективность процессов формирования и использования персональных финансов в национальной экономике.
СПИСОК РАБОТ, ОПУБЛИКОВАННЫХ ПО ТЕМЕ ДИССЕРТАЦИИ
Монографии и учебники
- Екшембиев Р.С. Персональные финансы в финансовой системе государства. Монография. – М.: Магистр, 2008. – 19 п.л.
- Екшембиев Р.С. Финансы: учебник. – 3-е изд., перераб. и доп. / Под ред. проф. В.Г. Князева, проф. В.А. Слепова. – М.: Магистр, 2008. - 35/3 п.л.
- Екшембиев Р.С. Библиотека банкира. Все о коммерческом банке / Под ред. проф. В.И. Видяпина, проф. К.Р. Тагирбекова. – М.: Военная книга, 2007. – 430/4,5 п.л.
- Екшембиев Р.С. Персональные финансы. Монография. – М.: Рос.экон.акад., 2006. – 8,5 п.л.
Статьи в журналах, рекомендуемых ВАК для опубликования
результатов диссертационной работы
- Екшембиев Р.С. Особенности формирования и использования персональных финансов в российской экономике // Финансы и кредит, 2009, №21. – 0,5 п.л.
- Екшембиев Р.С. Цикличность развития экономики и персональных финансов // Финансы и кредит, 2009, №17. – 0,6 п.л.
- Екшембиев Р.С. Влияние эффекта асимметричной информации на персональные финансы // Финансы и кредит, 2008, №34. – 0,5 п.л.
- Екшембиев Р.С. Персональные финансы // Вестник РЭА, 2008, №1. - 0,5 п.л.
- Екшембиев Р.С. Особенности менеджмента персональных инвестиций // Менеджмент в России и за рубежом, 2007, №6. – 0,5 п.л.
- Екшембиев Р.С. Банковская система в формировании и использовании персональных финансов // Финансы и кредит, 2007, №2. – 0,5 п.л.
- Екшембиев Р.С., Слепов В.А. О сбалансированности счетов поколений // Финансы, 2006, №8. – 0,5 п.л.
- Екшембиев Р.С. Особенности менеджмента в сфере персональных финансов // Менеджмент в России и за рубежом, 2006, №4. – 0,5 п.л.
- Екшембиев Р.С. Персональные финансы и жизненный цикл индивида // Вестник РЭА, 2006, №1. – 0,5 п.л.
Работы, опубликованные в материалах
международных конференций
- Екшембиев Р.С. Персональные финансы и человеческий капитал. Двадцать вторые Международные Плехановские чтения. Тезисы докладов аспирантов, докторантов и научных работников. – М.: Рос.экон.акад., 2009. – 0,1 п.л.
- Екшембиев Р.С. Менеджмент в сфере персональных финансов. Двадцать первые Международные Плехановские чтения. Тезисы докладов аспирантов, докторантов и научных работников. – М.: Рос.экон.акад., 2008. – 0,1 п.л.
- Екшембиев Р.С. Особенности формирования персональных финансов в российской экономике. Двадцатые Международные Плехановские чтения. Тезисы докладов аспирантов, докторантов и научных работников. – М.: Рос.экон.акад., 2007. – 0,1 п.л.
- Екшембиев Р.С. О динамике персональных сбережений. Девятнадцатые Международные Плехановские чтения. Тезисы докладов аспирантов, докторантов и научных работников. – М.: Рос.экон.акад., 2006. – 0,1 п.л.
- Екшембиев Р.С. Персональные финансы и распределительные отношения. Восемнадцатые Международные Плехановские чтения. Тезисы докладов аспирантов, докторантов и научных работников. – М.: Рос.экон.акад., 2005. – 0,1 п.л.
- Екшембиев Р.С. Клиентские позиции в финансовом менеджменте кредитных организаций. Пятнадцатые Международные Плехановские чтения. Тезисы докладов аспирантов, докторантов и научных работников. – М.: Рос.экон.акад., 2002. – 0,1 п.л.
Публикации в других изданиях
- Екшембиев Р.С. Управление персональным социальным страхованием и обеспечением. Экономика и технология. Сборник научных трудов. – СПб, 2006, 20. – 0,7 п.л.
- Екшембиев Р.С. Персональные финансы и человеческий капитал // Современные вопросы экономики, 2006, 9. – 0,9 п.л.
- Екшембиев Р.С. Оптимизация расчетно-кассового обслуживания производственно-торговых комплексов. Экономика и технология. Сборник научных трудов. – СПб, 2003, №16. – 0,6 п.л.
- Екшембиев Р.С. Формирование новых продуктов кредитных организаций для производственно-торговых комплексов. Экономика и технология. Сборник научных трудов. – СПб, 2002, №14. – 0,6 п.л.
