Правила переводу балів Критерії оцінювання Перелік професій
| Вид материала | Методичні рекомендації |
- Завдання II етапу Всеукраїнської учнівської олімпіади з образотворчого мистецтва Критерії, 154.04kb.
- Надано стислі методичні рекомендації щодо консультування та підготовки абітурієнтів, 464.3kb.
- Критерії оцінювання якості виконання курсової роботи, 191.13kb.
- До підсумкового модульного контролю можуть бути допущени лише ті студенти, котрі відвідували, 27.41kb.
- Міністерство освіти І науки україни двнз «донецький національний технічний університет», 285.75kb.
- Програма фахового вступного випробування для вступу на навчання за освітньо-кваліфікаційними, 276.19kb.
- Критерії оцінювання навчальних досягнень учнів з інформатики, 51.53kb.
- Критерії оцінювання навчальних досягнень учнів з інформатики, 52.54kb.
- Оцінювання побудовано таким чином, шо певний рівень навчальних досягнень передбачає, 1014.71kb.
- Критерії оцінювання знань студентів з дисципліни, 83.2kb.
Несправності й ремонт електроплиток
Електрична плита є одним з головних помічників на кухні в готуванні їжі не перший десяток років. Рік у рік це чудо техніки вдосконалюється, з'являються нові моделі, що значно перевершують старі. Однак основний механізм і правила експлуатації в них загальні, а від так й загальні помилки, які допускають люди. Саме ці порушення найчастіше стають причинами поломки електроплит, а не строк придатності деталей. До одних з найпоширеніших несправностей в електричних плитах відносять: перегоряння електронагрівального елемента,сильне нагрівання й обгорання контактів, порушення ізоляції між електропровідними деталями, корпусом й іншими елементами конструкції приладу, які перебувають під напругою, обрив провідників і ушкодження ізоляції шнура живлення. Несправності виникають від надмірного нагрівання внаслідок значного опору й іскріння контактів. У цьому випадку необхідно зачистити контактні поверхні до блиску ножем або наждаковим папером і домогтися щільного притискання однієї контактної поверхні до іншої.
Обгорання контактів відбувається внаслідок іскріння. Обгорілі частини контакту, штифти, контактні втулки й інші елементи конструкції необхідно замінити. Для усунення несправності шнур необхідно відключити від мережі, його ушкоджену частину вирізати, а кінці з'єднати. Довжина вкороченого після ремонту шнура не повинна бути менше припустимої.
Коротке замикання між корпусом приладу й нагрівальним елементом або штифтом вивідного контакту, поганий контакт між вивідним штифтом і приєднаним до нього кінцем нагрівального елемента теж часто зустрічаються серед поломок електроплит. Це може відбутися, якщо занадто важкі предмети поставлені або кинуті на електроконфорки, оскільки відбувається деформація поверхні; нерівне дно посуду тільки підсилить пагубну дію на нагрівальні елементи.
Несправність сполучного шнура не рідко виникають у результаті недбалого обігу. Проводка найчастіше виходить із ладу в місці її з'єднання зі штепсельною вилкою, оскільки власники плит часто перегинають її на цій ділянці. Ще одна розповсюджена помилка полягає в тому, що при вимиканні штепсельної вилки з розетки люди беруться за шнур, а не за колодку вилки, у результаті чого порушується електричне з'єднання проведення з контактними штифтами вилки.
Не працює або працює на півсили конфорка - швидше за все, несправні перемикач або несправна конфорка. Не гасне індикатор залишкового тепла - швидше за все, вийшов з ладу термостат. У деяких випадках він міняється тільки разом з конфоркою. При включенні всіх конфорок відключається "автомат" - причина, як правило, у самому "автоматі".
Одне з головних правил по експлуатації електроплит полягає в тому, що необхідно користуватися кухонним посудом, що має пласке дно діаметром, рівним або трохи більшим діаметра електроконфорки.
Ремонт автоматичних пральних машин
Побутові автоматичні пральні машини типу СМА призначені для прання білизни за заданою програмою. Прання, замочування і полоскання здійснюються механічним перемішуванням білизни, поміщеної в перфорований барабан в пральному розчині. Віджимання білизни проводиться центрифугуванням в тому ж барабані.
Автоматичні пральні машини принципово відрізняються від тих, що випускалися раніше за конструкцією і складністю електросхем.
У них широко використовуються елементи автоматики, що ніколи раніше не застосовувалися в побутових пральних машинах. Процеси прання в цих машинах повністю автоматизовані: залив і злив води для всіх операцій, введення миючих засобів, замочування, прання з нагрівом води з білизною в баку пральної машини до заданої температури, полоскання та віджимання. Різноманітний набір програм дозволяє прати білизну різного ступеня забрудненості, міцності з тканин різної хімічної структури, якісно і не знижуючи ступеня зносу.
Для автоматичного управління процесами прання з урахуванням фізико-хімічних і механічних властивостей тканин в автоматичних пральних машинах встановлено цілий ряд приладів контролю і регулювання процесів прання, що здійснюють взаємодію органів машин у певній, заздалегідь заданій послідовності в часі: командоапарат, задаючий пристрій, датчик-реле рівня прального розчину в баку, датчик-реле температури прального розчину.
Безпосередньо процес прання здійснюється в барабані прального бака за допомогою виконуючих органів: електромагнітного клапана, електродвигуна приводу барабана, електронасоса, електронагрівача.
У автоматичних пральних машинах є ряд допоміжних елементів, що забезпечують роботу виконавчих приладів: загальний мережевий вимикач, мікровимикач блокування кришки, конденсатори, резистори, лампа сигнальна.
Усі автоматичні пральні машини відрізняються за конструкцією, за застосованими електричними схемами і використовуваними елементами автоматики.
Несправності автоматичної пральної машини та способи їх усунення зведені в таблиці.
| Несправність | Можлива причина | Спосіб усунення |
| При включенні не горить сигнальна лампа, машина не працює | Несправна сигнальна лампа. Обрив сполучного шнура або несправна штепсельна вилка. | Замінити сигнальну лампу. Усунути обрив або замінити шнур або штепсельну вилку. |
| Несправний фільтр радіоперешкод. | Замінити фільтр радіоперешкод. | |
| Несправний мікровимикач. | Замінити мікровимикач. | |
| Не замкнуті контакти командоапарата | Замінити командоапарат | |
| Не працює електродвигун приводу барабана | Обрив у сполучному колі. | Усунути обрив. |
| Вийшов з ладу електродвигун. | Замінити електродвигун. | |
| Несправний командоапарат. | Замінити командоапарат. | |
| Несправний датчик-реле температури | Замінити датчик-реле | |
| При включенні електродвигун гуде, але барабан не обертається | Барабан переобтяжений білизною | Відключити машину, видалити частину білизни, через 3 ... 5 хв. запустити машину знов |
| Електродвигун приводу барабана працює без реверсування | Несправний електродвигун. | Замінити електродвигун. |
| Пробій пускового конденсатора. | Замінити конденсатор. | |
| Несправний командоапарат | Замінити командоапарат | |
| Електродвигун приводу барабана працює, але барабан не обертається | Лопнув приводний пас. | Замінити приводний пас. |
| Ослабіло натягнення приводного пасу. | Відрегулювати натягнення приводного пасу. | |
| Ведений шків провертається на валу | Замінити ведений шків | |
| Вода в пральному баку не нагрівається | Перегорілий ТЕН. | Замінити ТЕН. |
| Несправний командоапарат. | Замінити командоапарат. | |
| Несправний датчик-реле температури | Замінити датчик-реле температури | |
| Несправність | Можлива причина | Спосіб усунення |
| Вода не подається | Обрив в сполучному колі реле рівня води. | Усунути обрив. |
| Несправний електромагнітний клапан. | Замінити електромагнітний клапан. | |
| Несправний командоапарат. | Замінити командоапарат. | |
| Несправне реле рівня води | Замінити реле | |
| Вода подається в бак вище за допустимий рівень | Засмітився отвір штуцера реле рівня води. | Прочистити отвір. |
| Несправне реле рівня води. | Замінити реле. | |
| Несправний командоапарат | Замінити командоапарат | |
| Вода не відкачується з прального бака | Засмітився фільтр насоса. | Прочистити фільтр. |
| Засмітився насос. | Прочистити насос. | |
| Зламалася крильчатка. | Замінити крильчатку. | |
| Вийшов з ладу електродвигун насоса. | Замінити електродвигун. | |
| Несправний командоапарат | Замінити командоапарат | |
| Сильний шум і вібрація при обертанні барабана | Ослабіли пружини підвіски бака. | Замінити пружини підвіски. |
| Ослабіло кріплення противаг. | Підтягти гайки кріплення противаг. | |
| Зламалася ресора | Замінити ресору | |
| Командоапарат зупиняється в одній з позицій | Несправний командоапарат | Замінити командоапарат |
| З-під машини витікає вода | Порушена герметичність гумових манжет бака. | Замінити манжети. |
| Вода протікає через ущільнення ТЕНа або прокладки. | Замінити ущільнення або прокладки. | |
| Пошкоджені шланги. | Замінити шланги. | |
| Протікає бак | Замінити бак |
Навчальний предмет
«Електричні машини та апарати»
Будова електричних машин постійного струму
За призначенням електричні машини постійного струму поділяють на генератори та двигуни.
Генератори виробляють електричну енергію, яка надходить в енергосистему. Двигуни утворюють обертаючий момент на валу, який використовується для приводу різноманітних механізмів і транспортних засобів.
У будь-якій машині постійного струму чітко виділяються рухома та нерухома частини. Рухома (яка обертається) частина машини називається ротором, нерухома – статором.
Частину машини, в якій індукується електрорушійна сила, прийнято називати якорем, а частину машини, в якій утворюється магнітне поле збудження – індуктором. Як правило, у машині постійного струму статор є індуктором, а ротор – якорем. Статор машини постійного струму також називають станиною. Станина виготовляється з магнітопровідного матеріалу (зазвичай лита сталь) та виконує дві функції, будучи, по-перше магнітопроводом, по якому проходить магнітний потік збудження машини, по-друге, основною конструктивною деталлю, в якій розміщені всі інші деталі. Зсередини до станини кріпляться полюси. Полюс машини складається з осердя, полюсного наконечника та котушки. При проходженні по котушкам постійного струму в полюсах індукується магнітний потік збудження. Обмотка якоря, який обертається, з’єднується за допомогою колектора та щіток з нерухомими клемами, через які машина вмикається в електричну мережу.
Осердя якоря та колектор кріпляться на одному валу. Сталевий вал якоря спирається на підшипники, які закріплені в бокових щитках машини. У свою чергу бокові щитки кріпляться болтами до статора.
Для зменшення вихрових струмів та пов’язаних з ними теплових втрат осердя якоря набирають з тонких листів електротехнічної сталі, ізольованих одне від одного лаковим покриттям. У пази осердя якоря укладають провідники обмотки якоря, з’єднані з колекторними пластинами.
Колектор набирають з мідних пластин, розділених міканітовими прокладками.
Електричне з’єднання обмотки якоря, яка обертається, з нерухомими клемами машини здійснюється за допомогою щіток, що ковзають по колектору.
Машина постійного струму має примусове охолодження, яке здійснюється вентилятором, насадженим на вал якоря.

Мал 5. Будова машини постійного струму:
1 - колектор; 2 - щітки; 3 - осердя якоря; 4 - осердя головного полюса;5 - полюсна котушка; 6 - статор; 7 - підшипниковий щит; 0 - вентилятор; 9 - обмотка якоря.
Принцип дії машини постійного струму
Електрична машина служить для перетворення підведеної до неї механічної енергії в електричну або навпаки, електричної енергії в механічну. Відповідно до цього, електрична машина в першому випадку працює генератором, у другому випадку - електродвигуном. Принцип дії генератора заснований на переміщенні провідника в постійному магнітному полі (мал.5 ).

мал. 6 мал. 7
У цьому випадку на кінцях провідника виникає ЕРС, величина якої визначається за формулою Е = В∙ ℓ ∙v , де:
В - індукція в повітряному просторі між полюсами,
ℓ - довжина провідника,
v - швидкість руху провідника, а напрямок ЕРС визначається за правилом правої руки.
Принцип дії електродвигуна заснований на взаємодії провідника зі струмом у магнітному полі (мал. 6). У результаті взаємодії виникає сила F, яка діє на провідник. Величина сили визначається за формулою F = В∙ ℓ ∙І, де:
В - індукція в повітряному просторі
ℓ - довжина провідника
І - сила струму в провіднику.
Напрям сили визначаємо за правилом лівої руки. Таким чином, перетворення в електричній машині механічної енергії в електричну або навпаки відбувається на основі двох основних законів:
закону електромагнітної індукції ;
закону електромагнітного впливу струму і магнітного поля.
Характеристики генераторів постійного струму
Генератори постійного струму працюють при незмінній швидкості обертання, тому всі характеристики будуються за умови n = const. Основними характеристиками генераторів є:
- Характеристика холостого ходу – залежність напруги на виході генератора U0 від струму збудження (мал.6)
U0 = f (IB) при I = 0, n = const.

Ця характеристика починається з Еоб, яка наведена потоком залишкової індукції
Зовнішня характеристика – залежність напруги на виході генератора U від струму навантаження (мал.. )
U = f (I) при I ≠ 0, n = const.

Електрорушійна сила обмотки якоря
Величина Е.Р.С (електрорушійна сила), індукованої у провіднику обмотки якоря визначається формулою:
Е = В∙ ℓ ∙

З урахуванням кількості провідників, числа пар полюсів, числа паралельних гілок обмотки якоря Е.Р.С обмотки якоря.

де: Р – кількість пар полюсів;
N – кількість провідників укладених у пази якоря ;
а – кількість пар паралельних гілок ;
Ф – магнітний потік одного полюсу (Вб) ;
n – частота обертання якоря (Об./хв.).
Величина
для даної машини є постійною остаточноюЕа=Се ∙ Ф ∙ n
Запуск двигуна постійного струму у хід із основного рівняння двигуна
струм якоря визначається формулою 
Якщо прийняти U та Ra незмінними, то струм Ia буде залежати від розміру противно - Е.Р.С Еа. Найбільшої величини струм Ia досягає при запуску двигуна у хід. У початковий момент пуску якір двигуна нерухомий (n=0) та у його обмотці не індукує Е.Р.С (Еа=0). Тому при безпосередньому підключенні двигуна до мережі у його обмотці якоря з’являється пусковий струм
.Звичайно опір якоря Ra не великий, тому величина пускового струму досягає недопустимо великих значень, у 10-15 разів перевищує номінальний струм двигуна. Задля обмеження величини пускового струму застосовуються пускові реостати, увімкнені послідовно у ланцюзі якоря.
Двигуни постійного струму паралельного збудження
У двигуна паралельного збудження коло обмотки збудження також як і коло обмотки якоря ввімкнення під постійною напругою мережі. Схема ввімкнення в мережу двигуна постійного струму паралельного збудження зображена на мал. Обмотка якоря вмикається в мережу через ступеневий пусковий реостат Ra, обмотка збудження через реостат Rш. Струмопровідна ручка пускового реостата з’єднана з затискачем Л та до запуску двигуна знаходиться на контакті О. При запуску вона послідовно переміщується в крайнє ліве положення. При цьому коло збудження безпосередньо під’єднане до мережі через дугоподібний контакт Ш, а коло якоря – через секції пускового реостата. У процесі кількість секцій, які вмикаються зменшується, а після закінчення пуску пусковий реостат повністю виводиться. Така конструкція пускового реостата виключає розрив кола якоря при перемиканні ручки з одного контакту на інший. Пусковий реостат не розрахований на тривале перебування під струмом якоря, тому при роботі його ручка повинна знаходитись у крайньому лівому положенні.

Мал.8 Схема включення в мережу двигуна постійного струму паралельного збудження затискачі пускового реостата: Л — лінія; Я — якір; Ш — шунт.
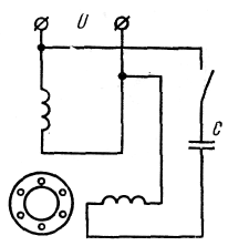
Однофазний асинхронний двигун
На статорі однофазного двигуна розміщується одна обмотка, яка живиться синусоїдальним струмом та утворює пульсуючий магнітний потік, який може бути розкладено на два потоки Ф1 та Ф2, які обертаються в протилежні сторони (мал. )

Мал.9 Розкладання пульсуючого магнітного потоку на два потоки ,що обертаються
При нерухомому роторі виникають два рівних за величиною та протилежно направлених обертаючих моменти Мпр та Мобр, внаслідок чого результуючий обертаючий момент дорівнює нулю. Таким чином власний пусковий момент однофазного двигуна дорівнює нулю.
Для утворення пускового моменту на статорі однофазного двигуна розміщують додаткову пускову обмотку, розраховану на короткочасну роботу. Ця обмотка ввімкнена через конденсатор, внаслідок чого струм в ній має зсув за фазою відносно до струму основної обмотки (мал.9 )

Мал.10 Схема пуску однофазного асинхронного двигуна
Утворюється двофазне магнітне поле , що обертається, яке розкручує ротор. Після закінчення пуску живлення пускової обмотки повинно бути вимкнено.
Призначення, будова однофазного трансформатора
Трансформатор призначений для перетворення змінного струму однієї напруги в змінний струм іншої напруги.
Трансформатори застосовують у лініях електропередачі, у техніці зв’язку, в автоматиці, вимірювальній техніці та інших областях.
Трансформатор є замкненим магнітопроводом (мал. 11) на якому розташовані дві обмотки. Одна з обмоток підключається до джерела змінного струму з напругою U1. Ця обмотка називається первинною. До другої обмотки підключається споживач Ζн, вона називається вторинною (мал. 11)
Для зменшення втрат на гістерезис магнітопровід виготовляється з магніто-м’якого матеріалу – трансформаторної сталі, а для зменшення на вихрові струми магнітопровід набирають з окремих листів трансформаторної сталі товщиною 0,35 ÷ 0,5 мм, ізольованих одне від одного теплостійким лаком.

Мал.11 Однофазний трансформатор з двома обмотками
Принцип дії однофазного трансформатора
Робота трансформатора ґрунтується на явищі взаємоіндукції, яке є наслідком закону електромагнітної індукції.
При підключенні первинної обмотки трансформатора до мережі змінного струму напруга U1 по обмотці почне протікати струм I1,який створить у серцевині змінний магнітний потік Ф. Магнітний потік пронизує витки вторинної обмотки, індукування у ній Е.Р.С Е2, яку можна використовувати для живлення навантаження. Оскільки первинна та вторинна обмотки трансформатора пронизуються одним і тим же магнітним потоком Ф, вираз індукованих у обмотці Е.Р.С можна записати у вигляді:


де:
f – частота змінного струму
W1 W2 – кількість витків обмотки
Фт – амплітудне значення змінного магнітного потоку Ф.
Розділивши одне рівняння на друге, отримаємо:

Відношення чисел витків обмоток трансформатора називають коефіцієнтом трансформації.
