История развития техники носит междисциплинарный характер
| Вид материала | Документы |
СодержаниеПервый этап |
- Аннотации, 608.83kb.
- Программа курса «Научное творчество и организация нирс», 107.72kb.
- Круглый стол "Философско-методологические проблемы когнитивных и компьютерных наук", 17.43kb.
- I. Понятие «гендер». История возникновения, специфика, междисциплинарный характер, 370.66kb.
- Проблема адаптации является одной из тех общезначимых областей научных знаний,, 329.31kb.
- Темы рефератов История развития интегральных микросхем. Факторы прогресса технологии, 23.95kb.
- Программа дисциплины теория и методика обучения географии опд. Ф. 04. 2 Цели и задачи, 420.27kb.
- Примеры тем учебно-исследовательских работ старшеклассников, носящих междисциплинарный, 128.56kb.
- Московский общественный научный фонд образы власти в политической культуре России, 3175.1kb.
- План краткий исторический обзор методических систем в философии науки и техники Реальность, 190.01kb.
Французский физик А. С. Беккерель в 1826 г. начал исследования процессов в гальванических элементах и открыл явление гальванической поляризации, которую он объяснял как следствие скопления пузырьков водорода у медного электрода. Поляризация электродов оказывает сильное влияние на постоянство действия элемента. Для устранения поляризации были испробованы различные средства, как то: механическое удаление газа с медного электрода по мере его образования, придание электроду шероховатой поверхности, чтобы пузырькам водорода труднее было приставать и легче отделяться, и т. п. Однако действительно практическое решение было достигнуто поглощением водорода в результате химической реакции, для чего в элементе должна участвовать вторая жидкость, служащая деполяризатором. В 1829 г. Беккерель дал принципиальную конструкцию гальванического элемента с двумя жидкостями: сосуд разделялся пористой перегородкой (например, из слабообожженной глины) на две части, каждая из которых вмещала одну из жидкостей и один электрод. В первых образцах нового гальванического элемента Беккерель применил платиновые электроды и жидкости: азотную кислоту и раствор поташа. Затем он построил более дешевый и более постоянный элемент, в котором в одну половину сосуда был налит раствор поваренной соли и погружен цинковый электрод, а в другую половину сосуда, по ту сторону пористой перегородки, – раствор медного купороса, в который погружался медный электрод. С этого времени (1829 г.) гальванические элементы с одной жидкостью выходят из употребления, и в короткий промежуток времени появляется ряд усовершенствованных конструкций гальванических элементов с двумя жидкостями. Для придания цинковому электроду большей устойчивости и для устранения вредного действия могущих содержаться в цинке примесей было введено амальгамирование поверхности цинкового электрода.
Наибольшее распространение на практике получил элемент Бунзена, при помощи которого был осуществлен ряд опытных электротехнических установок. Но и этому элементу были свойственны существенные недостатки: батареи бунзеновских элементов были громоздки, относительно дороги и сложны в эксплуатации. Элемент Даниэля отличался большим постоянством электродвижущей силы и по этой причине долгое время применялся в качестве эталона э. д. с. (единица Даниэля).
Другим направлением в области создания электрохимических источников тока было построение электрических аккумуляторов, или «вторичных элементов», как они долгое время назывались.
Принципиальная возможность аккумулирования электрической энергии была доказана опытами Риттера еще в 1801 – 1803 гг. Но в течение полустолетия никаких практических применений этому открытию не было сделано. Только в 1854 г. немецкий врач Зинстеден открыл способ аккумулирования электрической энергии, наблюдая явление поляризации, отличное от обычной гальванической поляризации. Это явление заключалось в следующем: при пропускании тока через свинцовые электроды, погруженные в разведенную серную кислоту, положительный электрод стал покрываться двуокисью свинца РbO2. При замыкании такого элемента накоротко получался сильный ток в течение более продолжительного времени, чем обычный ток поляризации; такое явление в цепи наблюдалось до тех пор, пока вся двуокись свинца не израсходовалась.
В 1859 г. француз Гастон Планте, по-видимому, независимо от Зинстедена, наблюдал то же явление и на его основе построил свинцовый аккумулятор. Очень скоро было установлено, что чем более пористыми будут свинец на одном электроде и двуокись свинца на другом, тем больший запас электрической энергии будет содержать аккумулятор. Эта пористость достигалась с течением времени продолжительным повторением зарядки и разряда аккумулятора; такая операция была продолжительной, и только примерно после 500 часов работы аккумулятора происходило достаточное формирование его пластин. Искусственное формирование аккумуляторных пластин было введено в практику в 80-х годах, и это способствовало значительному улучшению действия аккумуляторов.
2.7. Основные этапы развития электромашинных генераторов постоянного тока
Несмотря на то, что электрохимические источники получили до 70-х годов XIX века значительное развитие и распространение, проблема экономичного источника электрической энергии могла быть решена только созданием совершенной конструкции электромашинного генератора. В развитии электрического генератора, так же как и в развитии электродвигателя, можно наметить три основных этапа, хотя это разделение является в достаточной степени условным.
Первый этап (1831 – 1851 гг.) характеризуется созданием электрических генераторов с возбуждением от постоянных магнитов; такие генераторы получили в то время название магнитоэлектрических.
Открытие Фарадеем в 1831 г. явления электромагнитной индукции указало новый способ получения электрического тока, который нашел свое практическое воплощение в первом униполярном генераторе – диске Фарадея. Одно из наиболее ранних и весьма интересное конструктивное решение генератора с возбуждением от постоянных магнитов было дано в середине 1832 г. анонимным изобретателем, скрывшим свое имя под латинскими буквами Р. М. Этот генератор (рис. 2.18) состоял из деревянного диска 1, сквозь отверстия которого были пропущены полюсами вниз четыре подковообразных постоянных магнита 4; диск укреплялся на вертикальном валике 2 и мог вместе с магнитами приводиться во вращательное движение с помощью рукоятки 3. На подставке 8 были неподвижно установлены восемь катушек 7 с железными сердечниками; обмотки этих катушек соединялись последовательно. При вращении магнитов в обмотке катушек наводилась переменная э. д. с. Никаких коммутирующих устройств в этой машине не было, следовательно, это устройство являлось первым однофазным синхронным многополюсным генератором. В первом варианте генератора Р. М. железные сердечники 5 катушек не имели замыкающего магнитопровода. На рис. 2.18 представлен второй вариант генератора Р. М., в который изобретатель внес существенное улучшение: он ввел добавочное стальное кольцо 6, замкнувшее магнитную цепь сердечников, и поместил на кольце в промежутке между катушками добавочные обмотки, соединенные последовательно с обмотками катушек.
С помощью этого генератора удалось разложить воду (поскольку ток был переменным, то при электролизе воды получался гремучий газ). Переменный ток в то время не мог еще найти себе потребителя, так как для всех практических применений электричества (минная электротехника, только что зародившаяся электромагнитная телеграфия, первые электродвигатели) требовался постоянный ток, получавшийся от гальванических элементов. Поэтому последующие изобретатели направили свои усилия на построение генераторов, дающих электрический ток постоянного направления; вот почему в этот период коммутационные устройства получили значительное развитие.

Рис. 2.18. Генератор Р. М.
Впервые приспособление для выпрямления тока в попеременно-полюсной машине (в отличие от униполярной машины Фарадея, которая не нуждалась в устройстве для выпрямления тока, так как давала непосредственно постоянный ток) было применено в сентябре 1832 г. в генераторе братьев Пиксии (рис. 2.19).

Рис. 2.19. Генератор с барабанным коммутатором братьев Пиксии
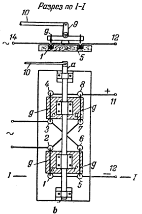
При вращении подковообразного постоянного магнита наводилась переменная э. д. с. в двух неподвижных катушках с железными сердечниками и замыкающей их железной пластиной. Магнит приводился во вращение посредством рукоятки и конической передачи; концы последовательно соединенных катушек выводились к зажимам барабанного коммутатора. В некоторых генераторах в качестве устройства для получения тока неизменного направления (но резко пульсирующего по величине) применялось так называемое коромысло Ампера (рис. 2.20).

Рис. 2.20. Коромысло Ампера: на качающемся валу ab, связанном кинематически через рычаги 9 и 10 с валом генератора, укреплены деревянные пластинки cd и ef с металлическими дужками g. При качании вала концы дужек поочередно опускаются в чашечки с ртутью 1-8, которые электрически соединены между собой, как показано на рисунке. Если к чашечкам 2 и 3 подводится переменный ток, то на зажимах 11 и 12 получается выпрямленный ток
Существенным недостатком машин Р. М. и Пиксии являлось то, что в них приходилось вращать более или менее тяжелые постоянные магниты. Представлялось более целесообразным сделать магниты неподвижными, а заставить вращаться более легкие катушки: при этом постоянные магниты менее подвергались вибрации, а следовательно, ослаблялось их размагничивание. Магнитоэлектрические генераторы такого типа оказались значительно более удобными и именно в такой конструктивной форме они впервые вошли в практику.
Одним из наиболее ранних генераторов этого типа была машина, построенная лондонским механиком Кларком (1835 г.). Машина (рис. 2.21) состояла из постоянного подковообразного магнита 1, который составлялся из отдельных пластин. На валу укреплялась траверза с двумя катушками 2, имевшими стальные сердечники. Эти катушки при вращении вала перемещались по окружности около полюсов магнита. Для получения тока, неизменного по направлению, на валу генератора укреплялись две пластины (полуцилиндры) 3, изолированные как от вала, так и между собой. К этим пластинам прижимались контактные пружины 4, с помощью которых ток отводился во внешнюю цепь (в машине было предусмотрено также контактное устройство для получения переменного тока). Коммутатор рассматриваемой машины, изменявший дважды за каждый оборот вала направление тока, представлял собой простейший двухпластинчатый коллектор.

Рис. 2.21. Генератор Кларка
Более совершенным с точки зрения увеличения потокосцепления, но в принципе мало отличавшийся от машины Кларка был магнитоэлектрический генератор Б. С Якоби. Занимаясь усовершенствованием методов электрического взрывания мин, Б. С. Якоби построил в 1842 г. генератор, названный им «магнитоэлектрической батареей». Этот генератор был принят на вооружение гальванических команд русской армии, использовавших его для воспламенения минных запалов. Генератор Якоби (рис. 2.22) имел два расположенных горизонтально постоянных подковообразных магнита 1, разноименные полюсы которых располагались один против другого.

Рис. 2.22. Генератор Б. С. Якоби.
Между полюсами магнитов вращались на валу 2 две катушки 3, снабженные стальными сердечниками; обмотки катушек соединялись последовательно. Вал 2, установленный в подшипниках, приводился во вращение от руки через зубчатую передачу 5. Наведенный в катушках переменный ток выпрямлялся с помощью двухпластинчатого коммутатора 4. В нерабочем состоянии катушки удерживались стопором 6.
Стремление увеличить мощность магнитоэлектрических генераторов привело со временем к увеличению числа постоянных магнитов. Этот путь представлял собой не что иное, как такое же, как и в развитии электродвигателей, увеличение числа элементарных машин с целью увеличения мощности. Наибольшее распространение в лабораторной практике 40-х и 50-х годов XIX века получил магнитоэлектрический генератор немецкого электротехника Штерера (1843 г.). При помощи генератора Штерера многими учеными, в том числе акад. Э. X. Ленцем и акад. Б. С. Якоби, было проведено исследование процессов в магнитоэлектрической машине.
Магнитоэлектрический генератор Штерера (рис. 2.23) состоял из трех неподвижных подковообразных постоянных магнитов 1, так установленных вертикально в станине, что находящиеся вверху их полюса чередовались (N – S – N – S – N – S). Над магнитами располагалось шесть катушек 2 с вертикальными стержневыми сердечниками, которые были укреплены на стальном кольце, замыкающем магнитную цепь. Это кольцо укреплялось на вертикальном валу. При вращении катушек в их обмотке наводилась переменная э. д. с; для выпрямления тока был устроен коммутатор 3 (верхняя часть машины). Генератор Штерера приводился от руки. Увеличение числа магнитов до трех несколько увеличило мощность машины, но не сделало ее пригодной для широких практических применений.
Появление в течение ряда лет довольно большого числа магнитоэлектрических генераторов свидетельствует о насущной необходимости дать для практических целей генератор нового типа, который мог бы быть широко использован вместо дорогостоящих и весьма неудобных для эксплуатации гальванических батарей.
Общим недостатком всех построенных магнитоэлектрических генераторов являлось то, что мощность их была весьма незначительной и не могла быть достаточной для развития практического использования электричества.
Так, например, дуговые лампы с регуляторами, конструктивно разработанные в конце 40-х годов XIX века, не могли получить практического распространения не столько из-за несовершенного их действия, сколько по причине трудности обеспечить их питание энергией. Можно отметить, что в осветительных устройствах 50-х годов (установка Аршро в С.-Петербурге, 1849 – 1850 гг.; проф. А. С. Савельева в Казани, 1851 г.; А. И. Шпаковского в Москве, 1856 г.; проф. В. И. Лапшина в Харькове, I860 г. и др.) генерирующее устройство состояло из 600 – 1000 гальванических элементов. Дуговые лампы с регуляторами дали известный толчок построению более мощных магнитоэлектрических генераторов; в этом же были заинтересованы и некоторые электрохимические производства.

Рис. 2.23. Генератор Штерера
К построению крупных магнитоэлектрических генераторов с приводом якоря от парового двигателя подошли следующим образом. Развитие торгового флота в начале XIX в. после промышленного переворота и начало все расширявшегося применения парового двигателя на морских судах потребовало улучшения морской сигнализации. Необходимо было обеспечить более совершенными маяками побережья, а также наиболее важные с точки зрения безопасности навигации места на морских путях. Появление нового источника света, так называемого известкового или друммондова, создавало возможность увеличить дальность действия маяков; но для питания горелок друммондова света нужны были кислород и водород или их смесь (гремучий газ). Только при обеспечении горелок друммондова света кислородом и водородом можно было использовать все преимущества этого интенсивного источника света. Еще в 1849 г. профессор физики Брюссельской военной школы Нолле принялся за построение большой магнитоэлектрической машины, которая могла бы обеспечить в значительных масштабах электролиз воды для получения кислорода и водорода. Он исходил из конструкции обычных в то время магнитоэлектрических генераторов, но отказался от увеличения размеров магнита или скорости вращения катушек, а пошел по проторенному пути комбинирования в один агрегат большего числа отдельных машин. Здесь еще раз нашла свое отражение отмеченная выше тенденция удовлетворять потребности практики путем увеличения числа уже известных устройств. Работа Нолле была продолжена после его смерти ван Мальдереном (Франция) и Холмсом (Англия).
К 1856 г. конструкция машины была разработана, а в Париже была организована электропромышленная компания «Альянс» для производства таких машин; по названию фирмы получила свое наименование и новая машина.
