Российская федерация федеральная служба по интеллектуальной собственности, патентам и товарным знакам
| Вид материала | Документы |
СодержаниеБесконтактный датчик скорости автомобиля |
- Российская федерация федеральная служба по интеллектуальной собственности, патентам, 56.11kb.
- Российская федерация федеральная служба по интеллектуальной собственности, патентам, 18.96kb.
- Российская федерация федеральная служба по интеллектуальной собственности, патентам, 520.15kb.
- Российская федерация федеральная служба по интеллектуальной собственности, патентам, 92.21kb.
- Российская федерация федеральная служба по интеллектуальной собственности, патентам, 31.66kb.
- Российская федерация федеральная служба по интеллектуальной собственности, патентам, 35.17kb.
- Российская федерация федеральная служба по интеллектуальной собственности, патентам, 73.08kb.
- Российская федерация федеральная служба по интеллектуальной собственности, патентам, 72.99kb.
- Российская федерация федеральная служба по интеллектуальной собственности, патентам, 59.93kb.
- Российская федерация федеральная служба по интеллектуальной собственности, патентам, 38.13kb.
| РОССИЙСКАЯ ФЕДЕРАЦИЯ ![]() ФЕДЕРАЛЬНАЯ СЛУЖБА ПО ИНТЕЛЛЕКТУАЛЬНОЙ СОБСТВЕННОСТИ, ПАТЕНТАМ И ТОВАРНЫМ ЗНАКАМ | (19) | RU | (11) | 2260188 | (13) | C1 | | |
| (51) МПК 7 G01P3/488 | ||||||||
| (12) ОПИСАНИЕ ИЗОБРЕТЕНИЯ К ПАТЕНТУ
| ||||||||
| (21), (22) Заявка: 2004102133/28, 26.01.2004 (24) Дата начала отсчета срока действия патента: 26.01.2004 (46) Опубликовано: 10.09.2005 (56) Список документов, цитированных в отчете о поиске: RU 35441 U1, 10.01.2004. US 6522131 B1, 18.02.2003. US 5210493 А, 11.05.1993. RU 2115932 C1, 20.07.1998. RU 2212087 С2, 10.09.2003. Адрес для переписки: 305040, г.Курск, ул. 50 лет Октября, 94, КГТУ, ОИС | (72) Автор(ы): Захаров И.С. (RU), Яцун С.Ф. (RU), Сысоева С.С. (RU) (73) Патентообладатель(и): Государственное образовательное учреждение Курский государственный технический университет ГОУ КурскГТУ (RU) |
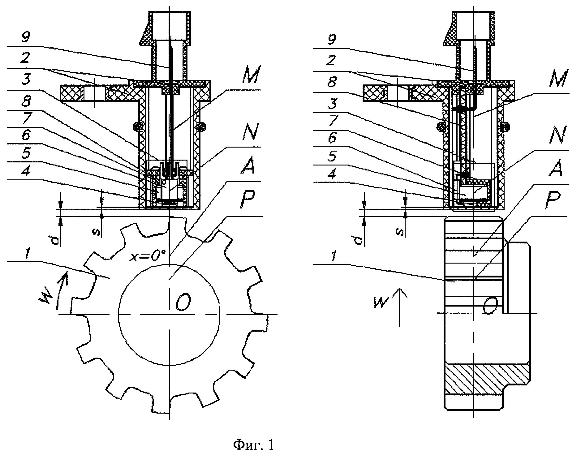
(54) БЕСКОНТАКТНЫЙ ДАТЧИК СКОРОСТИ АВТОМОБИЛЯ
(57) Реферат:
Изобретение относится к автомобильному электронному приборостроению. Бесконтактный датчик скорости автомобиля (ДСА) измеряет угловую скорость (частоту вращения) ферромагнитного зубчатого ротора. В качестве чувствительного элемента используется интегральный магниторезистивный модуль типа KMI16/1 Philips, симметричный монтаж которого относительно заданной диаметральной оси ротора в корпусе ДСА обеспечивается конструктивно. Для совместимости с внешними схемами обработки сигнала в ДСА используется схема деления частоты импульсного сигнала. Увеличение рабочего воздушного зазора, расширение рабочего частотного диапазона, с возможностью измерения скоростей, практически близких к нулевой, высокотемпературная стабильность и помехоустойчивость выходного сигнала ДСА обеспечиваются за счет базовых свойств магниторезистивного эффекта, имеющего высокую чувствительность (порядка 20 мВ/кА/м, что более чем в 10 раз выше по сравнению с эффектом Холла). Оптимальные функциональные характеристики ДСА достигаются при совместном применении предложенных конструктивных и схемотехнических средств. 1 з.п. ф-лы. 7 ил., 1 табл.

