Взаимосвязь электрических и магнитных свойств в сильно коррелированных электронных системах оксидов и халькогенидов переходных металлов 01. 04. 07 физика конденсированного состояния
| Вид материала | Автореферат диссертации |
СодержаниеТретья и четвертая главы Четвертая глава Т = 4.2 К в магнитополевой зависимости электросопротивления наблюдается слабопериодичный осциллирующий вклад R |
- Синтез, оптические спектры и стереоатомный анализ структуры сложных халькогенидов,, 855.77kb.
- Трансформация структуры и электрофизических свойств оксидов переходных металлов при, 367.4kb.
- Учебно-методический комплекс по дисциплине Физика Конденсированного Состояния Для специальности, 322.8kb.
- Паспорт специальности 01. 04. 07 – физика конденсированного состояния, 1004.81kb.
- Эффект Холла и магнетосопротивление неупорядоченных магнитных систем на основе кремния, 334.2kb.
- Ён Викторович Методы визуализации кинетики зарождения и роста углеродных наноструктур, 219.01kb.
- Рабочая программа учебной дисциплины «Физика конденсированного состояния, термодинамика,, 223.9kb.
- Аннотация дисциплины «Магнетизм конденсированного состояния», 11.15kb.
- Министерство образования Российской Федерации международный университет природы, общества, 1374.95kb.
- Аннотация дисциплины, 39.03kb.
Монокристаллические образцы HgCr2Se4 были изготовлены в ИПФ АН МССР (г. Кишинев) и в ИОНХ АН СССР (г. Москва) методом химического транспорта в замкнутой системе. Максимальный размер кристаллов, получаемых этим методом, не превышает 5 мм. Для получения ртутной шпинели с n-типом проводимости образцы подвергались отжигу в парах ртути, что привело к вырождению электронного газа в интервале температур 1.8 – 100 К с холловской концентрацией порядка 1018 см-3.
Образцы твердых растворов CuxZn1-xCr2Se4, (VS)x(Fe2O3)2-x и FexV1-xS представляли собой порошкообразные поликристаллы, полученные по технологии твердофазного синтеза со ступенчатым отжигом и закалкой.
Монокристаллы FeBO3, VBO3, CrBO3 и твердые растворы Fe1-xVxBO3 были выращены методом спонтанной кристаллизации из раствора-расплава. Удалось получить монокристаллы в виде тонких пластин гексагональной формы размерами до 4х4 мм и толщиной около 0.1 мм с гладкой блестящей поверхностью. Для определения количества входящих элементов для всех образцов в Университете г. Кельн (Германия) был выполнен энерго-дисперсионный рентгеновский анализ. Анализ показал, что соединения смешанного состава VxFe1-xBO3 имеют кристаллическую структуру кальцита, как и крайние члены ряда, и не испытывают структурного перехода при понижении температуры до 77 К.
Монокристаллы La2CuO4 были синтезированы в Институте кристаллографии АН СССР кристаллизацией из нестехиометрических растворов-расплавов с избытком CuO.
Поликристаллические кобальтоксидные соединения GdCoO3 и SmCoO3 были синтезированы в университете Гвадалахара (Мексика) золь-гель методом.
Измерения электросопротивления были выполнены четырехконтактным методом на основе компенсационных схем.
И
змерения динамической магнитной восприимчивости выполнялись с использованием моста взаимной индукции и фазочувствительного детектирования. Чувствительность моста 10-5 см3/г. Относительная погрешность измерений 0,1%.Статические магнитные измерения выполнены на автоматизированном магнито-метре со сверхпроводящим соленоидом. Погрешность статических магнитных измерений равна 210-5 Гссм3/г.
Криогенный эксперимент строился с использованием разработанных автором приставок к транспортным дьюарам с криоагентом, в том числе проточного типа (рис. 2). Погрешность стабилизации и измерения температуры составляет порядка 0.1 К, для проточных схем порядка 1 К.
П
Рис. 2. Криогенная измерительная ячейка
проточного типа.
1-кварцевая трубка
2, 11-нагреватели
3-стальная трубка
4-отверстия
5-образец
6-датчик температуры
7-штуцер
8-первичная катушка
9-вторичные катушки
10-тепловые экраны
12-дьюар
13-кожухи
14-электромагнит
огрешности, возникающие при измерениии электрического сопротивления сильно зависят от диапазона абсолютных значений измеряемых величин, поскольку приходится использовать различный приборный парк и применять различные схемные решения. Как правило, относительная погрешность измерения сопротивления в диапазоне 10-6 ÷ 106 Ом не превышает 0.1 %. Для очень больших сопротивлений погрешность измерения может достигать 5 % при сопротивлении большем 1010 Ом.
Третья и четвертая главы посвящены изучению проблемы формирования взаимосвязи магнитных и электрических свойств вследствие особенностей энерге-тической структуры, формируемых под действием сильных электронных корреляций. Проведено сравнительное изучение соединений переходных металлов со слабой и сильной взаимосвязью электронной и магнитной подсистем. В качестве примера первых соединений выступают бораты переходных металлов МВО3 (М = Fe, V, Cr), как пример вторых – магнитные полупроводники халькогенидные шпинели хрома n-HgCr2Se4 и купрат лантана La2CuO4.
Кратко остановимся на результатах, касающихся боратов 3d-металлов и описанных в третьей главе. Для монокристаллов Fe1-xVxBO3 были проведены комплексные исследования магнитных, электрических и оптических свойств. Температурные зависимости намагниченности твердых растворов Fe1-xVxBO3 приведены на рис. 3 вместе с кривыми, соответствующими крайним членам ряда.
Известно, что FeBO3 – слабый ферромагнетик. Температурная зависимость намагниченности VBO3 типична для ферромагнетиков и в спин-волновой области хорошо описывается законом Блоха:
M(T) = M(0)(1-T3/2). (1)
При замещении всего 5% ионов V на Fe магнитный момент уменьшается на 20%. Кривые намагничивания образцов с промежуточной концентрацией (х = 0.18, 0.3) имеют нетривиальный вид (рис. 3 (б)). В области температур, близких к температуре Кюри VBO3, намагниченность быстро падает, и ее значение составляет 9% от величины, характерной для незамещенного соединения. В районе Т = 150 К наблюдается широкий максимум, затем намагниченность уменьшается до нуля вблизи температуры Нееля FeBO3. Вероятно, что при малых концентрациях ионов железа механизм конкуренции обменных взаимодействий приводит к возникновению неколлинеарных спиновых структур, в которых угол скоса подрешеток может меняться в зависимости от концентрации и температуры. При больших концентрациях железа в системе превалирует магнитная структура, характерная для FeBO3.
М
Рис. 3. Температурные зави-симости намагниченности в поле Н=10 кЭ; a) FeBO3 (1), Fe0.87V0.13BO3 (2); б) Fe0.82V0.18BO3 (1), Fe0.7V0.3BO3 (2); в) VBO3 (1), Fe0.05V0.95BO3 (2).
онокристалл VBO3 и твердые растворы Fe1-xVxBO3 с концентрациями х = 0.18, 0.3, 0.95 обладают низкой проводимостью при комнатной температуре ( 106÷107 Омсм), в то время как образцы, более близкие по составу к FeBO3, можно отнести к диэлектрикам. Измерения показали, что в области высоких температур (Т > 300 К) прохождение тока определяется носителями заряда, термически возбужденными в зону проводимости. В этом случае сопротивление описывается простым активационным законом с энергией активации порядка 1 эВ (рис. 4 (а)). При понижении температуры наблюдаются отклонения от активационного закона и переход к температурной зависимости, характерной для закона Мотта (рис. 4 (б)): R(T) exp(T0/T)1/4, (2) г

де Т0 – характеристическая температура, определяющая плотность
Рис. 4. Температурные зависимости сопротивления Fe0.82V0.18BO3.
состояний на уровне Ферми N(EF).
Температурные зависимости сопротивления не проявляют каких-либо аномалий в точках, соответствующих аномалиям намагниченности. В исследуемом температурном интервале также не удалось обнаружить заметного магнитосопротивления. Таким образом, в боратах электрические и магнитные свойства взаимосвязаны слабо.
С
пектры оптической плотности D = ln(I0/I), полученные при температурах 90 и 300 К приведены на рис. 5. Для кристалла VBO3 виден слабый, не зависящий от температуры пик 9800 см-1. Этот пик сохраняется при низких температурах в спектрах образцов с промежуточной концентрацией х = 0.3 и х = 0.18 , но также появляется новый пик 10100 см-1 с ярко выраженной температурной зависимостью (рис. 5(б) и (в)). При повышении температуры эта линия уширяется и сдвигается в область меньших энергий. Для кристалла с х = 0.23 этот пик остается, а линия, характерная для VBO3, исчезает (рис. 5(г)). Спектр кристалла с малым замещением железа качественно повторяет спектр FeBO3, состоящий из широкой полосы с центром на 11500 см-1 и наблюдающейся на ее фоне серии узких линий. Для бората железа эти линии интерпретируются как фононные повторения экситон-магнонной полосы (низкочастотный переход 6А1g 4T1g).Рис. 5. Кривые оптического поглощения: а) VBO3; б) Fe0.7V0.3BO3; в) Fe0.82V0.18BO3; г) Fe0.87V0.13BO3; д) Fe0.98V0.02BO3; e) FeBO3.
Для расчета плотности состояний N(E) с учетом сильных электронных корреляций в VBO3 в рамках многоэлектронной модели рассмотрим заполненный терм V3+ (3d2) и термы конфигураций 3d1 и 3d3, описывающие уничтожение и рождение электрона из d2. Для простоты пренебрегаем орбитальной зависимостью кулоновских матричных элементов, считая что параметры U, V и J связаны между собой известным следствием сферической симметрии атома U = 2V+J (U и V’ соответствуют кулоновскому внутриорбитальному и межорбитальному отталкиванию, а J’ – хундовскому обмену). Поскольку расстояния металл–кислород в октаэдрах VBO3 и FeBO3 близки, можно предположить, что кулоновские параметры для VBO3 имеют те же значения, что и в FeBO3: U = 3 эВ, V = 1.15 эВ, J = 0.7 эВ. Гамильтониан модели имеет вид:
(3)где n =

обозначает оператор рождения d-электрона на одной из 5-ти орбиталей c проекцией спина . Первое слагаемое описывает атомные d-уровни в кристаллическом поле. Параметр кристаллического поля можно определить из спектра оптического поглощения VBO3, полагая, что пик на энергии 0 = 9800 см-1 обусловлен d-d переходами с основного терма 3Т1 иона V3+ в первый возбужденный терм 3Т2 с энергией =1.21 эВ. Уровни с и v – аналоги верхней и нижней хаббардовских зон при нулевом межатомном параметре перескока t и равны
(4) Переход d2d1 определяет рождение дырки, преход d2d3 рождение электрона. Кроме уровней v и с со спектральным весом равным единице, в многоэлектронном подходе появляются виртуальные уровни с нулевым в стехиометрическом основном состоянии спектральным весом (на рис. 1 и 6 отмечены пунктиром). Такие состояния приобретают спектральный вес при отклонении от стехиометрии или при оптической накачке возбужденных уровней. Для привязки уровней v и с к краям зон использовались данные по электропроводности и оптическому поглощению. Для VBO3 эффективная энергия Хаббарда Ueff = с - v = 0.45 эВ. Исходя из соотношения между эффективной хаббардовской энергией и энергией энергией переноса заряда согласно классификации Заанена-Завадского-Аллена VBO3 можно отнести к диэлектрикам Мотта-Хаббарда, в противоположность FeBO3, относящемуся к диэлектрикам с переносом заряда.
П
Рис. 6. Схема плотности состояний твердых растворов Fe1-xVxBO3. Левая часть входит с весом х, правая – с весом 1-х.

ри простейшем моделировании зонной структуры твердых растворов Fe1-xVxBO3 сделаем следующие допущения: 1) положение дна зоны проводимости и потолка валентной зоны, а также величина щели постоянны при всех х; 2) в образце имеет место случайное расположение ионов V3+ с концентрацией х и ионов Fe3+ с концентрацией 1-х. В этой модели плотность состояний и оптическая плотность будут иметь вид:
N(E)=xNV(E)+(1-x)NFe(E),
D()=xDV()+(1-x)DFe() (5)
Плотность состояний твердых растворов изображена на рис. 6. Анализ спектров оптического поглощения, проведенный на основе предложенной модели, показыает, что для х = 0.02 вклад от ионов ванадия в оптическое поглощение пренебрежимо мал, и спектр на рис. 5(д) практически совпадает со спектром FeBO3. Для х = 0.3 и 0.18 в экспериментальных спектрах можно выделить те же линии А1-А4, что и в FeBO3, но сильно уширенные. В неупорядоченном магнитном состоянии FeBO3 линия 9950 см-1 очень близка к линии поглощения VBO3 9800 см-1, поэтому для твердых растворов имеет место наложение двух близких по энергии линий, и в спектре поглощения виден широкий пик. С понижением температуры до 90 К в спектре поглощения возникает расщепление линий благодаря влиянию магнитного упорядочения в FeBO3. Таким образом, многоэлектронная модель энергетической структуры боратов с учетом сильных электронных корреляций позволяет качественно воспроизвести спектры поглощения твердых растворов Fe1-xVxBO3, а также описать электрические свойства этих материалов.
По результатам исследования взаимосвязи магнитных и электрических свойств боратов можно сделать следующее заключение: в данных соединениях эта взаимосвязь выражена слабо, несмотря на большую величину s-d обменного взаимодействия. Возможной причиной являются особенности электронной структуры, такие как большая ширина диэлектрической щели и отсутствие энергетической близости локализованных и коллективизированных электронных состояний.


Рис. 7. Кривые намагничивания VBO3 (слева) и CrBO3 (справа). Для VBO3 1– намагничивание вдоль оси с [111], 2 – намагничивание в базисной плоскости.
Поскольку оксибораты VBO3, CrBO3 являются малоизученными, были проведены сопутствующие исследования их магнитной структуры. Кристалл VBO3 – типичный ферромагнетик с температурой Кюри 30-32 К, тогда как соединение CrBO3 антиферромагнитно, температура Нееля составляет 15 К. Поведение намагниченности монокристалла VBO3 характерно для ферромагнетика типа “легкая плоскость” (рис. 7). Анизотропия в плоскости очень мала. Температурная зависимость первой константы одноосной анизотропии К1 хорошо описывается в рамках классической теории магнитной анизотропии, в которой К1(Т) пропорциональна третьей степени намагниченности К1(Т) = К1(0)(М(Т)/Ms)3, (6)
где Ms – намагниченность насыщения. Поле одноосной анизотропии равно На = 62.5 кЭ. Эта величина является наибольшей в ряду изоструктурных соединений. Возможной причиной большой одноосной анизотропии VBO3 является сильное спин-орбитальное взаимодействие, поскольку основным состоянием иона V3+ является F-состояние.
Монокристаллы CrBO3 были выращены в форме правильных гексагональных пластинок. В отличие от изоструктурных FeBO3 и VBО3, кривые намагничивания CrBO3 при намагничивании в базисной плоскости сопровождаются гистерезисом и шумами (рис. 7), что указывает на значительную гексагональную анизотропию в этом соединении. Следовательно, магнитная структура кристалла CrBO3 не может быть описана на основе простой модели коллинеарного двухподрешеточного антиферромагнетика с магнитными моментами, лежащими вдоль оси с. Более вероятно, что вектор антиферромагнетизма лежит в плоскости, близкой к базисной. Величина эффективного обменного поля в CrBO3 Hex = 382 кЭ.
Четвертая глава посвящена изучению соединений, в которых взаимосвязь магнитной и электронной подсистем, в противоположность боратам, выражена очень сильно. Механизмы формирования этой взаимосязи рассмотрены на примере двух классов материалов – халькогенидных шпинелей хрома n-HgCr2Se4 и купрата лантана La2CuO4.
Магнитные полупроводники с общей формулой АCr2Х4 ( А = Cd, Hg, Zn, Cu ...; X = S, Se, Te) имеют пространственную структуру шпинели. Для тройных полупроводников со структурой шпинели характерна ситуация, когда зона проводимости коллективизированных s- электронов и локализованные d-состояния близки по энергиям (рис. 1). Этот результат получается, как в многоэлектронной модели [3], так и в одноэлектронном зонном расчете [4]. В случае вырождения результирующее электронное состояние будет суперпозицией этих состояний. Понятие валентности теряет при этом свой первоначальный смысл, и становятся возможными состояния с нецелочисленной или промежуточной валентностью. В случае селенодефицитного n-HgCr2Se4 есть основание предполагать наличие разновалентных конфигураций ионов хрома, таких как Cr3+(d3) и Cr2+(d4). Основным состоянием иона Cr3+ является орбитально невырожденный терм 4A2. При переносе электрона – носителя тока по многоэлектронным 4А2–состояниям образуются ионы Cr2+. Для хрома энергии термов 3Т1(d4) и 5Е(d4) могут конкурировать между собой, что свидетельствует о возможном наличии в этом соединении двух типов донорных одночастичных возбуждений различной симметрии с энергиями 1 = Е(3Т1) – Е(4А2) и 2 = Е(5Е) – Е(4А2). Одновременное существование разновалентных конфигураций d-ионов при выполнении условий энергетической близости dn+1 и dn состояний может приводить к ряду уникальных физических свойств. Например, могут иметь место существенные отклонения от закона Блоха (Т3/2) в температурном поведении намагниченности М(Т). В рамках спин-волновой теории ферромагнетиков с промежуточной валентностью выражение для намагниченности имеет вид:
M(T) = M0 (1 – T – T3/2Z3/2(2BH/kT)), (7)
где В – магнетон Бора, k – постоянная Больцмана, Z3/2– дзета-функция Римана для спина S = 3/2. Появление линейного по температуре слагаемого в формуле (7) обусловлено линейной температурной зависимостью химпотенциала .. В нормальном металле концентрация зонных электронов не зависит от температуры, поэтому зависимость (Т) слабая
(Т) Т2/ << (8)
и происходит только из-за размытия фермиевской ступеньки. В системе с промежуточной валентностью только полная концентрация электронов не зависит от Т, а относительное число зонных и локализованных носителей заряда является функцией температуры. Температурная зависимость концентрации зонных электронов приводит к более сильной, чем в нормальном металле зависимости химпотенциала. В частности, появляется линейное слагаемое.
Температурные зависимости намагниченности n-HgCr2Se4 приведены на рис. 8(а). Математическая обработка экспериментальных данных показала, что в изменении намагниченности М с температурой отчетливо выделяются два различных вклада: блоховский М3/2 Т3/2 и линейный М1 Т. Насколько удовлетворительна аппроксимация экспериментальных данных выражением (7), наглядно видно из рис. 8(б), где температурная зависимость намагниченности представлена в приведенных координатах (М0 – М(Т))/М0Т и Т1/2Z3/2(Н, Т). В этих координатах зависимость (7) имеет вид прямой линии, тангенс угла наклона которой равен величине , а отрезок, отсекаемый на оси ординат, дает значение .
Рис. 8. Температурные зависимости намагниченности HgCr2Se4 в стандартных (слева) и приведенных (справа) координатах. Напряженность магнитного поля Н равна (1) – 20, (2) – 60, (3) 80 кЭ.

Все исследованные образцы ртутной шпинели демонстрировали монотонную температурную зависимость сопротивления R(T), причем при изменении температуры от комнатной до 4.2 К сопротивление уменьшалось приблизительно на два порядка. Холловская концентрация в наших образцах n 1018 см-3, подвижность при комнатной температуре 10÷20 см2/Вс.
Одним из ярких эффектов, наблюдаемых в магнитном полупроводнике HgCr2Se4, является значительное магнитосопротивление, достигающее максимальной величины в окрестности температуры Кюри.
Для вырожденных магнитных полупроводников характерна слабая зависимость концентрации носителей от температуры в широкой области температур. Следовательно, изменения в проводимости можно отнести на счет изменяющейся с температурой подвижности носителей заряда. Ни один известный механизм рассеяния носителей заряда не воспроизводит экспериментально наблюдаемую зависимость подвижности. Кроме того, увеличение подвижности на два порядка до величин, характерных для широкозонных полупро-водников, свидетельствует в пользу значительных изменений с температурой самой зонной структуры полупроводника.
В случае кристаллов n-типа узкая зона, образованная d-состояниями, является частично заполненной донорными электронами, и по ней возможен перенос носителей с малой подвижностью при Т > ТС. Понижение дна зоны проводимости вследствие раздвижки спиновых подзон при магнитном упорядочения приводит к сближению энергий d-уровня и зоны проводимости. В этом случае твердотельная конфигурация может быть записана в виде dn+sq- , и d-ионы приобретают дробную валентность. В результате плотность состояний на d-уровне уменьшается, а в его окрестности значительно возрастает, что приводит к соответствующему увеличению электронной подвижности. Благодаря сложной структуре дна зоны проводимости состояние электрона на уровне Ферми имеет вероятностный характер. С некоторой вероятностью u2 электрон может находиться в s-подобном, а с вероятностью v2=1–u2 в d-подобном состоянии. Величину u2 можно вычислить по формуле [3]:
u2 =
) , (9)где D = EC – – глубина залегания резонансного уровня относительно дна зоны проводимости ЕС; SZ – спин магнитного иона; K = ¼(5/2 + (0)SZ) – коэффициент, характеризующий температурную зависимость плотности состояний квазичастиц Cr3+ + e- Cr2+ (S = 2) и их эффективную гибридизацию с s-состояниями; (J) = sign (J).
Учет обменного взаимодействия s- и d-электронов приводит к температурной и магнитополевой зависимостям вероятностей распределения электронов по состояниям.
Если предположить, что электрон в s-подобном состоянии обладает определенным временем релаксации s >> d, ясно, что эффективное время релаксации будет возрастать с уменьшением температуры вместе с долей s-подобных состояний. Поскольку эффективная скорость релаксации является аддитивной величиной, выражение для эффективной подвижности электронов можно записать в виде:
1/ =
, (10)где s и d – подвижности электрона в s- и d-состояниях. Смысл коэффициентов u2 и v2 заключается в вероятностях, с которыми носитель участвует в рассеянии на соответствующем потенциале s- и d-состояний.
П
Рис. 9. Зависимость относительной подвижности от температуры Т (слева) и спина Sz магнитного иона (справа). Точки – эксперимент, сплошная линия – расчет при J = 0.8, V = 0.4 и D = 0.25 эВ.


ри низких температурах s-зона диффузных состояний под действием sd-обменного взаимодействия опускается ниже –уровня, поэтому доля носителей в s-состояниях велика: u2 1 и s. С повышением температуры действие обменного взаимодействия на s- зону слабеет, т.к. Sz 0, приводя к ее превышению над –уровнем. При этом носители переходят в бестоковые d-состояния, а их доля в s-состояниях u2 0. Следовательно, в парафазе при Т >> ТС d. Отсюда
. Аппроксимация экспериментальных данных выражениями (9) и (10) дает очень хорошее совпадение эксперимента и модельных представлений и позволяет оценить значения параметров J, V и D. Наилучшее совпадение экспериментальной и теоретической зависимостей было получено при J = 0.8 эВ, V = 0.4 эВ и D = 0.25 эВ, что отражено на рис. 9. Полученные значения параметров указывают на то, что зона проводимости в парамагнитной фазе уже является частично гибридизованной, что и обеспечивает вырождение электронного газа и достаточно высокую подвижность при Т = 300 К.. При анализе магнитополевых зависимостей намагниченности монокристалла n-HgCr2Se4 выяснилось, что при низких температурах в зависимости М(Н) наблюдается осциллирующий вклад (рис. 10). Этот эффект привлекает особое внимание, поскольку ранее он не наблюдался в других родственных магнитных полупроводниках. Амплитуды осцилляций невелики, однако они превышают погрешность измерений.
Р

ис. 10. Магнитополевая зависимость относительной намагниченности HgCr2Se4 при Т = 4.2 К.
Наличие осциллируещей компоненты в намагниченности может быть связано с проявлением эффекта де Гааза - ван Альфена (дГвА), основанном на квантовании электронных орбит в магнитном поле. Как правило, такое квантование приводит к периодическим по 1/Н осцилляциям термодинамических и кинетических характеристик вырожденных Ферми-систем. Если зависимости химического потенциала от температуры и магнитного поля отличаются от стандартных ферми-жидкостных, то возможны аномальные квантовые осцилляции. Осцилляции намагниченности, наблюдаемые нами в n-HgCr2Se4 слабопериодичны по 1/Н. Фурье-обработка намагниченности в интервале магнитных полей 8–20 кЭ дает размытый пик спектральной плотности сигнала, соответствующий примерному значению периода по 1/Н в 0.8 10-6 Э. Тогда экстремальное сечение поверхности Ферми S = 9.3 1013 см-2. При этом концентрация носителей n 4.3 1018 cм-3, что хорошо согласуется с данными холловских измерений.
Теория эффекта дГвА в ферромагнетиках с промежуточной валентностью построена в [5]. Согласно выводам этой работы, фаза осциллирующей части намагниченности зависит от магнитного поля как = a/H + b/H, (11)
где а и b – не зависящие от поля константы. В результате периодичность по 1/Н пропадает, хотя сама возможность осцилляций за счет пересечения уровня Ферми и уровней Ландау сохраняется.
П

оскольку поведение электросопротивления n-HgCr2Se4 обусловлено изменениями электронной структуры, которая изменяется вслед за намагниченностью, квантовые осцилляции должны также проявиться и в
Рис. 11. Внизу – магнитополевая зависимость полного сопротивления,
вверху – магнитополевая зависимость его осциллирующей части.
электропроводности образцов. В действительности, при температуре Т = 4.2 К в магнитополевой зависимости электросопротивления наблюдается слабопериодичный осциллирующий вклад R (рис. 11).
Осциллирующая часть сопротивления наложена на линейное по полю магнитосопротивление, поэтому зависимость R(H) можно представить в виде R(H) = R(H) – cH. (12)
Экспериментальные зависимости дают значение параметра с = R(60 кЭ) 10-4 кЭ-1. Сравнение графиков, приведенных на рис. 10 и 11 дает наложение экстремумов в осциллирующей части намагниченности и сопротивления. Таким образом, наряду с эффектом дГвА в магнитном полупроводнике HgCr2Se4 может наблюдаться также и эффект Шубникова–де Гааза, однако полевая зависимость обоих эффектов не описывается традиционными для ферми-жидкости функциями периодическими по 1/H.
Очень сильная взаимосвязь магнитной электронной подсистем имеет место и в другом классе соединений с сильно коррелированными электронами – ВТСП купратах. Соединение La2CuO4 является родоначальником этого класса материалов. В данной работе изучены особенности формирования взаимосвязи магнитных и электрических свойств специально недопированного монокристалла La2CuO4. В основном состоянии это соединение антиферромагнитно с ТN 300 К. Дла нашего образца ТN = 240 К, что указывает на нестехиометрию по кислороду и на наличие избыточных дырок. Такую же температуру Нееля имеет соединение La1,99Sr0.01CuO4.
Недопированный La2CuO4 является диэлектриком. Природа диэлектрического состояния в La2CuO4 определяется сильными электронными корреляциями. Зонная структура квазичастиц и спектральная плотность сильно зависят от температуры в антиферромагнитной фазе, природа этой зависимости обусловлена перераспределением спектрального веса между различными квазичастицами с изменением температуры. Эти зависимости не могут быть получены в традиционном одноэлектронном подходе и являются следствием специфики зонной структуры квазичастиц в сильно коррелированнных электронных системах.
На рис. 12 приведена температурная зависимость сопротивления La2CuO4. Сопротивление измерено в направлении тетрагональной оси перпендикулярно плоскости CuО. В окрестности точки Нееля наблюдается аномалия, соответствующая примерно двукратному увеличению сопротивления.
Рис. 12. Температурная зави-симость электросопротивления La2CuO4.
Расчеты зонной структуры La2CuO4 в рамках обобщенного метода сильной связи, явно включающего сильные электронные корреляции, показали, что электронная структура этого соединения достаточно сложна, и не может быть представлена простой схемой как на рис. 1 и 6 для хромовых шпинелей и боратов. Валентная зона La2CuO4 представляет собой набор большого числа узких зон. В [6] показано, что в антиферромагнитной фазе зона проводимости сужается, щель растет, но в данном соединении этот эффект слабый. Сильнее изменяется картина плотности состояний вблизи краев щели. При переходе в магнитоупорядоченное состояние пик в плотности состояний на дне пустой зоны проводимости сужается, и его интенсивность растет, а пик вблизи потолка валентной зоны ослабевает. Изменение структуры краев зон при магнитном упорядочении соответствует изменению спектральной плотности квазичастиц, участвующих в процессах переноса, и изменению их подвижности аналогично n-HgCr2Se4.
Увеличение сопротивления в два раза при переходе из парамагнитного в антиферромагнитное состояние позволяет оценить отношение эффективных подвижностей в антиферромагнитной и парамагнитной фазах: АФ / ПМ = ½. Тогда изменение вероятностей u2 и v2 при изменении магнитного состояния: u2АФ = 2u2ПМ – 1. Проведенные в [6] расчеты параметров электронного спектра La2CuO4 в рамках многоэлектронной модели дают значение u2ПМ = 0.85. Тогда u2АФ = 0.7, что означает уменьшение доли sp-подобных состояний примерно на 15%.
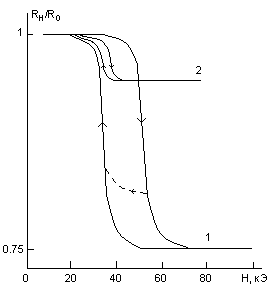
Влияние магнитного состояния La2CuO4 на транспортные свойства очень ярко проявляется при сравнении полевых зависимостей намагниченности и магнитосопротивления. Магнитополевые зависимости намагниченности, полученные в магнитном поле, направленном вдоль оси с кристалла, приведены на рис. 13. Кривые обладают ярко выраженным гистерезисом. Гистерезис также наблюдается и на магнитополевых зависимостях относительного сопротивления монокристалла La2CuO4 (рис. 13). Как и в случае намагниченности, ширина петли возрастает с понижением температуры. Отличие приводимых здесь результатов от полученных ранее заключается в том, что измерения полевых зависимостей сопротивления и намагниченности выполнены с одинаковой скоростью, что позволило сопоставить скачок в сопротивлении магнитному переориентационному переходу.
В узкозонных магнитных полупроводниках при переходе из однородной ферромагнитной фазы в антиферромагнитную имеет место спин-поляронное сужение зоны и уменьшение подвижности носителей, поскольку в неоднородной магнитной структуре перескок носителей без переворота спина затруднен. В данном случае с ростом магнитного поля имеем обратный процесс – при переходе в фазу с однородной компонентой намагниченности увеличивается подвижность носителей и уменьшается сопротивление. Этот механизм отрицательного магнитосопротивления проявляется как при зонном характере носителей в узких зонах, так и при прыжковом механизме в п

олупроводниках с глубокими примесными состояниями малого радиуса.

Рис. 13. Магнитополевые зависимости намагниченности М(Н) La2CuO4 при температурах 1 – 240 К, 2 – 160 К, 3 – 4.2 К (слева). Магнитополевые зависимости сопротивления La2CuO4 при температурах 1– 40, 2 – 115 К (справа).
В настоящее время рассмотренные особенности взаимосвязи электрических и магнитных свойств допированного дырками La2CuO4 хорошо известны [7]. Результаты, описываемые в данной работе, были получены в 1990 году, как только стали доступны качественные монокристаллы La2CuO4. В то время было опубликовано лишь несколько работ с описаниями свойств этого соединения.
Резюме к четвертой главе: в магнитном полупроводнике n-HgCr2Se4 и недопированном купрате La2CuO4 имеет место ярко выраженная взаимосвязь магнитных и электрических свойств. В обоих соединениях она формируется вследствие особенностей электронной структуры. В n-HgCr2Se4 в основе этой взаимосвязи лежит перемешивание коллективизированных и локализованных электронных состояний ввиду их энергетической близости и большого s-d обменного взаимодействия. В купратах La2CuO4 аномалия сопротивления в точке Нееля также связана с перестройкой электронной структуры при магнитном упорядочении.
В третьей и четвертой главах было рассмотрено взаимосвязанное поведение магнитного порядка и электронного транспорта на фоне изменений температуры и магнитного поля.
