Авторефераты по темам >>
Разные специальности - [часть 1] [часть 2]
Разработка и исследование технологии получения трощено-крученых нитей из оксида алюминия
Автореферат кандидатской диссертации
На правах рукописи
МЕДВЕДЕВ АЛЕКСАНДР ВИКТОРОВИЧ
РАЗРАБОТКА И ИССЛЕДОВАНИЕ ТЕХНОЛОГИИ ПОЛУЧЕНИЯ ТРОЩЕНО-КРУЧЕНЫХ НИТЕЙа ИЗ ОКСИДА АЛЮМИНИЯ
Специальность 05.19.02
Технология и первичная обработка текстильных материалов и сырья
АВТОРЕФЕРАТ
диссертации на соискание ученой степени
кандидата технических наук
Москва - 2012
Работа выполнена на кафедре прядения федерального государственного бюджетного образовательного учреждения высшего профессионального образования Московский государственный текстильный университет имени А.Н.Косыгина.
Научный руководитель:аа |
доктор технических наук, профессораа аРазумеев Константин Эдуардович |
||
Официальные оппоненты:аа аа а
аа |
доктор технических наук, профессор Заваруев Владимир Андреевич федеральное государственное бюджетное образовательное учреждение высшего профессионального образования Московский государственный текстильный университет имени А.Н. Косыгина профессор кафедры технологии трикотажного производства кандидат технических наук Кудрявцева Тамара Николаевна Открытое Акционерное Общество Центральный научно-исследовательский институт комплексной автоматизации легкой промышленности заведующая лабораторией прядения натуральных и химических волокон |
||
Ведущая организация:аа а |
Открытое Акционерное Общество Центральный научно-исследовательский текстильный институт |
||
Защита состоится л18 мая 2012 г. в 10 час. 00 мин. на заседании диссертационного совета Д 212.139.02 при аМосковском государственном текстильном университете имени А.Н.Косыгина по адресу: 119071, Москва, ул. Малая Калужская, д.1.
С диссертацией можно ознакомиться в библиотеке федерального государственного бюджетного образовательного учреждения высшего профессионального образования Московский государственный текстильный университет имени А.Н.Косыгина.
Автореферат разослан л18 аапреля 2012 г.
Ученый секретарь
диссертационного совета
доктор технических наук, профессора Ю.С. Шустова
аа
АННОТАЦИЯ
аа Диссертация является законченной научно-квалификационной работой, цель которой - разработка технологии получения трощено-крученых нитейа из комплексных нитей оксида алюминия. Совокупность свойств, которыми обладают комплексные нити из оксида алюминия, требует разработки теоретических и экспериментальных обоснованийаа процессов кручения и трощения, что определило направление данной работы и задачи исследований. В работе использованы методы общей физики, аналитической и коллоиднойа химии, технологии кручения нитей, планирования эксперимента, текстильного материаловеденияа и др.
В результате исследования разработан комплекс теоретических, методологическиха научно-обоснованных технологических и технических решений, направленных н получение трощено-крученых нитей из комплексных нитей оксида алюминия с заданными физико-механическими свойствами. Результатыа работы рекомендуются для проектирования экспериментального образца устройства и опытно-промышленной технологии получения трощено-крученых нитей из комплексных нитей оксида алюминия.
Работа выполнена по договорам № 09-226-14/4453 Разработка макета установки и технологии получения трощено-крученой комплексной нити с линейной плотностью 200 текс из первичных нитей оксида алюминия и № 10-255-14/5250-10-11 Отработка технологии изготовления трощено-крученой нити из тугоплавких непрерывных волокон с линейной плотностью не менее 100 текс и 300 текс с ФГУП ВИАМ.
АВТОР ЗАЩИЩАЕТ:
- апринципы и процессы технологии получения трощено-крученых нитей из комплексных нитей оксида алюминия;
- средства реализации технологии получения трощено-крученых нитей из комплексных нитей оксида алюминия;
- результаты экспериментальных исследований по отработке технологии получения трощено-крученых нитей из комплексных нитей оксида алюминия;
- технологические режимы средств реализации технологии получения трощено-крученых нитей из комплексных нитей оксида алюминия;
- методики проведения экспериментов по отработке технологии получения трощено-крученых нитей из комплексных нитей оксида алюминия.
ОБЩАЯ ХАРАКТЕРИСТИКА РАБОТЫ
Актуальность темы. Изделия технического назначения,а в которых используются трощено-крученые нити из комплексных нитей оксида алюминия, приобретают большое значение в связи с все возрастающими потребностями в теплоизоляционных и конструкционныха материалах способных работать апри атемпературах до 1700 С. аАктуальность работы обусловлена необходимостью решения задач, направленных на разработкуа технологии получения трощено-крученых нитей из комплексных нитей оксида алюминия и устройстваа дляа осуществления технологии.
Разрабатываемая технология обеспечит возможность создания изделий технического назначения для теплозащитных материалов в условиях отечественного производства, вне зависимости от импортных поставок. Создание таких материалов является перспективным адля применения в узлах уплотнений и теплоизоляции, работающиха в зоне повышенных рабочих температур в изделиях энергетической, машиностроительной, химической, нефтехимической отраслей промышленности и др.
Цель работы и задачи исследования. Целью работы является разработка технологии получения трощено-крученых нитейа иза комплексных нитей оксида алюминия, которые используются в изделиях технического назначения с температурой эксплуатации до 1700 С.
В соответствии с указанной целью поставлены и решены следующие основные задачи:
- проведен анализ существующих технологических схем полученияа трощено-крученых химических нитей и показана не возможность их применения для получения трощено-крученых нитей из оксида алюминия;
- исследованы некоторые технологические свойства комплексных нитей из оксида алюминия;
- на основе исследованных технологических свойств нитей обоснованы теоретические, технологические и технические решения получения трощено-крученых нитей из комплексных нитей оксида алюминия;
- обоснованы основные технологические параметры и режимы устройства для получения трощено-крученых нитей из комплексных нитей оксида алюминия;
- разработан и изготовлен экспериментальный стенда для реализации поставленной задачи;
- исследована работа функциональных узлов стенда - крутильного механизма, устройства регулирования натяжения нити, замасливающего устройства, наматывающего механизма и механизма раскладки;
- проведены эксперименты по оптимизации основных элементов технологического процесса - натяжения нити при кручении, концентрации замасливающей эмульсии, нахождения зависимости междуа разрывной нагрузкой нитиа и величинами первой,а второй и третьей крутками;
- разработан технологический режим получения трощено-крученых нитей;
- исследованыа геометрические и механических свойства крученых и трощено-крученых нитей из комплексных нитей оксида алюминия;
- на основании требований к современному оборудованию для получения трощено-крученых нитей обоснованы направления разработки технических средств управления и контроля технологического процесса с целью создания на базе экспериментального стенда экспериментального образца устройства для получения трощено-крученых нитей из комплексных нитей оксида алюминия.
аа Методы и средства исследования. Поставленные задачи решались теоретическимиа и экспериментальными методами. Экспериментальные исследования проводились на кафедрах МГТУ им. А.Н. Косыгина, лабораториях ФГУП ВИАМ и НЯУ МИФИ. Использовались современные измерительные средства, оптический, цифровой, атомно-силовой и растровый электронный микроскопы, разрывные машины. Применялись методы: проектирования машин и механизмов, испытания текстильных материалов, планирования эксперимента. Использовались положения теории кручения и наматывания нитей, механической технологии волокнистых материалов, текстильного материаловедения. Оценка достоверности полученных результатов осуществлялась методами теории вероятности и математической статистики. Обработка результатов исследования выполнялись на персональном компьютере ас использованием стандартных и оригинальных программ.
аа Научная новизна.а При выполнении работы автором впервые разработаны:
- радиальная подача нити ав зону кручения;
- технология получения трощено-крученых нитей из комплексных нитей оксида алюминия;
-а экспериментальный стенд для реализации процесса получения крученой и трощено-крученой нитей из комплексных нитей оксида алюминия;
- теоретическое и экспериментальное обоснование основных технологических параметров и режимов функциональных узлов и устройства полученияа трощено-крученой нитей из комплексных нитей оксида алюминия в целом;
- методики проведения экспериментов.
Практическая значимость работы заключается в следующем:
- работа выполнена в рамках Федеральной целевой программы Разработка, восстановление и организация производства стратегических, дефицитных и импортозамещающих материалов и малотоннажной химии для вооружения, военной и специальной техники ана 2009-2011 годы и на период до 2015 года;
- результаты работы соответствуют прогнозируемому научно-техническому уровню установленному ФЦП;
- полученная трощено-крученая нить из оксида алюминия конкурентоспособна по отношению к существующим, в том числе зарубежным аналогам;
- отработаны технологические режимы получения трощено-крученой нити из аоксида алюминия;
- изготовлена и передана Заказчику - ФГУП ВИАМ экспериментальная партия трощено-крученых нитей из аоксида алюминия 300 текс в количестве 500 м;
- полученные нити позволят разработать ассортимент изделий технического назначения с температурой эксплуатации до 1700 С;
- экспериментальный образец устройства для полученияа трощено-крученых нитей из оксида алюминия может служить прототипом экспериментального образца установки.
- результаты работы являются основой для создания опытно-промышленной технологии полученияа трощено-крученой нити линейной трощено-крученых нитей из комплексных нитей оксида алюминия.
Апробация работы. Основные результаты научных исследований докладывались, обсуждались и получили положительную оценку:
- на II научно-практической конференции Нанотехнологии в текстильной промышленности, г. Москва, МГТУ им. А.Н. Косыгина, 2011г.
- на Международной научно-технической конференции "Современные технологии и оборудование текстильной промышленности" (ТЕКСТИЛЬ-2011), г. Москва, ГОУВПО "МГТУ им. А.Н.Косыгина", 2011 г.;
- на XXIII Международнойа инновационно-ориентированной конференции молодых ученых и студентов г. Москва, ИМАШ РАН, 2011 г.
- на заседании кафедры прядения 21.03.2012 г.
Публикации. По теме диссертации опубликовано 8 работ, в том числе 3 в журналах, рекомендованных ВАК, 3 методических разработки, 3 тезиса научных конференций.
Объем и структура диссертации. Диссертацияа изложена на 243 страницах, состоит из введения, пяти глав с выводами, общих выводов, списка использованной литературы (64 наименования) и 6 приложений. Работа содержит 60 таблица и 97 рисунков.
СОДЕРЖАНИЕ РАБОТЫ
Во введении обоснована актуальность проблемы, её научная новизна и практическая значимость, цель и задачи исследования.
В первой главе изложены результаты обзора и анализа научно-технической литературы и патентно-технических источников, определено направление работы и обоснованы задачи исследования.
аПроведен анализ имеющихся технологийа и оборудования для получения крученых и трощено-крученых нитей. Проведена анализ величины натяжения нитей при кручении на оборудовании, работающим по известным технологическим схемам процесса кручения. аа
Показано что, использование этажных, кольцевых и центрифугальных крутильных машин для получения крученых нитей из комплексных нитей оксида алюминия не представляется возможным.
Патентно-технические исследования подтвердили актуальность научных исследований в данной области.
Трощено-крученые нити аи изделия технического назначения из оксида алюминия являются перспективным сегментом промышленности и рынка.
В открытом доступе отсутствует описание технологии получения трощено-крученыха нитей из тугоплавких волокон.
Свойства комплексных нитей оксида алюминия - низкая прочность на растяжение и небольшое относительное удлинение требуют создания ановых технологий и машин для получения трощено-крученых нитей из комплексных нитей оксида алюминия.
а Во второй главе проведены исследования некоторых технологических свойств комплексных нитей из аоксида алюминия и проведены исследования микроструктуры элементарных нитей и шероховатости поверхности. а
Анализ микроструктуры волокна показал наличие рубашки, толщиной порядка 0,5 мкм иа сердцевины с выраженной мозаичной структурой.
а)а б)
Рис. 1 Изображение участка волокна оксида алюминия
а) увеличение 10000 крат, б) увеличение 20000 крат
Параметры шероховатости поверхности элементарной нити составляют: Rz от 5,40 нм до 15,23 нм,а Rq от 5,10 до 13,29 нм.


Рисунок 2а Рисунок 3
На рис. 2 дано 3D-изображение участка элементарной нити оксида алюминия, полученное на атомном силовом микроскопе.
На рис.3 представлена гистограмма распределения по диаметру элементарных нитей в комплексной нити.
Из всех физико-механических свойств нитей для экспериментального определения были исследованы следующие: адиаметр элементарных нитей, поперечник и извитость нити комплексной нити, линейная плотность и неровнота по линейной плотности, полуцикловые и одноцикловые характеристики определяемые при однократном растяжении до разрыва. Средние значения некоторых исследованных характеристик представлены в табл. 1.
Таблица 1
Технологические свойства |
Диаметр элементарной нити, мкм |
Поперечник комплексной нити, мм |
Удельная разрывная нагрузка, сН/текс |
инейная плотность, текс |
Величина характеристики |
7,5 |
0,245 |
3,35 |
11,8 |
Кофф. вариации СV, % |
19,3 |
23,03 |
36,23 |
23,42 |
Определена зависимость прочности при растяжении от диаметра элементарных нитей. Исследованы параметры извитости комплексной нити, даны технологические рекомендации о снижении влияния извитости нити при кручении на разрывную нагрузку крученых нитей путем перемотки и выдерживания на паковке в течение 24 часов.
В третьей главе на основе исследованных технологических свойств первичных нитей обоснованы основные технологические параметры, технологические требования иа режимы работы устройства для получения крученых и трощено-крученых нитей.
Разработана технологическая схема кручения с радиальной подачей нити ав зону кручения. Экспериментально обоснована величина крутки и натяжения анитей при кручении.
Проведено экспериментальное исследование технологических параметров и режимов работы устройства иа экспериментально обоснованы технологические требования к конструкции функциональных узлов и экспериментального стенда в целом.
Зависимость разрывной нагрузки от величины крутки представлена рис. 4. Зависимость разрывной нагрузки от натяжения нити при кручении представлена на рис. 5

Рисунока 4
Рисунок 5
В четвертой главе изложены результаты исследований по разработке экспериментальной установки для получения трощено-крученых нитей,а устройство и принцип её работы, отработка технологии и оптимизация технологического процесса получения трощено-крученых нитей, исследование свойств трощено-крученых нитей.
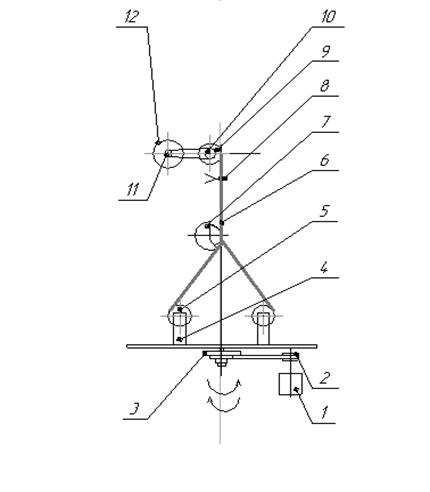
Схема экспериментальной установки представлена на рис. 6
1- привод крутильного механизма; 2- шкив привода;а 3- ступенчатый шкив крутильной платформы; 4 - крутильная платформа с держателями входных паковок, 5- входная паковка, 6- нить, 7- замасливающее устройство; 8- нитераскладчик; 9-выходная паковка; 10- бобинодержатель выходной паковки; 11 шкива привода; 12- привод механизма намотки.
Рисунока 6а
Техническая характеристика экспериментального стенда представлена
в табл. 2
Таблица 2
Частота вращения крутильнойа платформыаа |
мин-1 |
40Е200 |
Скорость наматывания выпускной паковки |
м/мин |
1,5..20 |
Число паковок на крутильной платформе |
шт. |
1Е.6 |
Направление крутки нити |
|
S и Z |
Мощность двигателя платформы |
Квт |
0,2 |
Мощность двигателя узла наматывания |
Квт |
0,1 |
Габариты: |
|
250 |
Ширина |
мм |
600 |
Высота |
мм |
900 |
а Проведена оптимизация технологического процесса получения трощено- крученых нитей. Ва качестве критерия оптимизацииа принята аразрывная нагрузка нити, определяемая при зажимной длине 500 мм согласно ГОСТ 6611.2. Оптимизация технологии проводилась по основным её составляющим: оптимизации концентрации замасливающей эмульсии, в нахождении зависимости междуа разрывной нагрузкой нитиа и величинами первой, второй и третьейа крутки.
В табл. 3 приведена оптимальная концентрация замасливающей эмульсии.
Таблица 3
Процентное содержание концентрата, % (масс) |
Крутка фактическая, кр/м |
Средняя удельная разрывная нагрузка, сН/текс |
Среднее абсолют-ное удлинение, мм |
Среднее относитель-ное удлинение, % |
8 |
40,84 |
16,80 |
2,702 |
1,0804 |
а
В таблице 4 приведены варьируемые факторы и их уровни.
Таблица 4
Факторы |
Уровни варьирования |
Интервал варьирования |
||||
-1,414 |
-1 |
0 |
+1 |
+1,414 |
||
Первичная крутка двух нитей линейной плотности 10 текс |
18,0 |
22,5 |
33,5 |
44,5 |
48,5 |
11,0 |
Вторичная крутка нити 20 текс в пять концов. |
18,0 |
22,5 |
33,5 |
44,5 |
48,5 |
11,0 |
Уравнение регрессии в кодированной форме имеет вид:
?R = 8,36 + 0,9х1 + 1,16 х2 + (-2,924) х12 + (-0,989) х22.
аа На основании поученных экспериментальных данных об оптимальныха величинах первой,а второй и третьей круток, натяжения при кручении, оптимальной концентрации эмульсии на экспериментальном стенде из комплексной нити оксида алюминия получена трощено-крученая нить. Трощение и кручение всех стренг от исходной в 10 текс до результирующей в 300 текс осуществлялось в той последовательности и с крутками, обеспечивающими максимальную разрывную нагрузку трощено-крученой нити.
На рис. 7 представлена фотография трощено-крученой нити из ааоксида алюминия линейной плотностью 300 текс. Фотоснимок выполнен цифровой камерой Leica DFS 320и микроскопа Leica MZ16. Увеличение 14 кратное.
На рис. 8 и рис. 9 представлены микрофотографии ткани и шнура из трощено-крученых нитей оксида алюминия. Фотоснимок выполнен цифровой камерой Leica DFS 320и микроскопа Leica MZ16. Увеличение 14 кратное. Ткань и шнур изготовлены доцентом кафедры материаловедения Московского государственного текстильного университета им. А.Н Косыгина аДемократовой Е.Б.

Рисунок 7

а Рисунок 8 Рисунок 9
Технологический режим выработки трощено-крученой нити приведены в табл. 5.
Проведены эксперименты поа получению комбинированной нити, путем упрочнения трощено-крученой нити сопутствующей нитью. Была изготовлена опытная партия комплексной нити, содержащая три нити по 100 текс упрочненные тремя капроновыми нитями линейной плотностью 29 текс, что обеспечивает получение результирующей нити номинальной линейной плотностью 388,2 текс. Результаты испытаний атрощено-крученой нити приведены в табл. 6. Результаты испытаний комбинированной нити приведены в табл. 7.
Полученные результаты показывают, что результирующая нить линейной плотности 388,2 текс имеет аразрывную нагрузку 55,35-74,21 Н,аа что соответствует требованиям заказчика.
В табл.а 8 приведеныа данные о величине удельной разрывной нагрузки комбинированных трощено-крученые нитях из комплексных нитей оксида алюминия.
Таблица 5
Показатели |
Параметры технологического процесса |
|||
Перематывание |
1-е кручение |
2-е кручение |
3-е кручение |
|
Скоростной режим, м/мин |
3,4 |
3,4 |
7,8 |
7,8 |
Расчетная /фактическая крутка, кр/м |
-- |
36,0/37,76 |
33,5/31,79 |
22,5/24,74 |
Расчетная/фактическая частота вращения платформы, мин-1 |
-- |
122,4/128 |
261,3/248 |
175/193 |
Направление крутки |
-- |
S |
Z |
S |
инейная плотность перерабатываемой нити, текс |
10 |
10 |
50 |
300 |
Число входных паковок, шт. |
1 |
1 |
5 |
6 |
Число выходных паковок, шт. |
1 |
1 |
1 |
1 |
|
||||||||||||||||||||||||||||||||||||||||||||||||||
|
||||||||||||||||||||||||||||||||||||||||||||||||||
а
Таблица 8
№ |
Наименование нити, производитель |
Упрочняющая нить, текс |
Разрывная нагрузка, Н |
инейная плотность, текс |
Удельная разрывная нагрузка, сН/текс |
1. |
Комбинированная швейная нить 3М Company, USA |
Вискозная, 11 Арамидная, 55а |
159,22 |
194,44 |
81,65 |
2. |
Крученая швейная нить 3М Company,USA |
Вискозная,11 |
100,00 |
555,5 |
18,02 |
3. |
Комбинированная МГТУ им. А.Н. Косыгина |
Полиамидная, 88,2 |
67,88 |
388,2 |
17,48 |
Из данных, представленных в таблицах 6, 7 и 8 видно, что для обеспечения повышения прочности трощено-крученых нитейаа выбранное верное направление, т.е. для обеспечения требуемого значения разрывной нагрузки необходимым условием являетсяа добавление сопутствующих нитей.
В пятой главе изложены результаты исследования и обоснование направленийаа разработки технических средств автоматизации, управления и контроля технологического процесса, с целью создания экспериментального образца установки.
аРазработаныа основные технологические параметрыа экспериментального образца установки. Техническая характеристика экспериментального образца приведена в табл. 9
Таблица 9
Частота вращения крутильнойа платформыаа |
мин-1 |
40Е4000 |
Скорость наматывания выпускной паковки |
м/мин |
до 100 |
Число паковок на крутильной платформе |
шт |
1Е.6 |
Направление крутки нити |
-- |
S и Z |
Регулирование натяжения нити |
сН |
а10Е100 |
Датчики обрыва нити |
-- |
по количеству стренг |
Сигнализация об обрыве нити |
-- |
звуковая |
Контроль электризации нити |
-- |
постоянно |
Контроль качества паковки |
-- |
постоянно |
а
ВЫВОДЫ ПО РАБОТЕ
- Комплекс теоретических, экспериментальных, технологическиха и конструкторских исследований обеспечил разработку технологии иа средств ее реализации для получения трощено-крученых нитей из оксида алюминия.
- Обоснованные принципы технологии получения трощено-крученых нитей определяются следующей последовательностью процессов: замасливание, первое,а второе и третье кручениеа нитей.
- Разработанная конструкция экспериментального стенд осуществляетаа радиальную подачу нити в зону кручения с выходной паковки, что обеспечивает низкое натяжение нитиа при кручении.а
- Теоретически и экспериментально обоснованный оптимальный состав замасливающей эмульсии - 8% -ная эмульсия на основе препарата АВИВ-Б.
- Теоретически обоснована шероховатость нитепроводящих деталей экспериментального стенда.
- Разработан экспериментальный стенд, обеспечивающий выполнение процессов получения крученойа и трощено-крученой нити из оксида алюминия. На стенде наработано 500 м трощено-крученой нити линейной плотностью 300 текс.
- Проведенные испытания комбинированной трощено-крученой нити, с сопутствующими упрочняющими нитями, для обеспечения требуемого значения разрывной нагрузкиа подтвердили предположение о том, что этот способ является основным для повышения разрывной нагрузки.
- Характеристики механических свойств комбинированной трощено-крученой нити оксид алюминия соответствует Техническому заданию на выполнение научно-исследовательских работы Отработка технологии изготовления трощено-крученой нити с линейной плотностью не менее 100 текс и 300 текс, а технологические режимы проекту технологической инструкции Технология получения непрерывных тугоплавких трощено-крученых нитей линейной плотностью 300 текс.
- Комбинированные трощено-крученые нити из оксида алюминия с сопутствующими нитями из полиамида, суммарной линейной плотностью 388,2 текс имеют удельную разрывную нагрузку на 3% меньше, чема комбинированные нити из материала Nextel 312 с сопутствующими вискозными нитями.
- Трощено крученые нити, полученные на экспериментальном стенде, могут быть использованыаа в изделиях технического назначения, работающих при температуре до 1700оС.
- Результаты работы рекомендуется использовать при проектировании. экспериментального образца установки для получения трощено-крученых нитей из оксида алюминия по технологической схеме с радиальной подачей нити в зону кручения.
Основные результаты работы изложены в следующих убликациях:
Статьи в изданиях, рекомендованных ВАК Российской Федерации:
1. Медведев А.В., Капитанов А.Ф., Жариков Е.И. Ивахненко Ю.А., Зимичев А.М., Степанова Е.В., Оптимизация круток трощёно-крученых тугоплавкиха нитейа а// Химические волокна Ца 2011 - №6 - С. 49-51.а
2. Медведев А.В., Капитанов А.Ф., Курденкова А.В.,а Щукина Е.Л.,
Петраченкова А.А. О влияния концентрации замасливающей эмульсииа на разрывные характеристики кручёных нитей из тугоплавких волоконаа оксида алюминия. // Химические волокна Ца 2012 - № 1 - С.13-15а
3. Медведев А.В,а Разумеев К.Э. Трощено-крученые нити оксида алюминия для изделий технического назначения.// Швейная промышленность - 2012 - № 2а с 16-17.
Материалы научно - технических конференций:
4. Медведев А.В., Капитанов А.Ф., Жариков Е.И. Текстильная переработка
наноструктурированных оксидных волокон // II- я научно-практическая конференция Нанотехнологии в текстильной промышленности, г. Москва, МГТУ им. А.Н. Косыгина, 2011г.
5. Медведев А.В., Капитанов А.Ф., Курочкина Т.А., Зимичев А.М. Исследование влияния скорости растяжения на время до разрыва образцов нитей из тугоплавких волокон оксида алюминия.// Международная научно-техническая конференция "Современные технологии и оборудование текстильной промышленности" (ТЕКСТИЛЬ-2011), г. Москва, ГОУВПО "МГТУ им. А.Н.Косыгина", 2011 г.;
6. Медведев А.В., Разумеев К.Э., Курочкина Т.А., Измайлова Н.А. Изучение прочностных свойств нитей из тугоплавких волокон.// XXIII Международнаяа инновационно-ориентированная конференция молодых ученых и студентов г. Москва, ИМАШ РАН, 2011 г.
Прочие публикации:
7. Медведев А.В., Разумеев К.Э., Курденкова А.В., Зимичев А.М. Исследование влияния скорости растяжения на время до разрыва образцова нитей аиз тугоплавких волокон оксида алюминия// Сборник научных трудов ОАО НПК ЦНИИШерсть. - Одинцово: АНОО ВПО ОГИ, 2011.
8. Медведев А.В., Разумеев К.Э Трощено-крученые нити из тугоплавких волокон - проблемы и решения // Вестник МГТУ 2012, С 3-7.
Авторефераты по темам >>
Разные специальности - [часть 1] [часть 2]
